Запчасти Case IH 1688 (2-08) - COOLANT RECOVERY SYSTEM (01) - ENGINE

Схема запчастей Case IH 1688 - (2-08) - COOLANT RECOVERY SYSTEM (01) - ENGINE
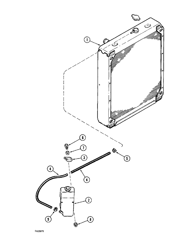
8
2
4
5
5
6
1
4
7
3
FIT
1:1
100%

Артикул

Название

Примечание

Количество

1

REF

INSTRUCTION

RADIATOR cooling system, see Figure 2-2 for correct assembly

1шт.

2

437703C2

TANK

RESERVOIR coolant recovery

1шт.

3

437702C1

CAP

reservoir tank

1шт.

4

1347455C1

LARGE HOSE,8.30 mm ID x 1175.00 mm, SAE J30

HOSE,LARGE

1шт.

5

214-1704

HOSE CLAMP,#04, 0.25" - 0.62", Type M Worm

Adjustable

2шт.

6

409-7416

BOLT,Hex Flg, 1/4" - 20 x 1", Spcl

3шт.

7

495-81109

WASHER,.281" x 1" x .048"

flat, 9/32 x 1 x 3/64 inch

3шт.

8

231-5144

SERRATED NUT,Flg, USR, 1/4"-20

3шт.

Выбрано товаров: 8