Запчасти Case IH 1688 (2-32) - OIL PUMP AND OIL PAN, 6TA-830 ENGINE, OIL PAN HEATER KIT (01) - ENGINE

Схема запчастей Case IH 1688 - (2-32) - OIL PUMP AND OIL PAN, 6TA-830 ENGINE, OIL PAN HEATER KIT (01) - ENGINE
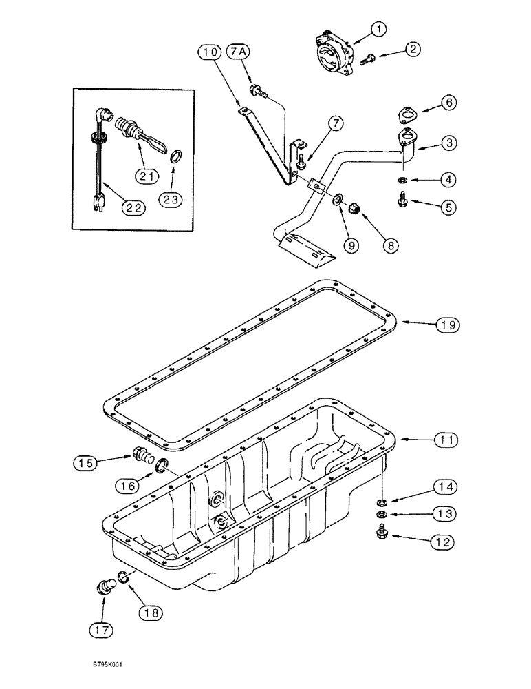
10
16
22
9
12
18
11
13
17
6
19
5
14
1
21
3
4
7
8
15
23
2
7a
FIT
1:1
100%

Артикул

Название

Примечание

Количество

JR926201

REMAN-ENG OIL PUMP

REMAN-ENGINE OIL PUMP ASSEMBLY remanufactured, North America only, 24 teeth drive gear, replaces JR921067 and JR924644, oil pump and pan

1шт.

JC926201

CORE-ENGINE OIL PUMP

CORE-ENGINE OIL PUMP RETURN NUMBER use this part number to return pump core for credit when using a remanufactured assembly, replaces JC921067 and JC924644, oil pump and pan

1шт.

1

J926201

PUMP, ENGINE OIL

ASSEMBLY 24 teeth drive gear, replaces J921067 and J924644, oil pump and pan

1шт.

2

614-8030

BOLT,Hex, M8 x 1.25 x 30mm, Cl 8.8, Full Thd

Full Thd, Oil pump and pan

4шт.

3

J921719

TUBE

with screen, oil suction, oil pump and pan

1шт.

4

J908738

SPACER

mounting, oil pump and pan

2шт.

5

845-6030

BOLT,Hvy Hex, M6 x 30mm, Cl 8.8

Heavy, Oil pump and pan

2шт.

6

J914302

GASKET

mounting, oil suction tube, oil pump and pan

1шт.

Part of KIT, part number A77679

1шт.

7

845-6015

BOLT,Hvy Hex, M6 x 15mm, Cl 8.8

Heavy hex flange, Oil pump and pan

2шт.

7a

845-6020

BOLT,Hvy Hex, M6 x 20mm, Cl 8.8

Oil pump and pan

1шт.

8

J906216

FLANGE NUT

hex flange, special, 6 mm - 1.0, oil pump and pan

1шт.

9

J910960

WASHER

flat, special, oil pump and pan

1шт.

10

J913427

BRACE

suction tube, oil pump and pan

1шт.

11

J914015

ENGINE OIL PAN

oil, engine, pump and pan

1шт.

12

J907860

FLANGE BOLT,Hex, M8 x 25mm, Spcl

Oil pan to block, and pump

32шт.

13

J910266

LOCK WASHER

spring, Belleville, oil pump and pan

32шт.

14

J908316

WASHER

flat, special, 9 x 16 x 1 mm, oil pump and pan

32шт.

15

J924148

PLUG,M22 x 1.5

hex magnetic, special, 22 mm - 1.5, heater hole, replaces J904386, oil pump and pan

1шт.

16

J902425

SEALING WASHER,22.2mm ID x 26.9mm OD x 1.75mm Thk

sealing, plug, oil pump and pan

1шт.

Part of KIT, part number A77679

1шт.

17

J924147

PLUG,M18 x 1.5

hex magnetic, special, 18 mm - 1.5, drain, replaces J911638, oil pump and pan

1шт.

18

J920773

SEALING WASHER

WASHER sealing, drain plug, oil pump and pan

1шт.

Part of KIT, part number A77679

1шт.

19

NSS

NOT SOLD SEPARAT

GASKET pan, oil, order A77679 gasket kit shown this Figure, oil pump and pan

1шт.

Part of KIT, part number A77679

1шт.

A77679

GASKET KIT

oil pan, Includes: Refs. 6, 16, 18 and 19

1шт.

A77580

SERVICE KIT

oil pan heater, engine oil, Includes: Ref. 21 and 22

1шт.

21

NSS

NOT SOLD SEPARAT

ELEMENT heater, 12 volt, oil pan kit

1шт.

22

J905113

CABLE

engine block heater, 6 feet long, oil pan kit

1шт.

23

J902425

SEALING WASHER,22.2mm ID x 26.9mm OD x 1.75mm Thk

sealing, plug, oil pan heater kit

1шт.

Выбрано товаров: 31