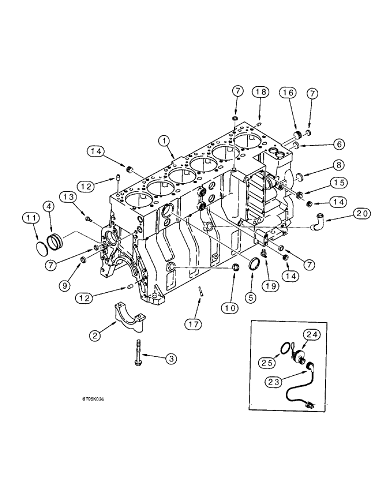
Запчасти Case IH 1688 (2-42) - CYLINDER BLOCK, 6TA-830 ENGINE, ENGINE BLOCK HEATER (01) - ENGINE

Схема запчастей Case IH 1688 - (2-42) - CYLINDER BLOCK, 6TA-830 ENGINE, ENGINE BLOCK HEATER (01) - ENGINE
10
7
15
1
14
12
14
4
25
7
18
3
7
24
2
8
6
23
19
5
7
12
14
9
11
17
13
16
20
FIT
1:1
100%

Артикул

Название

Примечание

Количество

1989175C1

ENGINE ASSEMBLY

ENGINE ASSY Complete, 6TA-830, includes all parts except starter, alternator, fan, fan belt, air cleaner, muffler and exhaust pipe, for service order basic engine this Figure, for service order 1989167C3

1шт.

1989174C2

ENGINE ASSEMBLY

ENGINE ASSY Complete, 6TA-830, Includes all parts except starter, alternator, fan, fan belt, air cleaner, muffler and exhaust pipe, for service order basic engine this Figure, for service order 1989167C3

1шт.

1989174C2R

REMAN-REPLACEMENT EN

1шт.

6TA-830C

CORE-REPLACEMENT ENG

Return Number, KNOWN POTENTIAL CORE VARIATIONS, REFER TO CORE CRITERIA FOR PROPER CORE IDENTIFICATION

1шт.

1989167C2R

ENGINE, EXCHANGE

ENGINE (EXCHANGE) ASSEMBLY remanufactured, component parts shown on this Figure do no apply to the remanufactured assembly, replaces 1989167C1R

1шт.

1989167C1C

CORE-ENGINE

RETURN NUMBER

1шт.

1989167C3

BASIC ENGINE

ASSEMBLY includes all parts except starter, alternator, fan, fan belt, air cleaner, muffler, exhaust manifold, flywheel & housing, oil fill & dipstick, fuel injection pump, injectors & lines, front pulley, belt tensioner, turbocharger & aftercooler

1шт.

Replaces 1989167C1 and 1989167C2

1шт.

JR925187

SKELETON ENGINE

BLOCK ASSEMBLY short, engine, remanufactured, North America only, component parts shown on this Figure do not apply to the remanufactured assembly, replaces JR921839, Includes: Ref. 2 - 8

1шт.

JC925187

CORE-SHORT ENGINE

RETURN NUMBER use this part number to return short block for credit when using a remanufactured assembly, replaces JC921843, Includes: Ref. 2 - 8

1шт.

J926151

SKELETON ENGINE

BLOCK ASSEMBLY short, new, includes stripped block, pistions, connecting rods and bearings, replaces J921839 and J925187, Includes: Ref. 2 - 8

1шт.

JR919934

BLOCK

ASSEMBLY stripped, remanufactured, North America only, component parts shown on this Figure do not apply to the remanufactured assembly, no longer available, order J926145, replaces J923289, Includes: Ref. 2 - 8

1шт.

JC919374

CORE-ENGINE

RETURN NUMBER use this part number to return stripped core for credit when using a remanufactured assembly, no longer used, Includes: Ref. 2 - 8

1шт.

1

J926145

CRANKCASE

BLOCK ASSEMBLY stripped engine, replaces J919934 and J923289, Includes: Ref. 2 - 8

1шт.

Order Refs. 9 - 20 on Figure 2-44, when ordering J926145 stripped block.

1шт.

2

J917313

BEARING CAP

bearing, main

7шт.

3

J916369

FLANGE BOLT,Hex, M14 x 2 x 128mm, Cl 10.9

Main bearing cap to block

14шт.

4

J901685

BUSHING

camshaft

7шт.

5

A77782

PLUG

expansion, 58 mm OD

1шт.

6

A77586

PLUG

expansion, 28.9 mm OD

1шт.

7

A77506

PLUG

expansion, 21 mm OD

4шт.

8

J905401

PLUG

expansion, 35 mm OD

4шт.

A77716

BLOCK

KIT block hardware, no longer available, order components separately, Includes: Ref. 9 - 20

1шт.

9

A77530

PLUG

expansion, 30 mm OD

2шт.

10

J920706

PLUG

expansion, 22 mm OD, not used in this application, replaces A77439

1шт.

11

41-3044

PLUG,Exp, 2 3/4"

Replaces J901969

1шт.

12

J901846

PIN,12.01mm OD x 24mm L

dowel

4шт.

13

J906619

PLUG,1/8" - 27

hex, 1/8 inch PT

6шт.

14

A77429

PLUG

hex socket, 1/2 inch PT

5шт.

15

A77505

PLUG

hex socket, 3/4 inch PT

2шт.

16

A77533

PLUG

hex socket, 1 inch PT

1шт.

17

J919003

NOZZLE INJECTION

piston cooling

12шт.

18

J900257

PIN,10.01mm OD x 16mm L

dowel, 16 mm long

2шт.

19

217-103

COCK, DRAIN

VALVE 1/4 inch PT

1шт.

20

J903744

PIPE FITTING,22.42 mm ID x 28 mm OD x 90.2, 64 mm L

TUBE turbocharger oil drain, see Figure 2-26 for connecting turbocharger parts

1шт.

A77716

BLOCK

KIT hardware, no longer available, order components separately, Includes: Ref. 23 - 25

1шт.

A77595

KIT

engine block heater

1шт.

23

J905113

CABLE

engine block heater, 6 feet long

1шт.

24

NSS

NOT SOLD SEPARAT

ELEMENT heater, 120 volt, engine block

1шт.

25

J910517

O-RING

heater sealing, engine block

1шт.

Выбрано товаров: 40