Запчасти Case IH 1688 (3-12) - FUEL TANK AND SUPPORTS (02) - FUEL SYSTEM

Схема запчастей Case IH 1688 - (3-12) - FUEL TANK AND SUPPORTS (02) - FUEL SYSTEM
14
14
11
12
17
14
9
7
3
16
10
16
14
2
13
4
15
17
13
1a
11
10
5
6
3
15
8
12
16
4
12
9
12
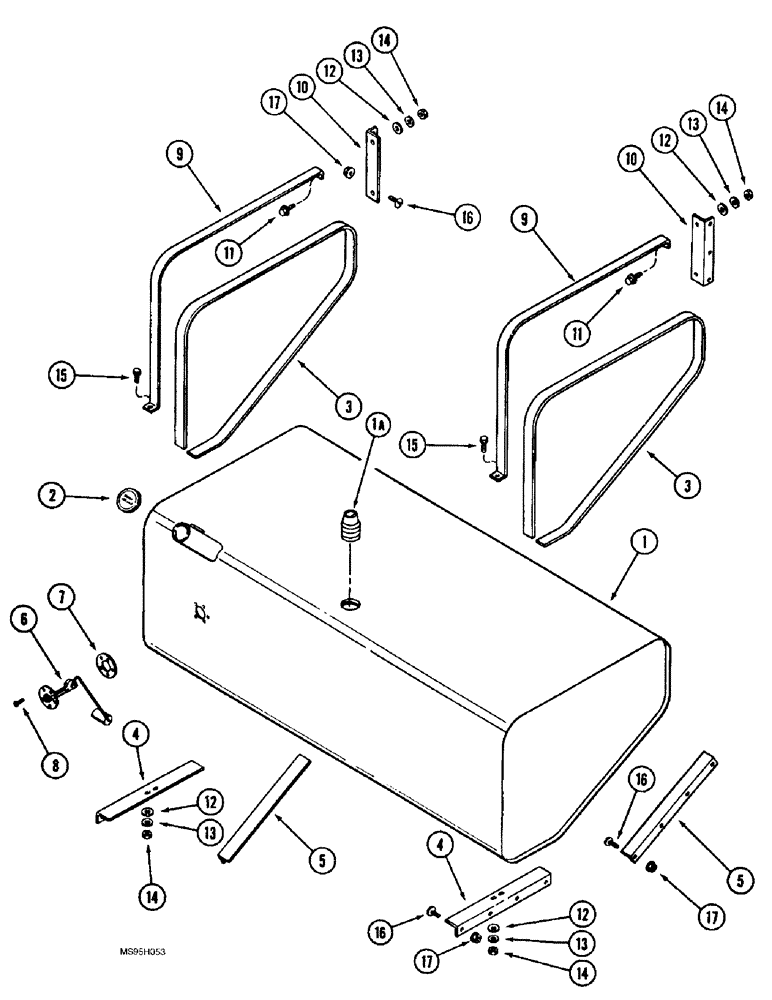
1
13
17
13
5
FIT
1:1
100%

Артикул

Название

Примечание

Количество

1

193551C95

FUEL TANK

ASSEMBLY 123.4 gallons, without hole and plug, replaced by 193223A2

1шт.

1

193223A2

FUEL TANK

ASSEMBLY 123.4 gallons, with hole and plug, replaces 193223A1 and 193551C95

1шт.

1a

217-87

PLUG,Hex Hd, 3/8"-18 NPTF, Brass

Used with 193223A2 tank only

1шт.

2

104781C1

CAP

fuel tank, non-vented

1шт.

3

1308798C1

STRIP

lining, 72 inch (1829 mm) long, cut for 990541R1 bulk, see this Figure

2шт.

4

192381C3

SUPPORT

lower support

2шт.

5

1302029C1

SUPPORT

front support

2шт.

6

198024C1

FUEL GAUGE

SENSOR fuel level

1шт.

7

168515C1

GASKET,3.05mm Thk

fuel tank sending unit

1шт.

8

1310675C1

CAPTIVE WASHER SCREW,Sl Truss Hd, #10 - 24 x 0.75"

5шт.

9

1302031C1

STRAP

SUPPORT fuel tank retainer

2шт.

10

1302030C1

ANGLE

front, fuel tank

2шт.

11

409-7512

BOLT,Hex Flg, 5/16" - 18 x 3/4", Spcl

2шт.

12

495-81112

WASHER,.344" x 3/4" x .120"

flat, 11/32 x 3/4 x 7/64 inch

4шт.

13

492-11031

LOCK WASHER,5/16"

4шт.

14

425-105

NUT,5/16"-18, G5

4шт.

15

409-7516

BOLT,Hex Flg, 5/16" - 18 x 1", Spcl

2шт.

16

135270

SERRATED SCREW,5/16" - 18 x 3/4"

slotted truss head, 5/16 NC x 3/4 inch

23шт.

17

231-5145

SERRATED NUT,Flg, USR, 5/16"-18

23шт.

990541R1

FIXING STRIP

bulk, lining, 1-1/4 (32) wide x 600 inch (15240 mm) long

1шт.

Выбрано товаров: 0