Запчасти Case IH 2144 (8-10) - OIL COOLER SYSTEM (07) - HYDRAULICS

Схема запчастей Case IH 2144 - (8-10) - OIL COOLER SYSTEM (07) - HYDRAULICS
12
10
34
36
30
34
26
11
19
35
20
28
22
1
23
21
13
37
17
32
9
26
14
33
3
8
25
4
19
15
5a
17
8
23
18
31
25
20
33
16
24
5b
27
2
5
9
16
29
FIT
1:1
100%

Артикул

Название

Примечание

Количество

1

REF

INSTRUCTION

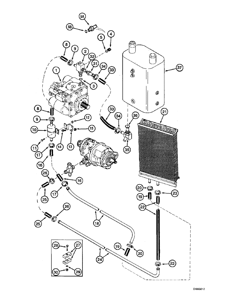
PUMP ASSEMBLY - hydrostatic, parts list Figures 6-16 through 6-20

1шт.

2

123521A2

TEE

- special, Includes: Ref. 3

1шт.

3

237-6012

O-RING,0.116" Thk x 0.924" ID, -912, Cl 6, 90 Duro

12-1, 90 Duro, .924 ID x .116" Thk

1шт.

4

76349

PLUG,9/16" - 18 ORB

Not used with Power Guide Axle, Incl. Ref. 5 Hex Hd, 9/16"-18 ORB

1шт.

5a

217-397

FITTING,1/2" Hose Barb x 9/16" - 18 Male ORB

Adapter - straight, 1/2 stem end x 9/16-18 inch Adj O-ring boss, Used with Power Guide Axle, Incl Ref 5B

1шт.

6

177678A1

TEMPERATURE SWITCH

- hydraulic oil temperature, not shown, see Figure 4-6, item 22, Includes: Ref. 7

1шт.

7

237-6008

O-RING,0.087" Thk x 0.644" ID, -908, Cl 6, 90 Duro

8-1, 90 Duro, .644" ID x .087" Thk, Not shown, See Figure 4-6, Item 22A

1шт.

8

NSS

NOT SOLD SEPARAT

HOSE - pump to filter, 24-1/4 inch (610 mm) long, cut from P/N 364361C1 bulk hose below

1шт.

9

214-1516

HOSE CLAMP,#16, 0.81" - 1.5", Type F Worm, W/ Liner

CLAMP, HOSE, , Adjustable #16, .81/1.50 Type F Worm, W/liner

2шт.

10

123488A1

FILTER SCREEN

SCREEN, FILTER - in-line

1шт.

11

409-7616

BOLT,Hex Flg, 3/8" - 16 x 1", Spcl

2шт.

12

231-5146

FLANGE NUT,3/8"-16

2шт.

13

238516A1

SUPPORT

- in-line filter (Replaces support 134173A1)

1шт.

14

409-7616

BOLT,Hex Flg, 3/8" - 16 x 1", Spcl

2шт.

15

231-5146

FLANGE NUT,3/8"-16

2шт.

16

NSS

NOT SOLD SEPARAT

HOSE - filter to tube, 23 inch (585 mm) long, cut from P/N 1541952C1 bulk hose below

1шт.

17

214-3228

HOSE CLAMP,1" - 1-7/8", HD Worm, W/ Liner

CLAMP, HOSE, , Adjustable 1.00/1.875 HD Worm, W/liner

2шт.

18

126851A1

TUBE,1832, 284 mm Length

- oil cooler supply

1шт.

19

NSS

NOT SOLD SEPARAT

HOSE - tube to cooler, 35 inch (890 mm) long, cut from P/N 364361C1 bulk hose below

1шт.

20

214-1516

HOSE CLAMP,#16, 0.81" - 1.5", Type F Worm, W/ Liner

CLAMP, HOSE, , Adjustable #16, .81/1.50 Type F Worm, W/liner

2шт.

21

135483A1

COOLER

- hydraulic oil, see Figure 8-12, Serial Range: -JJC0173150

1шт.

21a

195441A2

COOLER

- combination, fuel and oil, not shown, see Figure 8-13A for illustration, Start Serial: JJC0173150

1шт.

22

NSS

NOT SOLD SEPARAT

HOSE - cooler to tube, 35 inch (890 mm) long, cut from P/N 364361C1 bulk hose below

1шт.

23

214-1516

HOSE CLAMP,#16, 0.81" - 1.5", Type F Worm, W/ Liner

CLAMP, HOSE, , Adjustable #16, .81/1.50 Type F Worm, W/liner

2шт.

24

126850A1

TUBE,1832, 127 mm Length

- cooler return

1шт.

P/N 126850A1 is a tube appox. 72" with only one end bent. P/N 126851A1 is a tube also 72" long, but with bends at each end. CAM (db) 11-3-98

1шт.

25

NSS

NOT SOLD SEPARAT

HOSE - tube to tee at pump 30 inch (762 mm) long, cut from P/N 1541952C1 bulk hose below

1шт.

26

214-3228

HOSE CLAMP,1" - 1-7/8", HD Worm, W/ Liner

CLAMP, HOSE, , Adjustable 1.00/1.875 HD Worm, W/liner

2шт.

27

1347071C1

CLAMP

- 1 inch OD

2шт.

28

413-544

BOLT,Hex, 5/16" - 18 x 2-3/4", Gr 5

- hex, 5/16 NC x 2-3/4 inch

2шт.

29

495-21038

WASHER,5/16"

(flat, 3/8 x 7/8 x 3/32") 5/16"

2шт.

30

231-5145

SERRATED NUT,Flg, USR, 5/16"-18

NUT - hex serrated flange, 5/16 inch NC

2шт.

31

123487A1

VALVE

ASSEMBLY - bypass, 40 psi, Includes: Ref. 32

1шт.

32

237-6016

O-RING,0.116" Thk x 1.171" ID, -916, Cl 6, 90 Duro

16-1, 90 Duro, 1.171" ID x .118" Thk

1шт.

33

NSS

NOT SOLD SEPARAT

HOSE - bypass valve to tee, 26 inch (660 mm) long, cut from P/N 364361C1 bulk hose below

1шт.

34

214-3228

HOSE CLAMP,1" - 1-7/8", HD Worm, W/ Liner

CLAMP, HOSE, , Adjustable 1.00/1.875 HD Worm, W/liner

2шт.

35

182812A1

TEE

- special, Includes: Ref. 36

1шт.

36

237-6020

O-RING,0.118" Thk x 1.475" ID, -920, Cl 6, 90 Duro

20-1, 90 Duro, 1.475" ID x .118" Thk

1шт.

37

123413A3

TANK, HYDRAULIC OIL

RESERVOIR ASSEMBLY - hydraulic oil, and parts in Fig. 8-2

1шт.

364361C1

HOSE

- bulk, 1 (25) ID x 600 inch (15240 mm) long

1шт.

1541952C1

HOSE,25.4mm ID x 7620mm L

- bulk, 1 (25) ID x 300 inch (7620 mm) long

1шт.

5

237-6006

O-RING,0.078" Thk x 0.468" ID, -906, Cl 6, 90 Duro

6-1, 90 Duro, .468" ID x .078" Thk

1шт.

5b

237-6006

O-RING,0.078" Thk x 0.468" ID, -906, Cl 6, 90 Duro

6-1, 90 Duro, .468" ID x .078" Thk

1шт.

Выбрано товаров: 0