Запчасти Case IH 2144 (9G-02) - CAB, FRAME AND WINDSHIELD (10) - CAB & AIR CONDITIONING

Схема запчастей Case IH 2144 - (9G-02) - CAB, FRAME AND WINDSHIELD (10) - CAB & AIR CONDITIONING
26
22
26
34
3
26b
31
16
32
12
9
4
2
26
30
11
36
13
6
20
27
8
35
20
21
37
8
18
25
10
14
13a
14
36
7
33
24
29
15
10
26
5
32
23
28
26a
1
FIT
1:1
100%

Артикул

Название

Примечание

Количество

REF

INSTRUCTION

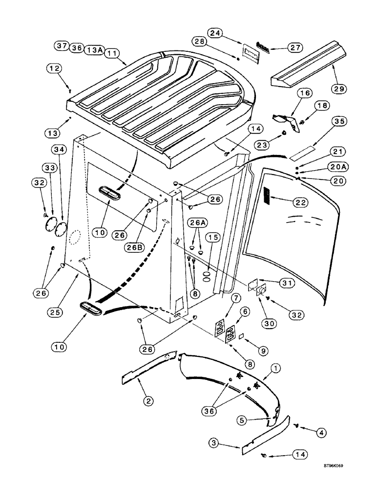
CAB ASSEMBLY - ROPS, machinery item, order from Machinery Price List, with heater and air conditioning

1шт.

1

120140A2

COVER

- cab, front

1шт.

2

139597A2

COVER

- Cab, LH

1шт.

3

139598A3

COVER

- Cab, RH

1шт.

4

260-16516

SELF-TAP SCREW,Cross Pan Hd, #10 x 1"

SCREW, SELF TAPPING, Cross Pan Hd, #10 x 1"

4шт.

5

60-6708T1

NUT

NUT - U-type, special

4шт.

6

123349A1

LARGE PLATE

PLATE - electrical access

1шт.

7

132227A1

GASKET,5mm Thk

- access plate

1шт.

8

191216A1

SELF-TAP SCREW,Hex Wash Hd, #10-24 x 5/8"

SCREW, SELF TAP, Hex Wash Hd, #10-24 x 5/8"

12шт.

9

122343A1

LARGE PLATE

PLATE - cover, field tracker bulkhead connector, used on models without field tracker

1шт.

10

137293A1

PLUG

- special, cab frame

4шт.

11

122819A2

ROOF

ASSEMBLY - cab, Includes: Ref. 12 and 13

1шт.

12

614-8040

BOLT,Hex, M8 x 1.25 x 40mm, Cl 8.8, Full Thd

4шт.

13

230484A1

NUT

- special, 8 mm -1.25

4шт.

13a

131-648

SPRING NUT,Tinn, U, #10-24

- U-type, No. 10 NC

16шт.

14

191216A1

SELF-TAP SCREW,Hex Wash Hd, #10-24 x 5/8"

SCREW, SELF TAP, Hex Wash Hd, #10-24 x 5/8"

9шт.

15

205-128

HOLE PLUG BUTTON,2 1/2"

PLUG - button, 2-1/2 inch ID, cab floor

4шт.

16

141758A3

COVER

- windshield wiper arm

1шт.

17

1987144C1

DECAL

- Axial-Flow, not shown

1шт.

18

413-416

BOLT,Hex, 1/4" - 20 x 1", Gr 5

- hex, 1/4 NC x 1 inch

3шт.

19

116809A3

WINDSHIELD

GLASS - windshield

1шт.

20

117707A2

CLAMP

- window

4шт.

20a

495-21038

WASHER,5/16"

(flat, 3/8 x 7/8 x 3/32") 5/16"

4шт.

21

825-5148

SERRATED NUT,M8, Flg Ser

4шт.

22

97268C1

SPACER

- bonded glass

6шт.

23

425-104

NUT,1/4"-20, Cl 5

- hex, 1/4 inch NC

3шт.

24

232846A2

COVER

- roof seam

1шт.

25

238941A1

CHASSIS

FRAME - cab, Serial Range: -JJC0173150

1шт.

25

241973A3

CHASSIS

FRAME - cab, Start Serial: JJC0173150

1шт.

26

353-402

PLUG,Dome, .375" hole, Nylon

Exterior trim Dome, .375" hole, Nylon

8шт.

26a

353-400

PLUG,Dome, .250" hole, Nylon

Cab exterior Dome, .250" hole, Nylon

4шт.

26b

353-411

PLUG,Dome, 1.000" hole, Nylon

Antenna hole Dome, 1.000" hole, Nylon

1шт.

27

238638A1

EMBLEM

- AFS, if used

1шт.

27

186882A1

EMBLEM CASE/IH

EMBLEM - Case IH, see Figure 9H-34 if used

1шт.

28

131-431

PUSH-ON NUT,Self, Threading, 1/4"

NUT - push-on type

2шт.

29

232801A1

DOOR SEAL

SEAL - door, 40 inch (1016 mm) long

2шт.

30

246752A1

PLATE

- Cover, RH, Start Serial: JJC0173150

1шт.

31

247058A1

GASKET,5mm Thk

- cover, Start Serial: JJC0173150

1шт.

32

260-16512

SELF-TAP SCREW,Cross Pan Hd, #10 x 3/4"

SCREW - self-tapping, pan Phillips, No. 10-16 x 3/4 ", Start Serial: JJC0173150

4шт.

33

246753A1

PLATE

Cover - LH, Start Serial: JJC0173150

1шт.

34

252676A1

GASKET,5mm Thk

- cover, (Replaces gasket 247056A1), Start Serial: JJC0173150

1шт.

35

249683A1

DECAL

- hole cover, 500 x 63.5 mm, use locally purchased duct tape

1шт.

36

825-5148

SERRATED NUT,M8, Flg Ser

6шт.

37

495-81001

WASHER,5/16"

- flat, 3/8 x 1-1/8 x 1/16 inch

2шт.

Выбрано товаров: 44