Запчасти Case IH 2144 (9G-24) - MECHANICAL SUSPENSION SEAT, SUSPENSION (10) - CAB & AIR CONDITIONING

Схема запчастей Case IH 2144 - (9G-24) - MECHANICAL SUSPENSION SEAT, SUSPENSION (10) - CAB & AIR CONDITIONING
21
33
4
26
41
32
16
29
19
10
20
21
9
28
27
17
2
14
23
38
20
34
13
8
36
31
12
18
5
14
3
32
20
39
11
35
19
1
25
30
17
15
7
32
40
11
6
20
34
24
FIT
1:1
100%

Артикул

Название

Примечание

Количество

180607A2

SEAT ASSY.

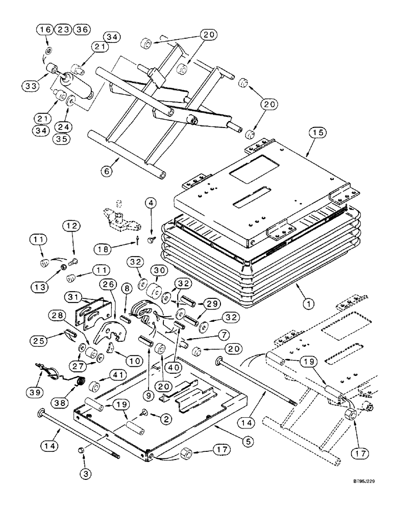
SEAT ASSEMBLY - mechanical suspension, Includes: Ref. 1 - 41, also includes items on Figure 9G-20, 9G-22, and 9G-26

1шт.

1981786C1

KIT

- boot, suspension, Includes: Ref. 1 - 4

1шт.

1

NSS

NOT SOLD SEPARAT

BOOT - suspension

1шт.

132872A1

KIT

- boot pin, package of 23 retainers and 3 dome nuts, Includes: Ref. 2 - 4

1шт.

2

NSS

NOT SOLD SEPARAT

FASTENER - christmas tree

20шт.

3

NSS

NOT SOLD SEPARAT

NUT - acorn

3шт.

4

NSS

NOT SOLD SEPARAT

CLIP - retaining

3шт.

180613A1

PACKAGE

KIT - suspension service, Includes Ref. 5 - 41, also includes items 1 - 18 on Fig. 9G-26

1шт.

5

1981787C1

CASE

HOUSING - lower

1шт.

6

1981789C1

DIPPER

ARM - suspension

1шт.

119001A1

ARMREST ASSY.

ARM ASSEMBLY - cam

1шт.

7

NSS

NOT SOLD SEPARAT

CAM - low profile

1шт.

8

38-31212

PIN,3/16" x 3/4", Coiled

1шт.

9

NSS

NOT SOLD SEPARAT

PIN - roll, 3/8 x 1-1/4 inch

1шт.

10

NSS

NOT SOLD SEPARAT

LATCH - cam follower

1шт.

180609A1

PACKAGE

KIT - bumper, Includes: Ref. 11 - 13

2шт.

11

NSS

NOT SOLD SEPARAT

BUMPER - seat, 5 VC

2шт.

12

440-11010

SCREW,Phillips Drive, Pan HD, #10 - 24 x 5/8"

- machine, pan Phillips, No. 10 NC x 5/8 inch

2шт.

13

231-14409

NUT,#10-24, GB

NUT - hex, self-locking, No. 10 NC

2шт.

14

A49529

SHAFT

- bushing tube

2шт.

15

1981821C1

HOUSING

- upper

1шт.

16

131-425

PUSH-ON NUT,Push, 1/2"

NUT, LOCK, Push, 1/2"

2шт.

17

231-4206

LOCK NUT,Hex, 3/8"-16, GB

NUT, LOCK, Hex, 3/8"-16, GB

2шт.

18

151-537

RIVET,Pop, 1/8" x .650"

- break mandrel, 1/8 x 5/8 inch

1шт.

1344249C1

KIT

KIT - roller tube and bearing, Includes: Ref. 19 - 24

1шт.

19

NSS

NOT SOLD SEPARAT

TUBE - bearing

4шт.

20

NSS

NOT SOLD SEPARAT

ROLLER - tube

6шт.

21

NSS

NOT SOLD SEPARAT

BEARING - suspension shock

2шт.

22

NSS

NOT SOLD SEPARAT

BEARING - suspension shock, not used, not shown

2шт.

23

131-425

PUSH-ON NUT,Push, 1/2"

NUT, LOCK, Push, 1/2"

1шт.

24

A45519

WASHER

- flat, plastic, special, 33/64 x 1-1/8 x 1/16 inch

1шт.

123967A1

PACKAGE

KIT - cam follower, Includes: Ref. 25 - 32

1шт.

25

NSS

NOT SOLD SEPARAT

PIN - cam follower

1шт.

26

NSS

NOT SOLD SEPARAT

CAM - follower

1шт.

27

NSS

NOT SOLD SEPARAT

RING - retaining

2шт.

28

NSS

NOT SOLD SEPARAT

ROLLER - cam follower

1шт.

29

NSS

NOT SOLD SEPARAT

PIN - cam follower

2шт.

30

NSS

NOT SOLD SEPARAT

ROLLER - cam follower

1шт.

31

NSS

NOT SOLD SEPARAT

SPACER - cam follower

2шт.

32

NSS

NOT SOLD SEPARAT

RING - retaining

4шт.

1344250C2

KIT

- shock absorber, Includes: Ref. 33 - 37

1шт.

33

NSS

NOT SOLD SEPARAT

ABSORBER - shock

1шт.

34

NSS

NOT SOLD SEPARAT

BEARING - suspension shock

2шт.

35

A45519

WASHER

- flat, plastic, special, 33/64 x 1-1/8 x 1/16 inch

1шт.

36

131-425

PUSH-ON NUT,Push, 1/2"

NUT, LOCK, Push, 1/2"

1шт.

37

NSS

NOT SOLD SEPARAT

BUSHING - shock, not used, not shown

1шт.

123966A1

PACKAGE

KIT - height adjustment, Includes: Ref. 38 - 41

1шт.

38

NSS

NOT SOLD SEPARAT

SPRING - height adjustment

1шт.

39

L18337

CABLE TIE,9.95"-12.1" lg

STRAP - tie, 15 inch, nylon

1шт.

40

38-31212

PIN,3/16" x 3/4", Coiled

1шт.

41

NSS

NOT SOLD SEPARAT

SPACER - spring

1шт.

Выбрано товаров: 51