Запчасти Case IH 2144 (9C-16) - CLEANING FAN SHIELDS (15) - BEATER & CLEANING FANS

Схема запчастей Case IH 2144 - (9C-16) - CLEANING FAN SHIELDS (15) - BEATER & CLEANING FANS
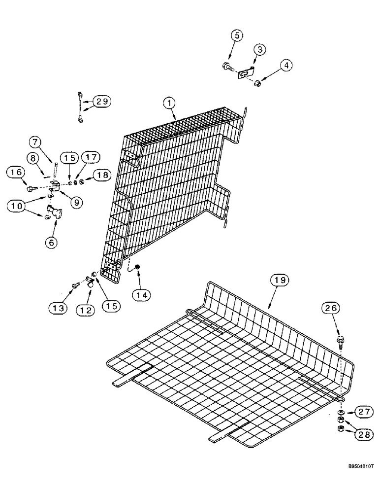
10
6
8
13
4
5
7
29
12
18
27
15
3
28
15
17
16
9
1
14
19
26
FIT
1:1
100%

Артикул

Название

Примечание

Количество

1

1989686C2

SHIELD

- fan inlet, left-hand, Serial Range: -JJC0173150

1шт.

1

239930A2

SHIELD

- fan inlet, left-hand, Start Serial: JJC0173150

1шт.

3

1541763C2

LARGE PLATE

HINGE - fan shield

2шт.

4

231-5145

SERRATED NUT,Flg, USR, 5/16"-18

NUT - hex serrated flange, 5/16 inch NC

2шт.

5

409-7512

BOLT,Hex Flg, 5/16" - 18 x 3/4", Spcl

- hex serrated flange, 5/16 NC x 3/4 inch

2шт.

6

494307C1

LATCH

HOOK - hold down, latch

2шт.

7

439-1424

HEADED PIN,6.35mm OD x 38.1mm L

PIN, HEADED, 1/4" x 1 1/2", G2

2шт.

8

432-812

COTTER PIN,3/4" OAL x 1/8" W

PIN, SPLIT (COTTER), 1/8" x 3/4"

2шт.

9

188103C1

BRACKET

- hood anchor

2шт.

10

1324377C1

SPRING WASHER

- spring lock, 5/16 inch

2шт.

12

L105124

LATCH HOOK

HOOK - latch

2шт.

13

470-11020

SCREW,Slotted Pan Hd, #10-24 x 1 1/4"

- machine, pan head slotted, No. 10 NC x 1-1/4 inch

4шт.

14

231-51409

SERRATED NUT,Flg, USR, #10-24

4шт.

15

1277909C1

SPACER

- shield

6шт.

16

409-7524

BOLT,Hex Flg, 5/16" - 18 x 1 1/2", Spcl

- hex serrated flange, 5/16 NC x 1-1/2 inch

2шт.

17

495-81121

WASHER,.344" x 1 1/2" x .060"

- flat, 11/32 x 1-1/2 x 1/16 inch

2шт.

18

231-5145

SERRATED NUT,Flg, USR, 5/16"-18

NUT - hex serrated flange, 5/16 inch NC

2шт.

19

1541758C2

GUARD

SHIELD - fan inlet, optional

1шт.

26

409-7624

BOLT,Hex Flg, 3/8" - 16 x 1 1/2", Spcl

2шт.

27

495-81138

WASHER,10.31mm ID x 25.4mm OD x 4.93mm Thk

- flat, 13/32 x 1 x 11/64 inch

2шт.

28

425-106

NUT,3/8"-16, Cl 5

4шт.

29

132657A1

CABLE

- tether, left hand fan shield

1шт.

Выбрано товаров: 22