Запчасти Case IH 2144 (9E-30) - UNLOADER, SWING CYLINDER SUPPORTS (17) - GRAIN TANK & UNLOADER

Схема запчастей Case IH 2144 - (9E-30) - UNLOADER, SWING CYLINDER SUPPORTS (17) - GRAIN TANK & UNLOADER
27
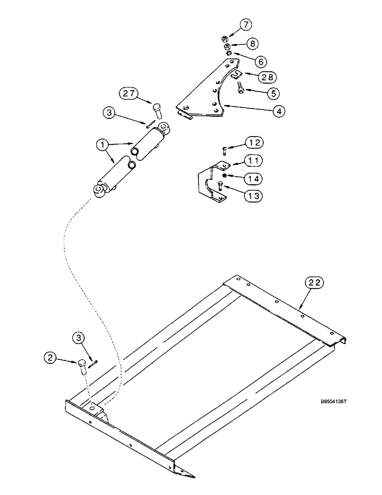
1
4
8
11
3
13
2
3
14
22
12
28
6
7
5
FIT
1:1
100%

Артикул

Название

Примечание

Количество

1

REF

INSTRUCTION

CYLINDER ASSEMBLY - unloader swing, parts list Figure 8-56

1шт.

2

427-10225

CLEVIS PIN,5/8" x 1 1/4"

PIN - clevis, 5/8 x 2-1/4 inch, hardened

1шт.

3

432-816

COTTER PIN,1/8" x 1"

1/8" x 1"

2шт.

4

1321541C1

SUPPORT

- cylinder

1шт.

5

426-732

BOLT,Hex, 7/16" - 14 x 2", Gr 8

- hex, 7/16 NC x 2 inch, grade 8

6шт.

6

492-11044

LOCK WASHER,7/16"

WASHER, LOCK, 7/16"

6шт.

7

429-107

NUT,7/16"-14, G8

6шт.

8

329-147

JAM NUT,Jam, 7/16"-14, G8

6шт.

11

1321509C2

SUPPORT

- upper rear

1шт.

12

477-73820

SERRATED SCREW,Truss HD, 3/8" - 16 x 1-1/4"

BOLT - serrated slotted truss head, 3/8 NC x 1-1/4 inch

1шт.

13

409-7616

BOLT,Hex Flg, 3/8" - 16 x 1", Spcl

2шт.

14

231-5146

FLANGE NUT,3/8"-16

3шт.

22

176208A1

SUPPORT

- unloader cylinder

1шт.

27

427-10225

CLEVIS PIN,5/8" x 1 1/4"

PIN - clevis, 5/8 x 2-1/4 inch, hardened

1шт.

28

151670C1

SHIM

SHIM - .036 inch

1шт.

Выбрано товаров: 15