Запчасти Case IH 2144 (2-27A) - TURBOCHARGER SYSTEM, 6TA-590 EMISSIONS CERTIFIED ENGINE, COMBINE S/N JJC0173150 AND AFTER (01) - ENGINE

Схема запчастей Case IH 2144 - (2-27A) - TURBOCHARGER SYSTEM, 6TA-590 EMISSIONS CERTIFIED ENGINE, COMBINE S/N JJC0173150 AND AFTER (01) - ENGINE
16
14
2
12
23
13
12
22
8
21
9
3
1
11
6
17
7a
15
18
20
7
23
4
10
24
5
19
FIT
1:1
100%

Артикул

Название

Примечание

Количество

1

REF

INSTRUCTION

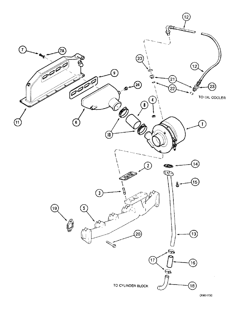
TURBOCHARGER ASSEMBLY - engine, parts list Figs. 2-29A and 2-29C

1шт.

2

J901356

GASKET,0.5mm Thk

-, Serial Range: turbocharger-manifold

1шт.

3

J818823

STUD

- turbocharger mounting, M10 x 40

4шт.

4

J818824

FLANGE NUT

- hex flange, special, 10 mm - 1.5

4шт.

5

J931747

MANIFOLD

- exhaust

1шт.

6

J928502

CONNECTOR, ELEC

CONNECTION - air crossover

1шт.

7

845-8070

BOLT,Hvy Hex, M8 x 70mm, Cl 8.8

- heavy hex flange, 8 - 1.25 x 70 mm

2шт.

7a

896-15008

WASHER,9mm ID x 21mm OD x 2.5mm Thk

- flat, 9 x 21 x 2.5 mm, hardened

2шт.

8

J916437

HOSE

Air Crossover

1шт.

9

J930426

GASKET

- air crossover connection

1шт.

10

214-1540

HOSE CLAMP,#40, 2.06" - 3", Type F Worm, W/ Liner

CLAMP - adjustable, 2-1/16 - 3 inch diameter

2шт.

11

J928503

AFTERCOOLER

- air intake

1шт.

12

J918562

HOSE

- oil supply, 21-3/16 inch (538 mm) long

1шт.

13

J918579

TUBE

- turbocharger oil drain, upper

1шт.

14

J928919

GASKET

- turbo oil drain tube

1шт.

15

845-8020

BOLT,Hvy Hex, M8 x 20mm, Cl 8.8

- heavy hex flange, 8-1.25 x 20 mm

2шт.

16

J903745

LARGE HOSE

HOSE - oil drain, 3 inch (76 mm) long

1шт.

17

214-1416

HOSE CLAMP,#16, 0.81" - 1.5", Type F Worm

CLAMP, HOSE, , Adj. #16, 0.81/1.50 Type F Worm

2шт.

18

J903744

PIPE FITTING,22.42 mm ID x 28 mm OD x 90.2, 64 mm L

TUBE - turbocharger oil drain

1шт.

19

J927154

GASKET,0.38mm Thk

- exhaust manifold

6шт.

20

854-10065

BOLT,Hvy Hex, M10 x 65mm, Cl 10.9

- heavy hex flange, 10 - 1.50 x 65 mm, class 10.9

12шт.

21

J919687

HYD CONNECTOR

ADAPTER ASSEMBLY - female hex, special

2шт.

22

238-5013

O-RING,0.07" Thk x 0.426" ID, -13, Cl 5, 75 Duro

-013, 70 Duro, .426" ID x .070" Thk

1шт.

23

222-993

GASKET,3/8 Tube, Fl, Copper

1шт.

24

J906619

PLUG,1/8" - 27

- hex, 1/8 inch PT

1шт.

Выбрано товаров: 25