Запчасти Case IH 2166 (5-38) - SELECTOR VALVE MOUNTING, POWER GUIDE AXLE (04) - STEERING

Схема запчастей Case IH 2166 - (5-38) - SELECTOR VALVE MOUNTING, POWER GUIDE AXLE (04) - STEERING
1
3
2
8
4
5
6
7
8
6
FIT
1:1
100%

Артикул

Название

Примечание

Количество

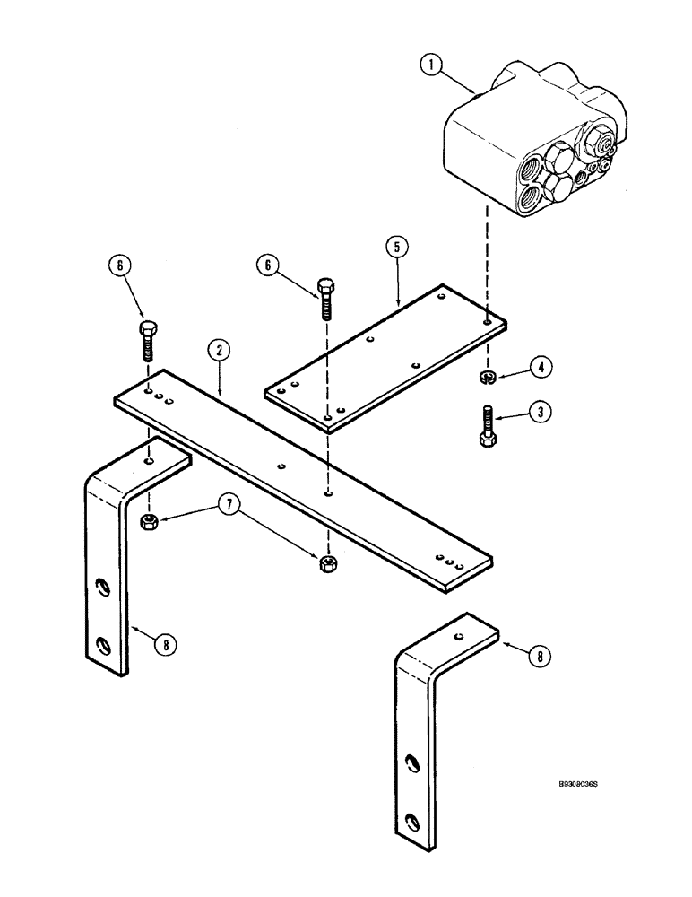
1

1978000C1

VALVE

ASSEMBLY - selector, parts list Figure 5-50

1шт.

2

1324455C2

PLATE

- mounting

1шт.

3

426-624

BOLT,Hex, 3/8" - 16 x 1-1/2", Gr 8

- hex, 3/8 NC x 1-1/2 inch, grade 8

2шт.

4

492-11038

LOCK WASHER,3/8"

2шт.

5

1324454C3

BAR

PLATE - mounting

1шт.

6

426-616

BOLT,Hex, 3/8" - 16 x 1", Gr 8

4шт.

7

232-4116

NUT,3/8"-16, GC

NUT, LOCK, 3/8"-16, GC

4шт.

8

1324471C1

BRACKET

SUPPORT - bracket

2шт.

Выбрано товаров: 8