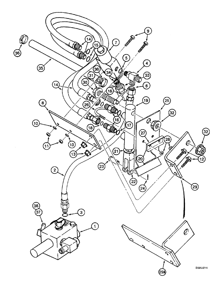
Запчасти Case IH 2166 (8-54) - UNLOADER CLUTCH SYSTEM (07) - HYDRAULICS

Схема запчастей Case IH 2166 - (8-54) - UNLOADER CLUTCH SYSTEM (07) - HYDRAULICS
26
15
12
36
32
4
9
30
25
8
14
36
1
26
11
10
33
32
3
5
24
22
27
17
14
10
16
20
18
37
31
36
23
6
34
21
13
19
29a
18
7
35
29
2
FIT
1:1
100%

Артикул

Название

Примечание

Количество

1

123314A3

VALVE

ASSEMBLY - pressure regulator, See Figure 8-42 for correct assembly, Includes: Ref. 1A & 1B

1шт.

1a

222894A1

VALVE POPPET

VALVE ASSEMBLY - pressure reducing, not shown (Replaces valve assembly 190708A1, Includes: Ref. 1B

1шт.

1b

190709A1

SEAL KIT

KIT - seal repair, valve cartridge, not shown

1шт.

2

128068A2

FLEXIBLE HOSE

HOSE ASSEMBLY - unloader clutch valve supply, 29-15/16 inch (760 mm) long, Includes: Ref. 3

1шт.

4

201-406

TEE,11/16"-16 x 9/16"-18 Run, ORFS

- 11/16-16 face seal branch x face seal x 9/16-18 inch Adj O-ring boss, Incl Ref 5 & 6

1шт.

6

238-6012

O-RING,0.07" Thk x 0.364" ID, -12, Cl 6, 90 Duro

2шт.

7

131152A1

CONTROL VALVE

VALVE ASSEMBLY - unloader clutch, parts list Figure 8-56

1шт.

8

139024A1

SUPPORT

BRACKET - mounting, unloader clutch valve

1шт.

9

413-432

BOLT,Hex, 1/4" - 20 x 2", Gr 5

2шт.

10

495-81113

WASHER,0.34" ID x 0.75" OD x 0.18" Thk

- flat, 11/32 x 3/4 x 3/16 inch

2шт.

11

231-5144

SERRATED NUT,Flg, USR, 1/4"-20

2шт.

12

409-7620

BOLT,Hex Flg, 3/8" - 16 x 1 1/4", Spcl

- hex serrated flange, 3/8 NC x 1-1/4 inch

2шт.

13

231-5146

FLANGE NUT,3/8"-16

2шт.

14

128068A2

FLEXIBLE HOSE

HOSE ASSEMBLY - at unloader clutch cylinder, 29-15/16 inch (760 mm) long, Includes: Ref. 15

2шт.

16

201-101

HYD CONNECTOR,11/16" - 16 Male ORFS x 9/16" - 18 Male ORB

Adapter - straight, Incl Ref. 17 & 18 11/16"-16 ORFS x 9/16"-18 ORB

2шт.

18

238-6012

O-RING,0.07" Thk x 0.364" ID, -12, Cl 6, 90 Duro

1шт.

19

112397A2

CYLINDER

ASSEMBLY - unloader clutch, 32 (1-1/4) ID x 2-3/4 inch (70 mm) stroke, Includes: Ref. 19A

1шт.

19a

188294A1

SEAL KIT

KIT - seal repair, not shown

1шт.

20

425-118

NUT,1/2"-20, G5

- hex, 1/2 inch NF

1шт.

21

189153A1

WASHER

- special, unloader spring retainer

1шт.

22

213-128

ADJUSTABLE CLEVIS,1/2"-20 x 3"

CLEVIS, ADJUSTABLE, 1/2"-20 x 3"

1шт.

23

427-8136

CLEVIS PIN,1/2" x 1.360"

PIN - clevis, 1/2 x 1-3/8 inch, hardened

1шт.

24

432-820

COTTER PIN,1/8" x 1 1/4"

PIN, SPLIT (COTTER), 1/8" x 1-1/4"

1шт.

25

175611A2

HOLDER

RETAINER - unloader clutch cylinder

1шт.

26

188528A1

U-BOLT,1/4" - 20 x 34.80mm W x 44mm L, Gr 5

- special, spring retainer

1шт.

27

176023A2

SUPPORT

BRACKET - retainer, U-bolt

1шт.

28

425-104

NUT,1/4"-20, Cl 5

- hex, 1/4 inch NC

2шт.

29

112947A1

SUPPORT

BRACKET - cylinder pivot, no longer available, order 193708A1 bracket

1шт.

29a

193708A1

SUPPORT

BRACKET - unloader valve and cylinder support

1шт.

30

413-1048

BOLT,Hex, 5/8" - 11 x 3", Gr 5

1шт.

31

495-11066

WASHER,5/8", SAE

- flat, 21/32 x 1-5/16 x 3/32 inch

1шт.

32

231-51410

FLANGE NUT,Flg, USR, 5/8"-11

2шт.

33

113896A1

TEE

- special, 3/8 x 3/8 inch beaded tube, valve return hose, Includes: Ref. 34

1шт.

35

NSS

NOT SOLD SEPARAT

HOSE - valve return to tee, 34-3/4 inch (880 mm) long, cut from S118400X bulk hose below

1шт.

36

214-1706

HOSE CLAMP,#06, 0.44" - 0.78", Type M Worm

CLAMP, HOSE, , Adjustable #6, 0.44/0.78 Type M Worm

2шт.

37

113896A1

TEE

- special, 3/8 x 3/8 inch beaded tube, at pressure regulator valve, Includes: Ref. 38

1шт.

S118400X

LARGE HOSE,9.53mm ID x 7620mm L, SAE 30R2

HOSE - bulk, 3/8 (10) x 5/8 (15) x 300 inch (7620 mm) long

1шт.

3

237-6006

O-RING,0.078" Thk x 0.468" ID, -906, Cl 6, 90 Duro

6-1, 90 Duro, .468" ID x .078" Thk

1шт.

5

237-6006

O-RING,0.078" Thk x 0.468" ID, -906, Cl 6, 90 Duro

6-1, 90 Duro, .468" ID x .078" Thk

1шт.

15

237-6006

O-RING,0.078" Thk x 0.468" ID, -906, Cl 6, 90 Duro

6-1, 90 Duro, .468" ID x .078" Thk

1шт.

17

237-6006

O-RING,0.078" Thk x 0.468" ID, -906, Cl 6, 90 Duro

6-1, 90 Duro, .468" ID x .078" Thk

1шт.

34

237-6006

O-RING,0.078" Thk x 0.468" ID, -906, Cl 6, 90 Duro

6-1, 90 Duro, .468" ID x .078" Thk

1шт.

38

237-6006

O-RING,0.078" Thk x 0.468" ID, -906, Cl 6, 90 Duro

6-1, 90 Duro, .468" ID x .078" Thk

1шт.

Выбрано товаров: 43