Запчасти Case IH 2166 (8-64) - FIELD TRACKER SYSTEM (07) - HYDRAULICS

Схема запчастей Case IH 2166 - (8-64) - FIELD TRACKER SYSTEM (07) - HYDRAULICS
3
17
2
11
15
6
8
12
7
19
16
14
9
5
10
4
18
13
1
10
9
8
FIT
1:1
100%

Артикул

Название

Примечание

Количество

1

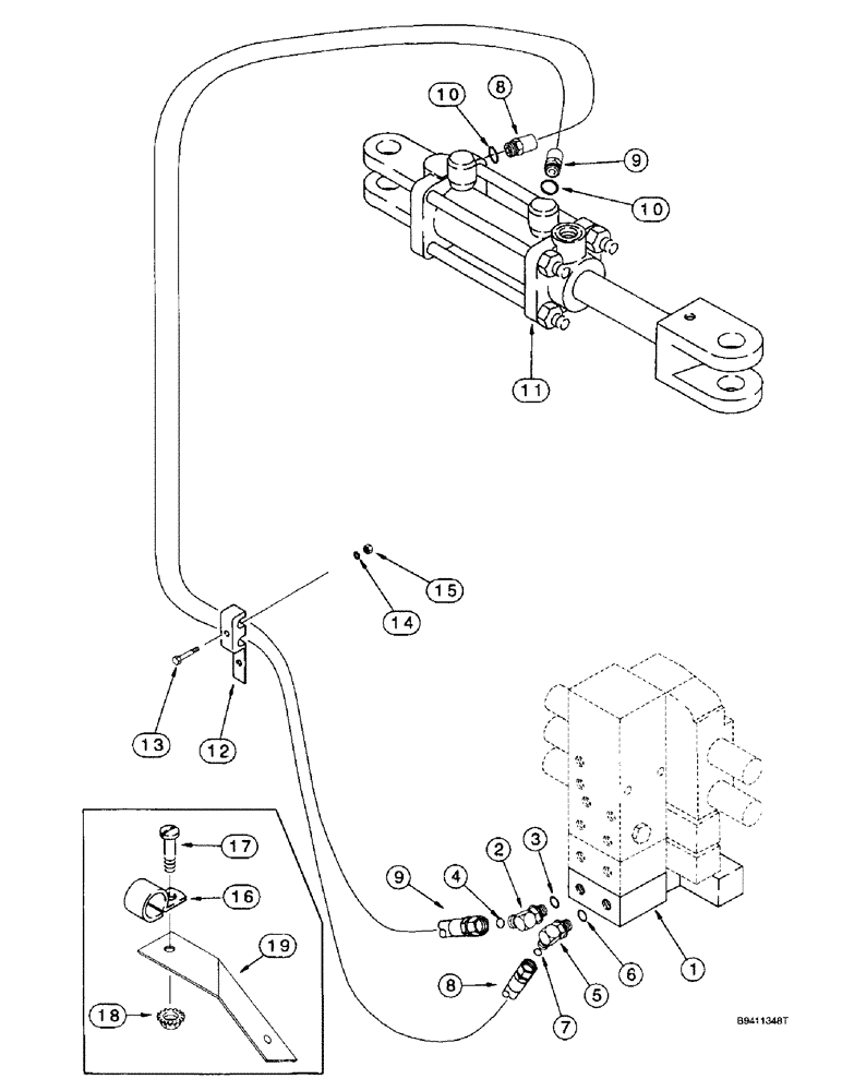
114854A1

CONTROL VALVE

VALVE ASSEMBLY - field tracker, parts list Figure 8-36

1шт.

2

201-332

ELBOW,90 Degree Elbow, 13/16" - 16 Male ORFS x 9/16" - 18 Male ORB

- 90º, 13/16-16 face seal x 9/16-18 inch Adj O-ring boss, Incl Ref 3 & 4

1шт.

4

238-6014

O-RING,0.07" Thk x 0.489" ID, -14, Cl 6, 90 Duro

1шт.

5

201-304

ELBOW,90 Degree Elbow, 11/16" - 16 Male ORFS x 9/16" - 18 Male ORB

- 90 degree, 11/16-16 face seal x 9/16-18 inch adjustable O-ring boss, Includes: Ref. 6 & 7

1шт.

7

238-6012

O-RING,0.07" Thk x 0.364" ID, -12, Cl 6, 90 Duro

1шт.

8

100268A1

FLEXIBLE HOSE,6.35mm ID x 3510mm L

HOSE - field tracker cylinder, clockwise rotation, 138-3/16 inch (3510 mm) long

1шт.

9

128032A1

FLEXIBLE HOSE,6.35mm ID x 3510mm L

HOSE - field tracker cylinder, counterclockwise rotation, 138-3/16 inch (3510 mm) long

1шт.

11

100267A1

CYLINDER

ASSEMBLY - field tracker tilt, 2-1/2 (64) ID x 3-1/2 inch (89 mm) stroke, parts list Figure 8-66

1шт.

87424022R

REMAN-HYD CYLINDER

2166 (1/95-12/97), Reman For New P/N: 100267A1

1шт.

87424022C

CORE-HYD CYLINDER

Return Number

1шт.

12

1330242C1

CLAMP

- cylinder hose

1шт.

13

413-532

BOLT,Hex, 5/16" - 18 x 2", Gr 5

1шт.

14

492-11031

LOCK WASHER,5/16"

WASHER, LOCK, 5/16"

1шт.

15

425-105

NUT,5/16"-18, G5

- hex, 5/16 inch NC

1шт.

16

515-23254

CLAMP,1", Insul, 3/8" Bolt

P-type 1", Insul, 3/8" Bolt

1шт.

18

231-5146

FLANGE NUT,3/8"-16

1шт.

19

189926A1

SUPPORT

BRACKET - hose support

1шт.

17

477-73816

SERRATED SCREW,Sl Truss Hd, 3/8" x 1"

BOLT - serrated slotted truss head, 3/8 NC x 1 inch

1шт.

3

237-6006

O-RING,0.078" Thk x 0.468" ID, -906, Cl 6, 90 Duro

6-1, 90 Duro, .468" ID x .078" Thk

1шт.

6

237-6006

O-RING,0.078" Thk x 0.468" ID, -906, Cl 6, 90 Duro

6-1, 90 Duro, .468" ID x .078" Thk

1шт.

10

237-6006

O-RING,0.078" Thk x 0.468" ID, -906, Cl 6, 90 Duro

6-1, 90 Duro, .468" ID x .078" Thk

2шт.

Выбрано товаров: 21