Запчасти Case IH 2166 (9G-20) - MECHANICAL AND AIR SUSPENSION SEAT, CUSHIONS AND KNOBS (10) - CAB & AIR CONDITIONING

Схема запчастей Case IH 2166 - (9G-20) - MECHANICAL AND AIR SUSPENSION SEAT, CUSHIONS AND KNOBS (10) - CAB & AIR CONDITIONING
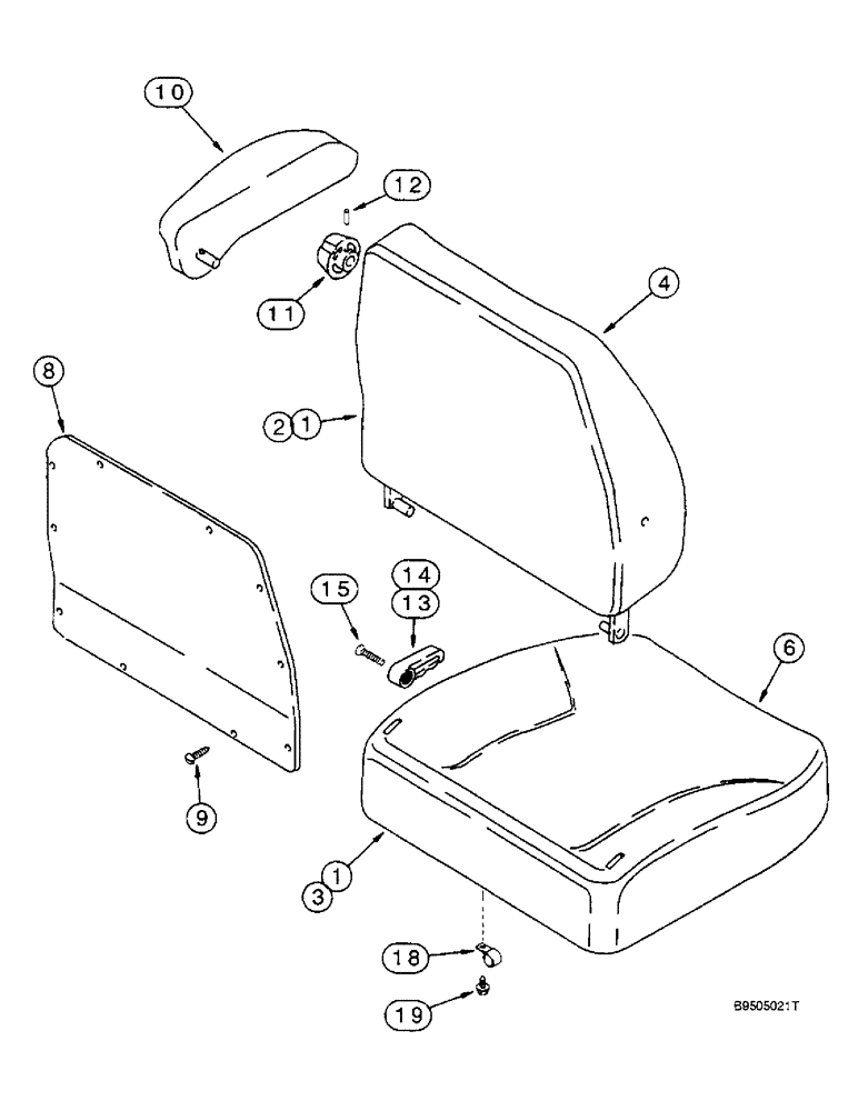
15
14
10
4
19
9
2
3
12
1
8
1
13
11
6
18
FIT
1:1
100%

Артикул

Название

Примечание

Количество

180607A2

SEAT ASSY.

SEAT ASSEMBLY - mechanical suspension, Includes: Ref. 1 - 19 and parts on Figures 9G-22 - 9G-26

1шт.

180577A2

SEAT ASSY.

SEAT ASSEMBLY - air suspension, Includes: Ref. 1 - 19 and parts on Figures 9G-28 - 9G-30

1шт.

1

134181A2

PACKAGE

KIT - seat top, without armrest (Replaces kit 180579A1), Includes: Ref. 4 & 5

1шт.

2

132886A1

BACKREST

KIT - backrest, cloth, complete with lumbar knob, without armrest, Includes: Ref. 4 & 5

1шт.

3

132888A2

PACKAGE

KIT - seat cushion (Replaces kit 180580A1), Includes: Ref. 4 & 5

1шт.

132884A1

BACKREST

KIT - backrest pad only, cloth, Includes: Ref. 4 & 5

1шт.

4

NSS

NOT SOLD SEPARAT

PAD - backrest

1шт.

5

NSS

NOT SOLD SEPARAT

RING - hog, not shown

25шт.

223395A1

PACKAGE

KIT - seat cushion pad (Replaces kit 180581A1), Includes: Ref. 6 & 7

1шт.

6

NSS

NOT SOLD SEPARAT

PAD - seat cushion

1шт.

7

NSS

NOT SOLD SEPARAT

RING - hog, not shown

25шт.

1974713C2

PACKAGE

KIT - backrest cover and retainers, Includes: Ref. 8 & 9

1шт.

8

NSS

NOT SOLD SEPARAT

COVER - backrest

1шт.

9

1999693C1

KIT

CLIP - christmas tree, package of 14

1шт.

10

1981818C1

ARMREST

KIT - armrest, left-hand, black, Includes: Ref. 11 - 17

1шт.

1999691C1

PACKAGE,SERVICE

KIT - seat knob, Includes: Ref. 11 - 17

1шт.

11

NSS

NOT SOLD SEPARAT

KNOB - lumbar

1шт.

12

38-31016

PIN,5/32" x 1", Coiled

2шт.

13

NSS

NOT SOLD SEPARAT

KNOB - backtilt

1шт.

14

NSS

NOT SOLD SEPARAT

KNOB - recliner

1шт.

15

NSS

NOT SOLD SEPARAT

SCREW - special

1шт.

16

NSS

NOT SOLD SEPARAT

KNOB - seat tilt, not used, not shown

1шт.

17

NSS

NOT SOLD SEPARAT

KNOB - fore/aft, not used, not shown

1шт.

18

NSS

NOT SOLD SEPARAT

CLAMP - cable

1шт.

19

281-14512

SELF-TAP SCREW,Hex Wash Hd, #10 x 3/4"

SCREW, SELF TAPPING, Hex Wash Hd, #10 x 3/4"

1шт.

176091A1

PACKAGE,SERVICE

KIT - retaining, hog ring, package of 50 rings for cushions

1шт.

Выбрано товаров: 26