Запчасти Case IH 2166 (9B-38) - SHOE SIEVE (14) - ROTOR, CONCANVES & SIEVE

Схема запчастей Case IH 2166 - (9B-38) - SHOE SIEVE (14) - ROTOR, CONCANVES & SIEVE
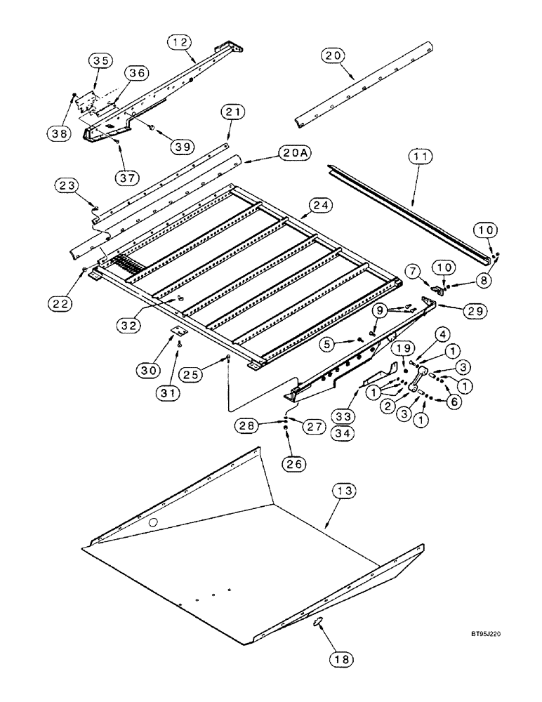
38
30
3
3
1
36
22
24
29
33
1
9
4
12
39
28
20a
31
8
18
7
1
25
26
10
35
6
19
21
34
5
27
37
20
1
10
13
11
32
2
23
FIT
1:1
100%

Артикул

Название

Примечание

Количество

1

169256C2

WASHER,16.28mm ID x 31.8mm OD x 3.05mm Thk

- flat, special, 41/64 x 1-1/2 x 1/8 inch

12шт.

2

1957450C1

ARM

HANGER ASSEMBLY - shoe, front, Includes: Ref. 3

2шт.

3

1330324C1

BUSHING

- front shoe hanger

2шт.

4

433-1064

CARRIAGE BOLT,Sq Nk, 5/8" - 11 x 4", Gr 5

BOLT - carriage, 5/8 NC x 4 inch

2шт.

5

326-1080

BOLT,Hex, 5/8" - 11 x 5", Gr 8

2шт.

6

232-41110

NUT,5/8"-11, GC

NUT, LOCK, 5/8"-11, GC

4шт.

7

182684C3

CLIP

- shoe, front support

2шт.

8

425-105

NUT,5/16"-18, G5

- hex, 5/16 inch NC

8шт.

9

477-73112

SERRATED SCREW,Sl Truss Hd, 5/16" - 18 x 3/4"

- serrated slotted truss head, 5/16 NC x 3/4"

28шт.

10

492-11031

LOCK WASHER,5/16"

WASHER, LOCK, 5/16"

8шт.

11

1319238C1

ANGLE

BRACKET - shoe sieve

1шт.

12

1979900C4

RAIL ASSY.

SUPPORT - shoe side, left-hand

1шт.

13

1979210C1

HOUSING

PAN - bottom

1шт.

14

434-612

CARRIAGE BOLT,Sht Sq Nk, 3/8" - 16 x 3/4", Gr 5

BOLT - carriage, 3/8 NC x 3/4 inch, not shown

2шт.

15

231-5146

FLANGE NUT,3/8"-16

Not shown Flg, USR, 3/8"-16

2шт.

16

477-73112

SERRATED SCREW,Sl Truss Hd, 5/16" - 18 x 3/4"

- serrated slotted truss head, 5/16 NC x 3/4", Not shown

2шт.

17

231-5145

SERRATED NUT,Flg, USR, 5/16"-18

NUT - hex serrated flange, 5/16 inch NC, Not shown

2шт.

18

205-126

HOLE PLUG BUTTON,1 3/4"

PLUG - button, 1-3/4 inch ID

2шт.

19

231-5145

SERRATED NUT,Flg, USR, 5/16"-18

NUT - hex serrated flange, 5/16 inch NC

20шт.

20

1325324C1

SEAL,56mm W x 1582mm L

- shoe sieve, 62-1/4 inch (1582 mm) long, used with Ref. 35 - 40

2шт.

20a

198925A1

SEAL,56mm W x 1790mm L

- shoe sieve, 70-1/2 inch (1790 mm) long

2шт.

21

1325325C1

RETAINER

BAR - shoe sieve seal

2шт.

22

231-5144

SERRATED NUT,Flg, USR, 1/4"-20

18шт.

23

477-82508

SERRATED SCREW,Sl Truss Hd, 1/4" - 20 x 1/2"

BOLT - serrated slotted truss head, 1/4 NC x 1/2 inch

18шт.

24

1325323C5

GRAIN SIEVE

SIEVE - shoe, 1-1/8 inch slat

1шт.

REF 24..PN 129935A1 is D, lipped....8/99

1шт.

Handle (like bicycle grip) shoe sieve adj is 106743a1

1шт.

24

1994961C4

GRAIN SIEVE

SIEVE - shoe, 1-5/8 inch slat

1шт.

24

1970358C2

GRAIN SIEVE

SIEVE - shoe, 18 mm round holes

1шт.

24

129935A1

GRAIN SIEVE

SIEVE - shoe, 13 mm round holes

1шт.

24

129936A1

GRAIN SIEVE

SIEVE - shoe, 10 mm round holes

1шт.

24

129937A1

GRAIN SIEVE

SIEVE - shoe, 5 mm round holes

1шт.

24

129938A1

GRAIN SIEVE

SIEVE - shoe, 2.5 mm round holes

1шт.

25

426-616

BOLT,Hex, 3/8" - 16 x 1", Gr 8

2шт.

26

429-106

NUT,3/8"-16, G8

- hex, 3/8 inch NC, grade 8

2шт.

27

495-81129

WASHER,13/32" x 3/4" x .120"

- flat, 13/32 x 3/4 x 7/64 inch

2шт.

28

492-11038

LOCK WASHER,3/8"

2шт.

29

1979901C4

RAIL ASSY.

SUPPORT - shoe side, right-hand

1шт.

30

186675C1

ADJUSTING PLATE

- shoe lever

1шт.

31

412-48

CARRIAGE BOLT,Short Sq Nk 1/4" - 20 x 1/2", Gr 2

BOLT - carriage, 1/4 NC x 1/2 inch, grade 2

2шт.

32

126177

WING NUT

NUT - wing, 1/4 inch NC

2шт.

33

1325320C1

SUPPORT ASSY.

SUPPORT - forward shoe, left-hand, not shown

1шт.

34

1325321C1

SUPPORT

- forward shoe, right-hand

1шт.

197493A1

PACKAGE

KIT - shoe extension, Includes: Ref. 35 - 40

1шт.

35

187187A1

PLATE

- shoe rail extension

2шт.

36

187204A1

BAR

- shoe sieve seal extension

2шт.

37

477-82512

SERRATED SCREW,Sl Truss Hd, 1/4" - 20 x 3/4"

BOLT - serrated slotted truss head, 1/4 NC x 3/4 inch

6шт.

38

231-5144

SERRATED NUT,Flg, USR, 1/4"-20

6шт.

39

199953C1

SELF-TAP SCREW,HWH, 5/16" - 18 x 13/16"

SCREW, SELF TAP, Hex Wash Hd, 5/16"-18 x 13/16"

4шт.

40

187207A1

SEAL

- shoe sieve, not shown

2шт.

106743A1

HANDLE

Sieve adjustment tool

1шт.

Выбрано товаров: 0