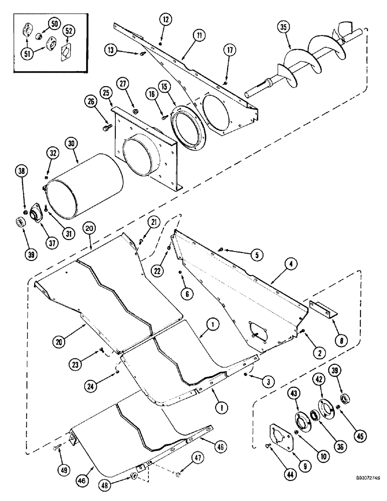
Запчасти Case IH 2166 (9D-04) - GRAIN AUGER TROUGH (16) - GRAIN ELEVATORS & AUGERS

Схема запчастей Case IH 2166 - (9D-04) - GRAIN AUGER TROUGH (16) - GRAIN ELEVATORS & AUGERS
27
5
24
1
16
1
8
39
15
39
36
21
46
6
2
49
45
51
25
47
22
11
50
26
17
4
23
35
37
32
13
43
46
12
20
44
42
20
30
3
48
31
9
52
10
38
FIT
1:1
100%

Артикул

Название

Примечание

Количество

1

1541821C1

TROUGH

- clean grain, perforated

1шт.

1

1541638C1

TROUGH

- clean grain, non-perforated

1шт.

2

413-512

BOLT,Hex, 5/16" - 18 x 3/4", Gr 5

- hex, 5/16 NC x 3/4 inch, used with trough 1541638C1

12шт.

2

256873

BOLT,Hex Serr, 5/16" - 18 x 1/2", 5SPL, Full Thd

Used with trough 1541821C1 Hex Flg, 5/16"-18 x 1/2", Serr

10шт.

3

231-5145

SERRATED NUT,Flg, USR, 5/16"-18

NUT - hex serrated flange, 5/16 inch NC, Used with trough 1541638C1

12шт.

3

231-5315

FLANGE NUT,Flg, 5/16"-18

NUT, LOCK, , Used with trough 1541821C1 Flg, 5/16"-18

10шт.

4

1541635C1

SUPPORT

- trough, left-hand

1шт.

5

409-7512

BOLT,Hex Flg, 5/16" - 18 x 3/4", Spcl

- hex serrated flange, 5/16 NC x 3/4 inch

7шт.

6

231-5145

SERRATED NUT,Flg, USR, 5/16"-18

NUT - hex serrated flange, 5/16 inch NC

7шт.

8

1317418C1

ANGLE

- trough support, left-hand

1шт.

9

186717C1

PLATE

SUPPORT - collecting auger, left-hand

1шт.

10

231-5146

FLANGE NUT,3/8"-16

2шт.

11

1541637C1

SUPPORT

- trough, right-hand

1шт.

12

231-5145

SERRATED NUT,Flg, USR, 5/16"-18

NUT - hex serrated flange, 5/16 inch NC

7шт.

13

409-7512

BOLT,Hex Flg, 5/16" - 18 x 3/4", Spcl

- hex serrated flange, 5/16 NC x 3/4 inch

7шт.

15

188285C1

RETAINER

- trough support, right-hand

1шт.

16

409-7512

BOLT,Hex Flg, 5/16" - 18 x 3/4", Spcl

- hex serrated flange, 5/16 NC x 3/4 inch

6шт.

17

231-5145

SERRATED NUT,Flg, USR, 5/16"-18

NUT - hex serrated flange, 5/16 inch NC

6шт.

20

191716C1

EXTENSION

SUPPORT - extension, trough

1шт.

21

477-73108

SERRATED SCREW,Sl Truss Hd, 5/16" - 18 x 1/2"

BOLT - serrated slotted truss head, 5/16 NC x 1/2 inch

12шт.

22

231-5145

SERRATED NUT,Flg, USR, 5/16"-18

NUT - hex serrated flange, 5/16 inch NC

12шт.

23

413-512

BOLT,Hex, 5/16" - 18 x 3/4", Gr 5

- hex, 5/16 NC x 3/4 inch

5шт.

24

231-5145

SERRATED NUT,Flg, USR, 5/16"-18

NUT - hex serrated flange, 5/16 inch NC

5шт.

25

1327668C1

SUPPORT

- auger trough

1шт.

26

1302142C1

BOLT,Flng, 1/2" - 13 x 1-1/4"

BOLT - hex flange, special, 1/2 NC x 1-1/4 inch

1шт.

26

1302143C1

FLANGE BOLT,Lock, Hex, 1/2" - 13 x 1"

- hex flange, special, 1 inch

9шт.

27

231-5148

FLANGE NUT,Flg, USR, 1/2"-13

10шт.

30

1317454C1

CLAMP

- auger trough, perforated

1шт.

30

1317452C1

CLAMP

- auger trough, non-perforated

1шт.

31

413-520

BOLT,Hex, 5/16" - 18 x 1-1/4", Gr 5

- hex, 5/16 NC x 1-1/4 inch

3шт.

31

424-516

BOLT,Hex, 5/16" - 18 x 1", Gr 2

- hex, 5/16 NC x 1 inch, grade 2

3шт.

32

231-4115

NUT,5/16"-18, GB

NUT - hex, self-locking, 5/16 inch NC

3шт.

35

1317484C2

AUGER

- grain

1шт.

36

156011C92

BALL BEARING

BEARING - ball, auger, left-hand

1шт.

37

1317250C91

FLANGED BEARING,31.75mm ID

BEARING - ball, auger, right-hand

1шт.

Ref. 37 bearing may be alternated with Ref. 50, 51, and 52.

1шт.

38

231-5146

FLANGE NUT,3/8"-16

2шт.

39

557995R11

COLLAR

- bearing, with set screw

2шт.

42

939460R91

FLANGE

- bearing, with 45 degree grease fitting

1шт.

43

939461R1

FLANGE

- bearing, grooved

1шт.

44

477-73832

SERRATED SCREW,Sl Truss Hd, 3/8" - 16 x 2"

BOLT - serrated slotted truss head, 3/8 NC x 2 inch (Replaces screw 117657A1)

1шт.

45

231-5146

FLANGE NUT,3/8"-16

3шт.

46

1541823C1

COVER

- grain trough, used with perforated bottom trough

1шт.

47

409-7512

BOLT,Hex Flg, 5/16" - 18 x 3/4", Spcl

- hex serrated flange, 5/16 NC x 3/4 inch

14шт.

48

231-5145

SERRATED NUT,Flg, USR, 5/16"-18

NUT - hex serrated flange, 5/16 inch NC

14шт.

49

281-14816

SELF-TAP SCREW,HWH, 5/16" - 18 x 1"

SCREW - self-tapping, hex washer head, 5/16 NC x 1 inch

4шт.

50

156011C92

BALL BEARING

BEARING - ball, auger

1шт.

Ref. 37 bearing may be alternated with Ref. 50, 51, and 52.

1шт.

51

581469R1

FLANGE,Bearing

- bearing retainer

2шт.

Ref. 37 bearing may be alternated with Ref. 50, 51, and 52.

1шт.

52

1979642C1

SPACER

- bearing flange

1шт.

Ref. 37 bearing may be alternated with Ref. 50, 51, and 52.

1шт.

Выбрано товаров: 52