Запчасти Case IH 2166 (9D-40) - TAILINGS DRIVE SHIELD AND SUPPORTS (16) - GRAIN ELEVATORS & AUGERS

Схема запчастей Case IH 2166 - (9D-40) - TAILINGS DRIVE SHIELD AND SUPPORTS (16) - GRAIN ELEVATORS & AUGERS
24
12
11
10
5
2
7
20
23
19
16
15
25
8
22
21
9
17
4
6
3
14
13
1
18
FIT
1:1
100%

Артикул

Название

Примечание

Количество

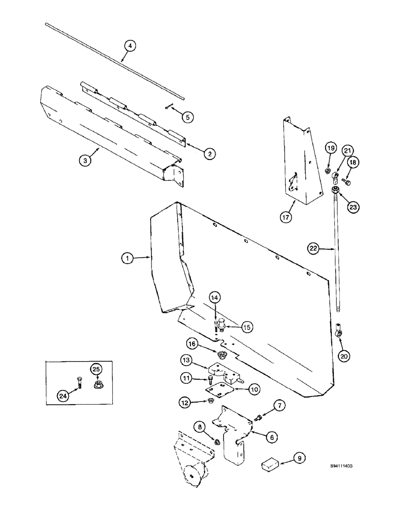
1

143896A2

SHIELD

- tailings drive

1шт.

2

143899A1

HINGE

- tailings drive shield

1шт.

3

143902A1

HINGE

SUPPORT - hinge

1шт.

4

144167A1

STEM

ROD - hinge

1шт.

5

432-416

COTTER PIN,1/16" x 1"

1/16" x 1"

1шт.

6

143909A1

SUPPORT

- shield latch

1шт.

7

409-7512

BOLT,Hex Flg, 5/16" - 18 x 3/4", Spcl

- hex serrated flange, 5/16 NC x 3/4 inch

10шт.

8

231-5145

SERRATED NUT,Flg, USR, 5/16"-18

NUT - hex serrated flange, 5/16 inch NC

10шт.

9

187884C1

SEALING STRIP,50mm L

- 2 inch (51 mm) long, cut from 87281C1 bulk seal below

1шт.

10

143910A1

SUPPORT

- latch striker

1шт.

11

409-7512

BOLT,Hex Flg, 5/16" - 18 x 3/4", Spcl

- hex serrated flange, 5/16 NC x 3/4 inch

2шт.

12

231-5145

SERRATED NUT,Flg, USR, 5/16"-18

NUT - hex serrated flange, 5/16 inch NC

2шт.

13

141224A1

LATCH

- door

1шт.

14

413-416

BOLT,Hex, 1/4" - 20 x 1", Gr 5

- hex, 1/4 NC x 1 inch

4шт.

15

142903A1

BOLT,Hex, 1/2" - 13 x 2.048", W/ Wshr

BOLT - special, door latch striker

1шт.

16

231-5148

FLANGE NUT,Flg, USR, 1/2"-13

1шт.

17

176083A2

SUPPORT

- door cylinder

1шт.

18

409-7512

BOLT,Hex Flg, 5/16" - 18 x 3/4", Spcl

- hex serrated flange, 5/16 NC x 3/4 inch

4шт.

19

231-5145

SERRATED NUT,Flg, USR, 5/16"-18

NUT - hex serrated flange, 5/16 inch NC

4шт.

20

143912A1

BALL JOINT

LINK - rod end, lower

1шт.

21

143913A1

BALL JOINT

LINK - rod end, upper

1шт.

22

143914A2

STEM

ROD - trim panel closure link

1шт.

23

425-116

NUT,3/8" - 24, Gr 5

- hex, 3/8 inch NF

1шт.

24

413-616

BOLT,Hex, 3/8" - 16 x 1", Gr 5

3шт.

25

232-5316

FLANGE NUT,Flg, 3/8"-16

NUT - hex flange, self-locking, 3/8 inch NC

3шт.

87281C1

RUBBER STRIP,38mm W x 749mm L x 19mm Thk

- bulk, 600 inch (15240 mm) long

1шт.

Выбрано товаров: 26