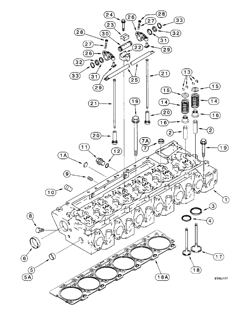
Запчасти Case IH 2166 (2-36) - CYLINDER HEAD AND VALVE MECHANISM, 6T-830 ENGINE, PRIOR TO COMBINE P.I.N. JJC0180000 (01) - ENGINE

Схема запчастей Case IH 2166 - (2-36) - CYLINDER HEAD AND VALVE MECHANISM, 6T-830 ENGINE, PRIOR TO COMBINE P.I.N. JJC0180000 (01) - ENGINE
4
13
9
20
2
2
21
18
26
1a
8
29
5a
27
6
10
5
27
16
23
15
7
20
26
19
32
30
31
33
16
19
25
14
14
29
24
22
11
32
3
1
28
18a
17
33
28
15
7a
31
21
12
FIT
1:1
100%

Артикул

Название

Примечание

Количество

JR928669

REMAN-CYLINDER HEAD

HEAD ASSY - cylinder, with valves, remanufactured, North America only, component parts shown on this Figure do not apply to the remanufactured assembly, not yet available, order new head assy J928669 (Replaces head assy. JR922052), Includes: Ref. 1 - 18

1шт.

JC928669

CORE-CYLINDER HEAD

RETURN NUMBER - use this part number to return head core for credit when using a remanufactured assembly (Replaces return numbers JC916464 and JC922052)

1шт.

J928669

HEAD (CYLINDER)

HEAD ASSEMBLY - cylinder, new, with valves (Replaces head assembly J922052), Includes: Ref. 1 - 18

1шт.

1

J922587

HEAD (CYLINDER)

HEAD ASSEMBLY - cylinder, new, without valves, no longer available, for service order head assembly J928669, Includes: Ref. 1A - 7A

1шт.

1a

J912900

PLUG

- expansion, 24 mm

1шт.

2

J923564

VALVE GUIDE

GUIDE - valve stem

12шт.

3

J924582

INSERT

- seat, intake valve

6шт.

3

J925468

SEAT, VALVE

INSERT - seat, intake valve, 0.254 mm oversize, service repair only

6шт.

Not a part of the head assembly and must be ordered separately.

1шт.

3

J925470

SEAT, VALVE

INSERT - seat, intake valve, 0.508 mm oversize, service repair only

6шт.

Not a part of the head assembly and must be ordered separately.

1шт.

4

J929005

INSERT

- seat, exhaust valve (Replaces insert J924583)

6шт.

4

J929006

INSERT

- seat, exhaust valve, 0.254 mm oversize, service repair only (Replaces insert J925469)

6шт.

Not a part of the head assembly and must be ordered separately.

1шт.

4

J929007

INSERT

- seat, exhaust valve, 0.508 mm oversize, service repair only (Replaces insert J925471)

6шт.

Not a part of the head assembly and must be ordered separately.

1шт.

5

A77530

PLUG

- expansion, 30 mm OD, used with J922587 head assembly

1шт.

5a

J920443

PLUG

- expansion, 30 mm OD

1шт.

6

A77782

PLUG

- expansion, 58 mm OD

2шт.

7

A77590

PLUG

- expansion, used with head assembly J922587

5шт.

7a

41-1616

PLUG,Cup, 1", Stainless

(Replaces plug A77539) Cup, 1", Stainless

5шт.

8

A77534

PLUG

- hex, 1/16 inch PT

1шт.

9

A77428

PLUG

- hex socket, 1/4 inch PT

1шт.

10

A77429

PLUG

- hex socket, 1/2 inch PT

2шт.

11

J924148

PLUG,M22 x 1.5

- hex magnetic, special, 22 mm - 1.5

2шт.

12

J902425

SEALING WASHER,22.2mm ID x 26.9mm OD x 1.75mm Thk

- sealing, plug

2шт.

13

J901177

VALVE

KEEPER - valve

24шт.

14

J925272

VALVE SPRING

SPRING - exhaust valve

12шт.

15

J925273

ROTATOR

- valve

12шт.

16

J915707

SEAL

- intake and exhaust valve stem and guide

12шт.

17

J924492

STD INLET VALVE

VALVE - intake

6шт.

18

J921444

STD EXHAUST VALVE

VALVE - exhaust

6шт.

18a

J928168

GASKET

- cylinder head, standard, See Ref. 8 on Figure 2-34

1шт.

19

J917728

BOLT

- cylinder head, 160 mm long

14шт.

19

J917729

BOLT,Flng, M14 x 80mm

BOLT - cylinder head, 80 mm long

12шт.

20

J931623

TAPPET

- valve, push rod (Replaces tappet J925031)

12шт.

21

J905194

PUSH ROD

ROD - push, rocker arm

12шт.

22

J905870

SUPPORT

- shaft, rocker arm

6шт.

23

J901693

CLAMP

- retaining, shaft

6шт.

24

868-10065

12 PT SCREW,M10 x 65mm, Cl 12.9

SCREW - 12 point flange, 10 - 1.5 x 65 mm, class 12.9

12шт.

25

J919677

TUBE

- oil, rocker arm

1шт.

26

J901717

ROCKER

ARM ASSEMBLY - rocker, Includes: Ref. 27 - 29

12шт.

27

J937438

ADJUSTMENT SCREW,Hex Skt, 3/8" - 24 x 33mm, Adj, Ball Point

SCREW - slotted set, adjusting, special

1шт.

28

425-116

NUT,3/8" - 24, Gr 5

- hex, 3/8 inch NF

1шт.

29

NSS

NOT SOLD SEPARAT

INSERT - rocker, order arm assembly J901717

1шт.

30

J919435

SHAFT

- rocker

6шт.

31

J906100

SPRING CUP

WASHER - spring

12шт.

32

J907206

WASHER,22.5mm ID x 30mm OD x 1mm Thk

- flat, special

12шт.

33

100-1187

SNAP RING,#87, Ext

Ring, Snap, #87, Ext

12шт.

Выбрано товаров: 49