Запчасти Case IH 2166 (6-10) - FOOT-N-INCH PEDAL (03) - POWER TRAIN

Схема запчастей Case IH 2166 - (6-10) - FOOT-N-INCH PEDAL (03) - POWER TRAIN
7a
2
11
9
4
6
17
12
7
14
15
13
8
19
5
1
18
16
5
17
3
10
FIT
1:1
100%

Артикул

Название

Примечание

Количество

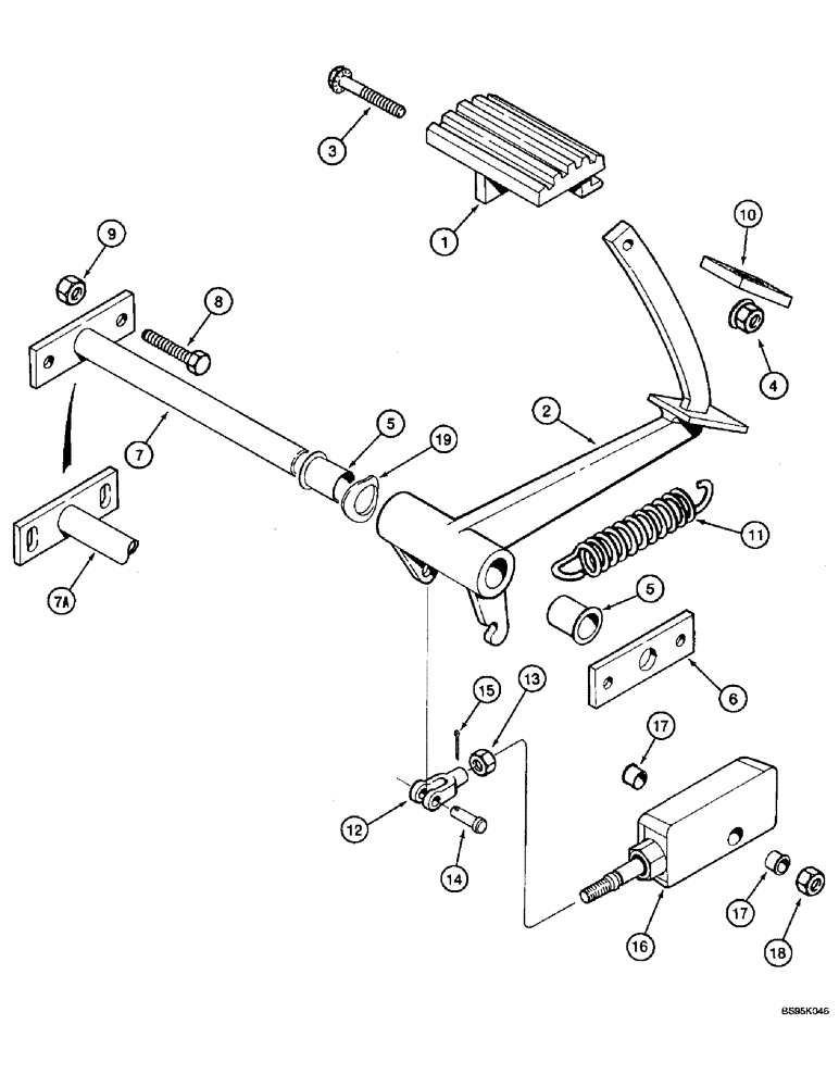
1

119902A1

PAD

- brake pedal

1шт.

2

119901A3

PEDAL

- Foot-N-Inch

1шт.

3

905-10035

BOLT,Hex Flg, M10 x 35mm

- hex serrated flange, 10 - 1.5 x 35 mm

1шт.

4

825-51410

FLANGE NUT,M10, Flg Ser

- hex serrated flange, 10 mm - 1.5

1шт.

5

72323

BUSHING,19.07mm ID x 28.57mm OD x 19.05mm L

- spacer, pedal (Replaces bushing 185062R1)

2шт.

6

1281794C1

PLATE

BAR - pivot shaft support

1шт.

7

120160A1

SHAFT

- pedal pivot, no longer available, order shaft 120160A2, Ref. 7A

1шт.

7a

120160A2

SHAFT

- pedal pivot

1шт.

8

614-8025

BOLT,Hex, M8 x 1.25 x 25mm, Cl 8.8, Full Thd

- hex, full threads, 8 - 1.25 x 25 mm

4шт.

9

832-10408

NUT,M8 x 1.25, Cl 8.8

NUT, M8 x 1.25, Cl 8

4шт.

10

120159A1

FOAM INSULATION

- pedal

1шт.

11

182652A1

SPRING

- 27.9 OD x 122 mm free length, pedal return

1шт.

12

213-125

ADJUSTABLE CLEVIS,5/16" - 32

CLEVIS - adjustable, 5/16 inch NF

1шт.

13

425-155

JAM NUT,Jam, 5/16"-24, G5

- hex jam, 5/16 inch NF

1шт.

14

327-5094

CLEVIS PIN,5/16" x .940"

PIN - clevis, 5/16 x 15/16 inch

1шт.

15

432-612

COTTER PIN,3/32" x 3/4"

PIN , SPLIT (COTTER), 3/32" x 3/4"

1шт.

16

REF

INSTRUCTION

VALVE ASSEMBLY - Foot-N-Inch, See parts list Figure 6-14 for correct valve

1шт.

17

19-6263

NYLON BEARING,0.38" ID x 0.59" OD x 0.38"

BEARING - flanged, valve pivot

2шт.

18

425-166

NUT,3/8"-16, G5, Hvy

- heavy hex, 3/8 inch NC

1шт.

19

G49413

WASHER

- wave

1шт.

Выбрано товаров: 20