Запчасти Case IH 2188 (5-18) - STATIONARY STEERING AXLE SHIELD (04) - STEERING

Схема запчастей Case IH 2188 - (5-18) - STATIONARY STEERING AXLE SHIELD (04) - STEERING
14
19
4
14
16
3
6
2
18
11
13
9
20
7
5
7
8
15
20
7
8
8
17
10
12
8
1
FIT
1:1
100%

Артикул

Название

Примечание

Количество

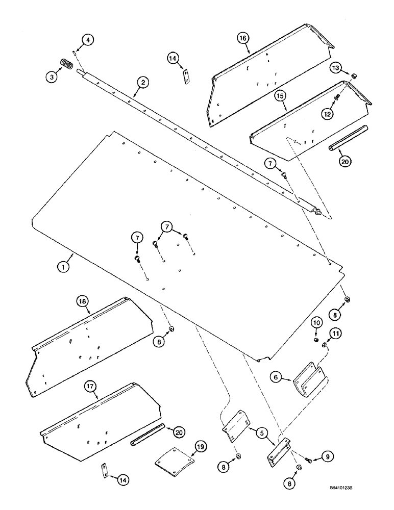
1

1325597C2

SHIELD

- steering axle, used only on models with straw spreader

1шт.

On machines with straw and chaff spreader there is no axle shield. However, see 122152A2, Ref. 8 on Figure 9D-20, which serves a similar purpose. If dealer is looking for rubber shield that attaches to 122152A2, P/N 122625A2

1шт.

2

188176C1

SUPPORT

- axle shield

1шт.

3

203942C1

SPRING

- support

1шт.

4

38-1814

LOCK PIN,1/8" x 7/8", Slotted

Pin, 1/8" x 7/8", Slotted

1шт.

5

183093C1

BRACKET

ANGLE - shield support

2шт.

6

183094C1

CUSHION

SUPPORT - axle shield

1шт.

7

477-73112

SERRATED SCREW,Sl Truss Hd, 5/16" - 18 x 3/4"

- serrated slotted truss head, 5/16 NC x 3/4"

1шт.

8

231-5145

SERRATED NUT,Flg, USR, 5/16"-18

NUT - hex serrated flange, 5/16 inch NC

1шт.

9

413-516

BOLT,Hex, 5/16" - 18 x 1", Gr 5

- hex, 5/16 NC x 1 inch

4шт.

10

232-4115

LOCK NUT,5/16"-18, GC

NUT, LOCK, 5/16"-18, GC

4шт.

11

495-11034

WASHER,5/16", SAE

5/16" SAE (flat, 11/32 x 11/16 x 1/16")

4шт.

12

477-73812

SERRATED SCREW,Truss HD, 3/8" - 16 x 3/4"

BOLT - serrated slotted truss head, 3/8 NC x 3/4 inch

4шт.

13

231-5146

FLANGE NUT,3/8"-16

4шт.

14

1325376C1

PLATE

BRACKET - hood extension

2шт.

15

1322479C3

PLATE

- hood extension, right-hand, models with straw spreader

1шт.

16

122538A1

PLATE

- hood extension, right-hand, models with straw and chaff spreader

1шт.

17

1322478C3

PLATE

- hood extension, left-hand, models with straw spreader

1шт.

18

122537A1

PLATE

- hood extension, left-hand, models with straw and chaff spreader

1шт.

19

1345126C1

CUSHION

- axle shield

1шт.

20

1968976C1

SEALING STRIP

TRIM - edge

2шт.

Выбрано товаров: 0