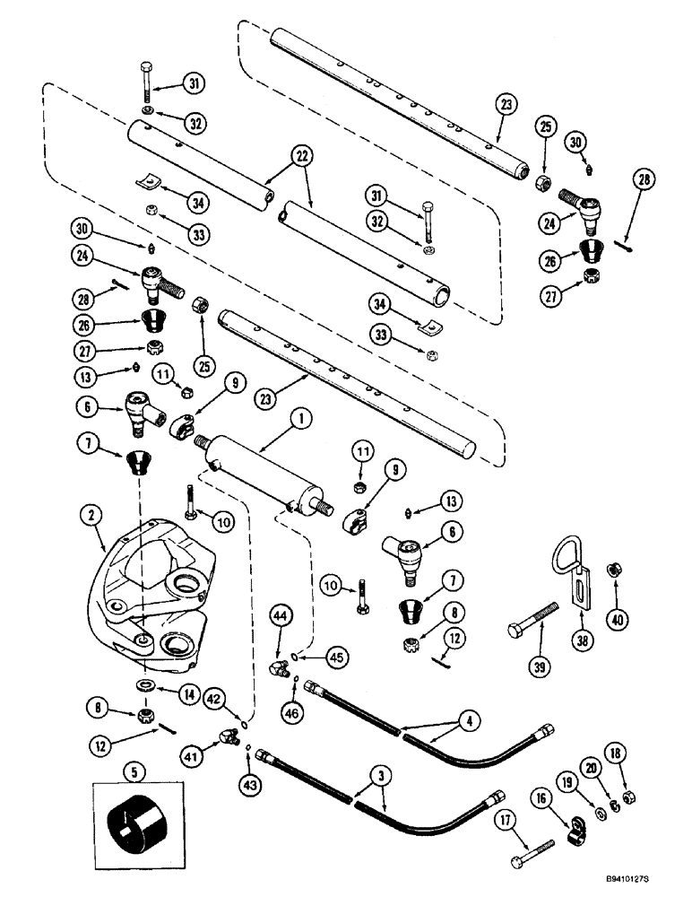
Запчасти Case IH 2188 (5-24) - STEERING CYLINDER AND TIE ROD, POWER GUIDE AXLE (04) - STEERING

Схема запчастей Case IH 2188 - (5-24) - STEERING CYLINDER AND TIE ROD, POWER GUIDE AXLE (04) - STEERING
9
42
19
7
11
7
41
33
32
25
2
6
44
12
30
32
27
24
31
27
12
30
46
38
43
26
23
9
10
10
14
26
33
39
25
40
8
22
23
4
3
8
13
45
28
34
5
18
28
11
24
17
31
1
34
6
13
20
16
FIT
1:1
100%

Артикул

Название

Примечание

Количество

1

1958024C1

STEERING CYLINDER

CYLINDER ASSEMBLY - 2-1/2 (64) ID x 9 inch (229 mm) stroke, parts list Figure 5-36

1шт.

87337226R

REMAN-HYD CYLINDER

2188 ( 1/95 - 12/97 ) Reman For New P/N 1958024C1

1шт.

87337226C

CORE-HYD CYLINDER

Return Number

1шт.

2

REF

INSTRUCTION

HOUSING - king pin, see Figure 5-30, REF 3

2шт.

3

128091A1

HOSE

- 85 inch (2160 mm) long

1шт.

4

128084A1

HOSE

- 77 inch (1956 mm) long

1шт.

5

167955C2

SEAL

GROMMET - steering hoses

1шт.

6

186140C91

BALL JOINT

END ASSEMBLY - steering cylinder, Includes: Ref. 7 - 11

2шт.

7

110373R1

DUST CAP

SEAL - end, cylinder

1шт.

8

425-1314

SLOTTED NUT,7/8"-14, G5

NUT - hex, slotted, 7/8 inch NF

1шт.

9

446308C91

CLAMP

ASSEMBLY - 1-3/8 inch ID, Includes: Ref. 10 and 11

1шт.

10

413-730

BOLT,Hex, 7/16" - 14 x 1-7/8", Gr 5

- hex, 7/16 NC x 1-7/8 inch

1шт.

11

231-4117

LOCK NUT,7/16"-14, GB

NUT - hex, self-locking, 7/16 inch NC

1шт.

12

432-816

COTTER PIN,1/8" x 1"

1/8" x 1"

2шт.

13

219-1

LUBE NIPPLE,1/8" - 27 NPTF

FITTING - grease, straight, 1/8 PT x 21/32 inch

2шт.

14

496-21094

WASHER,23.82mm ID x 44.45mm OD x 4.85mm Thk

1шт.

16

515-25476

CLAMP,1 7/8", Insul, 1/2" Bolt

P-type 1 7/8", Insul, 1/2" Bolt

1шт.

17

413-572

BOLT,Hex, 5/16" - 18 x 4-1/2", Gr 5

- hex, 5/16 NC x 4-1/2 inch

1шт.

18

425-105

NUT,5/16"-18, G5

- hex, 5/16 inch NC

1шт.

19

495-81116

WASHER,8.74mm ID x 25.4mm OD x 1.7mm Thk

- flat, 11/32 x 1 x 3/64 inch

1шт.

20

492-11031

LOCK WASHER,5/16"

WASHER, LOCK, 5/16"

1шт.

22

1970102C1

TUBE

- tie rod

1шт.

23

1970103C1

TUBE,1.062" ID, 1.625" OD, 33" Length

- tie rod

2шт.

24

1968998C1

BALL JOINT

END - tie rod

2шт.

25

1970391C1

JAM NUT

- hex jam, special, 1-1/8 inch NF

2шт.

26

110373R1

DUST CAP

SEAL - end, cylinder

2шт.

27

425-1314

SLOTTED NUT,7/8"-14, G5

NUT - hex, slotted, 7/8 inch NF

2шт.

28

432-816

COTTER PIN,1/8" x 1"

1/8" x 1"

2шт.

30

219-1

LUBE NIPPLE,1/8" - 27 NPTF

FITTING - grease, straight, 1/8 PT x 21/32 inch

2шт.

31

326-856

BOLT,Hex, 1/2" - 13 x 3-1/2", Gr 8

4шт.

32

1970104C1

SPACER

- tube

4шт.

33

232-4118

NUT,1/2"-13, GC

NUT, LOCK, 1/2"-13, GC

4шт.

34

1970101C1

CLAMP

- centering, tie rod

4шт.

38

1970383C1

GUIDE

- hose

4шт.

39

413-1280

BOLT,Hex, 3/4" - 10 x 5", Gr 5

- hex, 3/4 NC x 5 inch

4шт.

40

232-51312

FLANGE NUT,Flg, USR, 3/4"-10

(G8) Flg, USR, 3/4"-10

4шт.

41

201-304

ELBOW,90 Degree Elbow, 11/16" - 16 Male ORFS x 9/16" - 18 Male ORB

- 90 degree, 11/16-16 face seal x 9/16-18 inch adjustable O-ring boss, Includes: Ref. 42 and 43

1шт.

43

238-6012

O-RING,0.07" Thk x 0.364" ID, -12, Cl 6, 90 Duro

1шт.

44

201-332

ELBOW,90 Degree Elbow, 13/16" - 16 Male ORFS x 9/16" - 18 Male ORB

- 90º, 13/16-16 face seal x 9/16-18 inch Adj O-ring boss, Incl Ref 45 and 46

1шт.

46

238-6014

O-RING,0.07" Thk x 0.489" ID, -14, Cl 6, 90 Duro

1шт.

42

237-6006

O-RING,0.078" Thk x 0.468" ID, -906, Cl 6, 90 Duro

6-1, 90 Duro, .468" ID x .078" Thk

1шт.

45

237-6006

O-RING,0.078" Thk x 0.468" ID, -906, Cl 6, 90 Duro

6-1, 90 Duro, .468" ID x .078" Thk

1шт.

Выбрано товаров: 42