Запчасти Case IH 2188 (4-44) - FIELD TRACKER SENSOR POTENTIOMETER MOUNTING (06) - ELECTRICAL

Схема запчастей Case IH 2188 - (4-44) - FIELD TRACKER SENSOR POTENTIOMETER MOUNTING (06) - ELECTRICAL
4
21
19
17
10
20
10
15
5
19
18
1
18
6
10
9
3
19
12
17
8
2
11
9
13
6
16
14
9
7
19
FIT
1:1
100%

Артикул

Название

Примечание

Количество

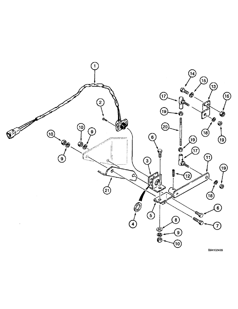
1

100283A1

POTENTIOMETER,4000 Ohm

Spring Loaded, See Figure 4-42 for Harness 4000 Ohm

1шт.

2

440-1086

SCREW,Cross Pan Hd, #8-32 x 3/8"

- machine, pan Phillips, No. 8 NC x 3/8"

2шт.

3

100297A1

BRACKET

- pivot arm

1шт.

4

108651A1

WASHER

- special

1шт.

5

100293A1

SUPPORT

- lower

1шт.

6

413-512

BOLT,Hex, 5/16" - 18 x 3/4", Gr 5

- hex, 5/16 NC x 3/4 inch

4шт.

7

413-516

BOLT,Hex, 5/16" - 18 x 1", Gr 5

- hex, 5/16 NC x 1 inch

1шт.

8

495-11034

WASHER,5/16", SAE

5/16" SAE (flat, 11/32 x 11/16 x 1/16")

1шт.

9

492-11031

LOCK WASHER,5/16"

WASHER, LOCK, 5/16"

5шт.

10

425-105

NUT,5/16"-18, G5

- hex, 5/16 inch NC

5шт.

11

100296A1

ARM ASSY.

ARM - pivot

1шт.

12

38-3806

PIN,3.17mm OD x 9.53mm L, Coiled

1шт.

13

100294A1

SUPPORT

- upper

1шт.

14

413-512

BOLT,Hex, 5/16" - 18 x 3/4", Gr 5

- hex, 5/16 NC x 3/4 inch

1шт.

15

492-11031

LOCK WASHER,5/16"

WASHER, LOCK, 5/16"

1шт.

16

425-105

NUT,5/16"-18, G5

- hex, 5/16 inch NC

1шт.

17

100282A1

BALL JOINT

JOINT - ball, 1/4 inch NF

2шт.

18

492-11025

LOCK WASHER,1/4"

WASHER, LOCK, 1/4"

2шт.

19

425-114

NUT,1/4"-28, G5

4шт.

20

100281A1

STUD

ROD - adjusting

1шт.

21

100289A1

ANGLE

- shield support

2шт.

253108A1

BRACKET

BRACKET pivot arm, if dealer is looking for heavier duty parts that go along with the 126771A1 Potentiometer

1шт.

189728A1

LEVER

ARM pivot, if dealer is looking for heavier duty parts that go along with the 126771A1 Potentiometer

1шт.

253071A1

WIRE HARNESS

HARNESS jumper, if dealer is looking for heavier duty parts that go along with the 126771A1 Potentiometer

1шт.

253109A1

SUPPORT

BRACKET upper, if dealer is looking for heavier duty parts that go along with the 126771A1 Potentiometer

1шт.

253076A1

SUPPORT

BRACKET lower, if dealer is looking for heavier duty parts that go along with the 126771A1 Potentiometer

1шт.

253107A1

SUPPORT

BRACKET if dealer is looking for heavier duty parts that go along with the 126771A1 Potentiometer

1шт.

Выбрано товаров: 27