Запчасти Case IH 2188 (9H-34) - RIGHT HAND PLATFORM, LADDER AND HANDRAIL (12) - CHASSIS

Схема запчастей Case IH 2188 - (9H-34) - RIGHT HAND PLATFORM, LADDER AND HANDRAIL (12) - CHASSIS
15
5
14
6
4
2
20
11
21
9
17
9
3
7
19
16
8
6
10
18
13
7
12
1
FIT
1:1
100%

Артикул

Название

Примечание

Количество

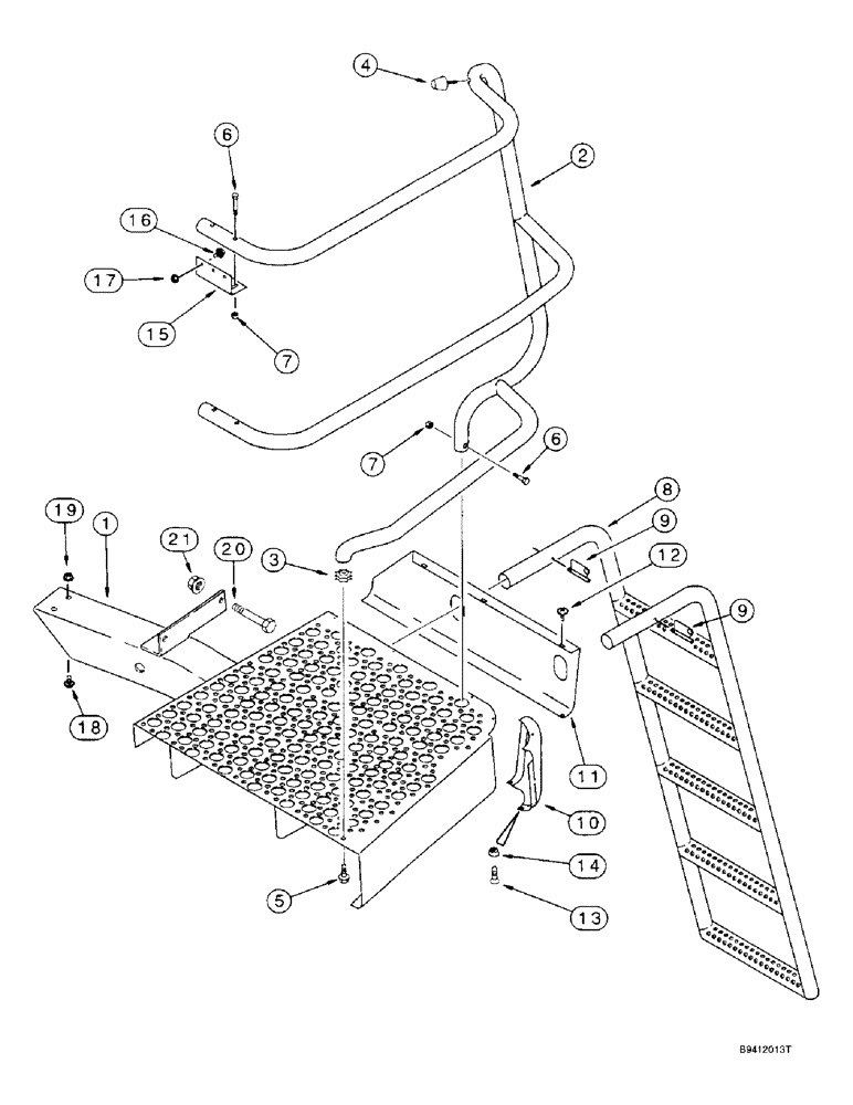
1

111247A5

PLATFORM

- operators, right-hand

1шт.

2

111353A3

HANDRAIL

- right-hand platform

1шт.

3

140225A2

TUBE,17.4 mm Length

CONNECTOR - handrail

1шт.

4

N7673

BUMPER

- rubber

1шт.

5

844-8030

BOLT,Hex, M8 x 1.25 x 30mm, Cl 8.8

- heavy hex flange, 8 - 1.25 x 30 mm

1шт.

6

413-528

BOLT,Hex, 5/16" - 18 x 1-3/4", Gr 5

5шт.

7

231-1445

NUT,5/16"-18, GB

NUT - hex, self-locking, 5/16 inch NC

5шт.

8

127137A2

LADDER

- right-hand platform

1шт.

9

1338021C1

PIN,7.94mm OD

- retaining

2шт.

10

118938A1

SUPPORT

Channel - Platform trim, RH corner

1шт.

11

118937A2

SUPPORT

Channel - Platform trim, RH Front

1шт.

12

260-1448

SELF-TAP SCREW,Cross Pan Hd, #8 x 1/2"

SCREW - self-tapping, pan Phillips, No. 8-18 x 1/2 inch

4шт.

13

440-1258

SCREW,Cross Pan Hd, 1/4"-20 x 1/2"

- machine, pan Phillips, 1/4 NC x 1/2 inch

2шт.

14

231-5344

FLANGE NUT,Flg, 1/4"-20

NUT, LOCK, Flg, 1/4"-20

2шт.

15

141049A1

SUPPORT

BRACKET - handrail support

2шт.

16

409-7512

BOLT,Hex Flg, 5/16" - 18 x 3/4", Spcl

- hex serrated flange, 5/16 NC x 3/4 inch

2шт.

17

231-5145

SERRATED NUT,Flg, USR, 5/16"-18

NUT - hex serrated flange, 5/16 inch NC

2шт.

18

409-7616

BOLT,Hex Flg, 3/8" - 16 x 1", Spcl

2шт.

19

231-5146

FLANGE NUT,3/8"-16

2шт.

20

326-852

BOLT,Hex, 1/2" - 13 x 3-1/4", Gr 8

(Replaces bolt 25285R1) Hex, 1/2"-13 x 3 1/4", G8

2шт.

21

131-946

FLANGE NUT,Flg, 1/2"-13, G8

- large hex flange, 1/2 inch NC

2шт.

141546A2

BOX, TOOL

TOOL BOX

1шт.

143481A1

SUPPORT

BRACKET

1шт.

195138A1

HARDWARE

1шт.

Выбрано товаров: 24