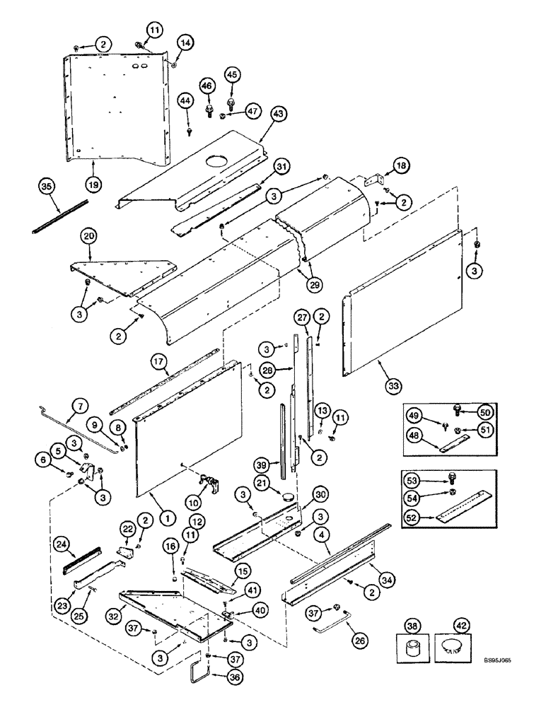
Запчасти Case IH 2188 (2-12) - ROTARY AIR SCREEN CHUTE, PRIOR TO COMBINE P.I.N. JJC0191483 (01) - ENGINE

Схема запчастей Case IH 2188 - (2-12) - ROTARY AIR SCREEN CHUTE, PRIOR TO COMBINE P.I.N. JJC0191483 (01) - ENGINE
38
3
8
1
17
3
22
14
46
29
2
37
41
27
3
15
3
2
19
7
18
30
48
28
37
3
2
47
2
23
49
25
33
20
9
3
13
50
34
11
3
52
2
43
44
45
53
26
12
39
4
35
2
3
36
5
32
11
31
11
51
2
2
21
24
3
16
3
37
40
42
54
6
10
FIT
1:1
100%

Артикул

Название

Примечание

Количество

1

1979861C2

TRAP DOOR

DOOR - radiator access

1шт.

2

477-73108

SERRATED SCREW,Sl Truss Hd, 5/16" - 18 x 1/2"

BOLT - serrated slotted truss head, 5/16 NC x 1/2 inch

90шт.

3

231-5145

SERRATED NUT,Flg, USR, 5/16"-18

NUT - hex serrated flange, 5/16 inch NC

99шт.

4

1977216C3

DOOR SEAL

- flange, 38-7/8 inch (988 mm) long, radiator access door, lower, cut from seal 1977215C1

1шт.

5

1347199C2

GUIDE

- radiator door

1шт.

6

256873

BOLT,Hex Serr, 5/16" - 18 x 1/2", 5SPL, Full Thd

1шт.

7

1979919C1

STEM

ROD - door

1шт.

8

131-415

JAM NUT,Push, Bolt Retainer, 3/8" x 25/32"

1шт.

9

95-21044

WASHER,3/8"

- flat, 7/16 x 1 x 5/64 inch

3шт.

10

1302494C2

LATCH

- access door

1шт.

11

199953C1

SELF-TAP SCREW,HWH, 5/16" - 18 x 13/16"

SCREW, SELF TAP, Hex Wash Hd, 5/16"-18 x 13/16"

15шт.

12

477-73112

SERRATED SCREW,Sl Truss Hd, 5/16" - 18 x 3/4"

- serrated slotted truss head, 5/16 NC x 3/4"

6шт.

13

495-61041

WASHER,10.31mm ID x 25.4mm OD x 1.6mm Thk

5шт.

14

495-81024

WASHER,17/32" x 1 1/4" x .060"

- flat, 17/32 x 1-1/4 x 1/16 inch

5шт.

15

111253A2

SUPPORT

- lower, inner rear

1шт.

Plug for part Number 11253A2 for 1.75 hole try 205-126 or a 432564.

1шт.

16

1970461C1

GROMMET

- rubber, 1-3/8 x 2 x 5/16

2шт.

17

NSS

NOT SOLD SEPARAT

SEAL - door hinge, 37-1/2 inch (953 mm) long, cut from 1338148CX bulk seal below

1шт.

18

1317704C1

SUPPORT

- top shute mounting

1шт.

19

118082A4

SUPPORT

- screen chute, rear

1шт.

20

1541858C2

SUPPORT

- screen, upper

1шт.

21

1302758C1

PLUG

- plastic, 89 mm OD

1шт.

22

1968548C1

SUPPORT

BRACKET - chute, discharge side

1шт.

23

1968546C2

SUPPORT

- discharge chute

1шт.

24

1338012C1

BRUSH, COMMUTATOR

BRUSH - block off

1шт.

25

151-507

RIVET,Pop, 1/8" x .575"

- break mandrel, 1/8 x 1/2 inch

2шт.

26

182995A1

BAR

HANDLE - assist

1шт.

27

118059A3

ANGLE

- deflector

1шт.

28

1979860C3

DEFLECTOR

- screen chute

1шт.

29

118088A2

CHUTE (DOWNWARD)

CHUTE - air screen, upper

1шт.

30

118057A1

SUPPORT

- radiator clean out

1шт.

31

118415A2

ANGLE

- radiator upper seal

1шт.

32

1541788C3

SUPPORT

- lower, rear

1шт.

33

1989205C2

SHIELD

PANEL - side, front

1шт.

34

1979853C2

CHUTE (DOWNWARD)

CHUTE - bottom rear outlet

1шт.

35

128719A1

SEAL

SEAL - radiator upper and lower, 31-7/8 inch (810 mm) long, cut from F43996 bulk seal below

2шт.

1338148CX

SEAL

- bulk, foam, adhesive-backed, 600 inch (15240 mm) long

1шт.

F43996

RUBBER SEAL,25.4mm W x 932.179mm L x 19.05mm Thk

SEAL - bulk, adhesive-backed, 3/4 (19) x 1 (25) x 36-3/4 inch (932 mm) long

1шт.

36

1979918C1

HANDLE

- assist

1шт.

37

231-5148

FLANGE NUT,Flg, USR, 1/2"-13

4шт.

38

D81147

SPACER

- 1/2 x 3/4 x 1-1/4 inch

1шт.

39

1347460C1

DOOR SEAL,648mm L

- radiator access door, 25-1/8 inch (648 mm) long

2шт.

40

1347430C1

SUPPORT

BRACKET - latch retainer

1шт.

42

205-77

HOLE PLUG BUTTON,11/32"

PLUG - button, 11/32 inch ID

2шт.

41

477-73112

SERRATED SCREW,Sl Truss Hd, 5/16" - 18 x 3/4"

- serrated slotted truss head, 5/16 NC x 3/4"

2шт.

42

205-77

HOLE PLUG BUTTON,11/32"

PLUG - button, 11/32 inch ID

2шт.

43

118083A5

SHEET

COVER - upper, radiator

1шт.

44

199953C1

SELF-TAP SCREW,HWH, 5/16" - 18 x 13/16"

SCREW, SELF TAP, Hex Wash Hd, 5/16"-18 x 13/16"

5шт.

45

409-7516

BOLT,Hex Flg, 5/16" - 18 x 1", Spcl

3шт.

46

256873

BOLT,Hex Serr, 5/16" - 18 x 1/2", 5SPL, Full Thd

3шт.

47

231-5145

SERRATED NUT,Flg, USR, 5/16"-18

NUT - hex serrated flange, 5/16 inch NC

6шт.

48

1302414C1

DRAG LINK

BAR - cover support

1шт.

49

199953C1

SELF-TAP SCREW,HWH, 5/16" - 18 x 13/16"

SCREW, SELF TAP, Hex Wash Hd, 5/16"-18 x 13/16"

1шт.

50

409-7516

BOLT,Hex Flg, 5/16" - 18 x 1", Spcl

1шт.

51

231-5145

SERRATED NUT,Flg, USR, 5/16"-18

NUT - hex serrated flange, 5/16 inch NC

1шт.

52

119889A1

ANGLE

- radiator cover, rear

1шт.

53

256873

BOLT,Hex Serr, 5/16" - 18 x 1/2", 5SPL, Full Thd

2шт.

54

231-5145

SERRATED NUT,Flg, USR, 5/16"-18

NUT - hex serrated flange, 5/16 inch NC

2шт.

Выбрано товаров: 0