Запчасти Case IH 2188 (9A-52) - FIELD TRACKER, HEADER PIVOT SUPPORT (13) - FEEDER

Схема запчастей Case IH 2188 - (9A-52) - FIELD TRACKER, HEADER PIVOT SUPPORT (13) - FEEDER
10
20
15
7
25
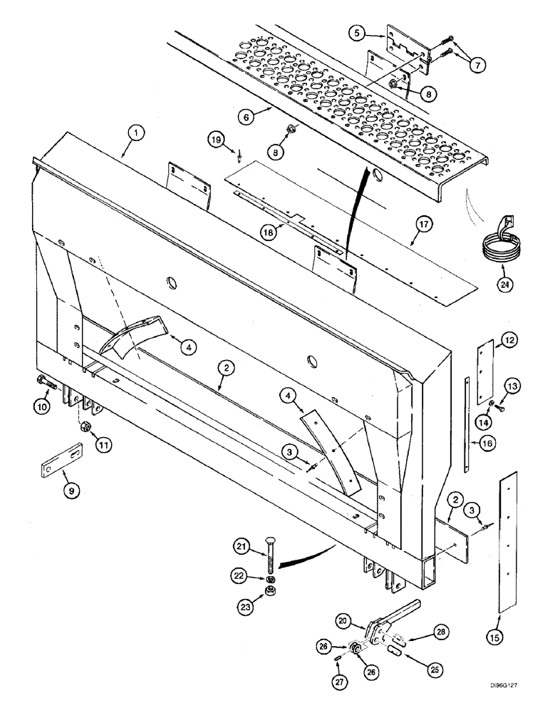
1
2
21
23
14
3
6
24
9
11
26
28
12
8
8
19
27
26
2
16
4
18
13
17
3
4
5
22
FIT
1:1
100%

Артикул

Название

Примечание

Количество

144255A2

FRAME

SUPPORT ASSEMBLY - pivot, header tilt front, Includes: Ref. 1 - 4

1шт.

Pivot bracket that bolts with 4 bolts to the bottom of this assy is 240586A2

1шт.

1

NSS

NOT SOLD SEPARAT

SUPPORT - pivot, header tilt front, order support assembly 144255A2

1шт.

2

100274A1

WEAR PLATE

PLATE - lower bearing slide

1шт.

3

151-559

RIVET,Pop, 4.75mm OD x 12.7mm L

- break mandrel, 3/16 x 1/4 inch

13шт.

4

100273A1

SUPPORT

- upper bearing slide

2шт.

5

140767A1

HINGE

- step

2шт.

6

140768A3

STEP

- header beam

1шт.

7

477-73112

SERRATED SCREW,Sl Truss Hd, 5/16" - 18 x 3/4"

- serrated slotted truss head, 5/16 NC x 3/4"

8шт.

8

231-5145

SERRATED NUT,Flg, USR, 5/16"-18

NUT - hex serrated flange, 5/16 inch NC

8шт.

9

100287A1

STOP

BAR - horizontal stop

2шт.

10

413-828

BOLT,Hex, 1/2" - 13 x 1-3/4", Gr 5

4шт.

11

231-4218

LOCK NUT,1/2"-13, GB

NUT - hex, self-locking, 1/2 inch NC

4шт.

12

108739A1

RUBBER SEAL,3.17mm Thk

- rubber, track

2шт.

13

281-5488

SELF-TAP SCREW,Hex Wash Hd, 5/16"-18 x 1/2"

SCREW - self-tapping, hex washer head, 5/16 NC x 1/2 inch

6шт.

14

495-21038

WASHER,5/16"

(flat, 3/8 x 7/8 x 3/32") 5/16"

6шт.

15

108740A1

RUBBER SEAL

- rubber, side

2шт.

16

108645A1

STRAP

STRIP - rivet backing, 11-13/16 inch (300 mm) long

2шт.

16

226606A1

STRAP

STRIP - rivet backing, 8-1/4 inch (210 mm) long

2шт.

16a

495-61020

WASHER,0.203" ID x 0.75" OD x 0.067" Thk

- flat, 13/64 x 3/4 x 1/16 inch, not shown

2шт.

17

144934A1

GUARD

SHIELD - rubber

2шт.

18

144935A1

STRAP

STRIP - backing, 14-9/16 inch (370 mm) long

2шт.

19

151-559

RIVET,Pop, 4.75mm OD x 12.7mm L

- break mandrel, 3/16 x 1/4 inch

26шт.

20

100295A1

HANDLE

- latch

2шт.

21

411-572

CARRIAGE BOLT,Sq Nk, 5/16" - 18 x 4 1/2", Gr 2

BOLT - carriage, 5/16 NC x 4-1/2 inch, grade 2

2шт.

22

492-11031

LOCK WASHER,5/16"

WASHER, LOCK, 5/16"

2шт.

23

425-105

NUT,5/16"-18, G5

- hex, 5/16 inch NC

2шт.

24

126046A1

GASKET,287.02mm L

TRIM - edge, black, 11-1/2 inch (292 mm) long, cut from 1330108CX bulk trim below

2шт.

25

177141C1

PIN,15.88mm OD x 41mm L

- pivot

2шт.

26

495-81175

WASHER,21/32" x 1" x .120"

- flat, 21/32 x 1 x 7/64 inch

2шт.

27

38-11616

LOCK PIN,1/4" x 1", Slotted

Pin, 1/4" x 1", Slotted

2шт.

28

1338021C1

PIN,7.94mm OD

- retaining

2шт.

1330108CX

SEAL,304.8mm L

TRIM - edge, bulk, 600 inch (15240 mm) long

1шт.

Выбрано товаров: 33