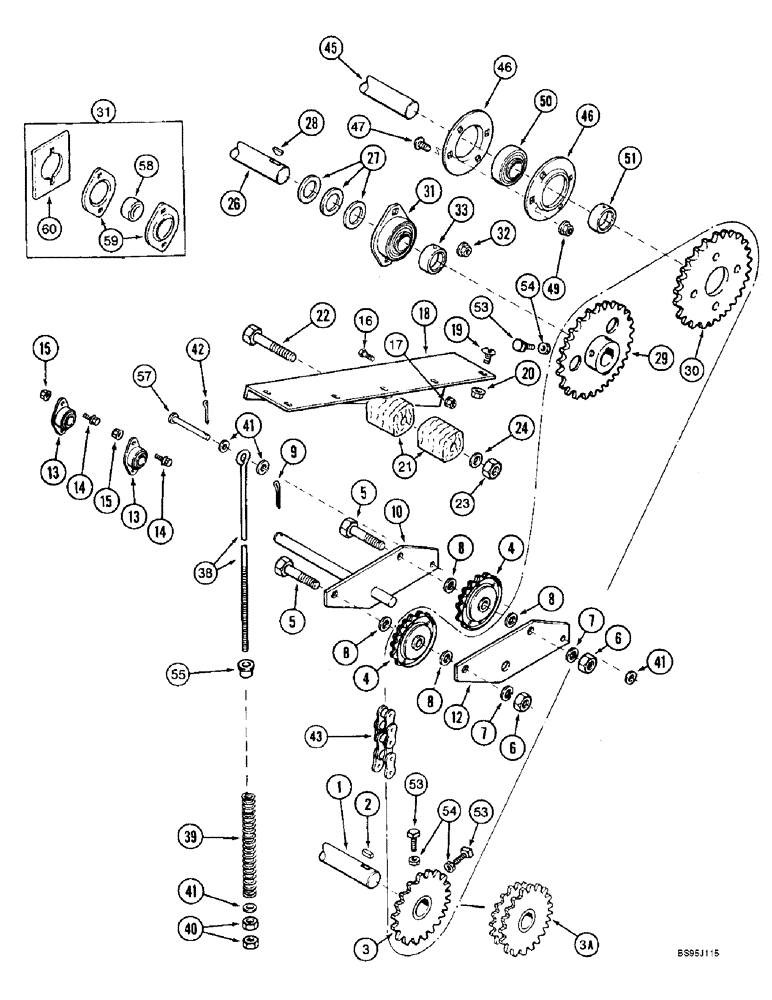
Запчасти Case IH 2188 (9D-10) - GRAIN ELEVATOR DRIVE (16) - GRAIN ELEVATORS & AUGERS

Схема запчастей Case IH 2188 - (9D-10) - GRAIN ELEVATOR DRIVE (16) - GRAIN ELEVATORS & AUGERS
2
42
43
14
39
30
33
41
24
20
23
59
31
46
8
3
1
41
41
58
8
51
17
13
29
54
46
53
9
16
60
13
47
50
26
53
3a
15
18
32
28
8
7
38
8
14
57
19
4
15
45
6
10
21
54
5
55
53
4
27
22
40
7
5
31
6
12
49
FIT
1:1
100%

Артикул

Название

Примечание

Количество

1

1319247C1

SHAFT

- drive, elevator

1шт.

2

581306R1

KEY,5/16" Sq x 1 1/4", Par

2шт.

3

192139C2

SPROCKET

- drive, 25 teeth, if used

2шт.

3a

182945A1

SPROCKET

- drive, 2 speed, 25 teeth and 30 teeth, if used

1шт.

4

631905R91

SPROCKET

- idler drive, 17 teeth

2шт.

5

413-1044

BOLT,Hex, 5/8" - 11 x 2-3/4", Gr 5

- hex, 5/8 NC x 2-3/4 inch

2шт.

6

425-1010

NUT,5/8"-11, G5

2шт.

7

492-11062

BEARING WASHER,5/8"

WASHER, LOCK, 5/8"

2шт.

8

495-81175

WASHER,21/32" x 1" x .120"

- flat, 21/32 x 1 x 7/64 inch

4шт.

9

432-1224

COTTER PIN,3/16" x 1-1/2"

3/16" x 1 1/2"

1шт.

10

1345065C1

SUPPORT

- pivot tightener

1шт.

12

1345066C1

PLATE

- tightener support

1шт.

13

A63366

SPHERICAL BEARING,19mm ID

BEARING - pivot

2шт.

14

409-7512

BOLT,Hex Flg, 5/16" - 18 x 3/4", Spcl

- hex serrated flange, 5/16 NC x 3/4 inch

4шт.

15

231-5145

SERRATED NUT,Flg, USR, 5/16"-18

NUT - hex serrated flange, 5/16 inch NC

4шт.

16

413-516

BOLT,Hex, 5/16" - 18 x 1", Gr 5

- hex, 5/16 NC x 1 inch, if used

1шт.

17

231-5145

SERRATED NUT,Flg, USR, 5/16"-18

NUT - hex serrated flange, 5/16 inch NC, if used

1шт.

18

1317476C3

ANGLE BAR

STIFFENER - block

1шт.

19

477-73108

SERRATED SCREW,Sl Truss Hd, 5/16" - 18 x 1/2"

BOLT - serrated slotted truss head, 5/16 NC x 1/2 inch

6шт.

20

231-5145

SERRATED NUT,Flg, USR, 5/16"-18

NUT - hex serrated flange, 5/16 inch NC

6шт.

21

582018R1

BLOCK

- tightener

2шт.

22

413-1056

BOLT,Hex, 5/8" - 11 x 3-1/2", Gr 5

2шт.

23

232-41110

NUT,5/8"-11, GC

NUT, LOCK, 5/8"-11, GC

2шт.

24

495-21069

WASHER,5/8"

- flat, 11/16 x 1-3/4 x 1/8 inch

2шт.

26

1317470C1

SHAFT

- elevator head

1шт.

27

495-81202

WASHER,1 9/32" x 1 3/4" x .060"

- flat, 1-9/32 x 1-3/4 x 1/16 inch

6шт.

28

126-125

WOODRUFF KEY,#B, 5/16" x 1", HT

1шт.

29

1317412C1

SPROCKET

- headshaft, 32 teeth

1шт.

30

1321039C1

SPROCKET

- driven, 29 teeth

1шт.

31

1317250C91

FLANGED BEARING,31.75mm ID

BEARING - headshaft

1шт.

32

231-5146

FLANGE NUT,3/8"-16

4шт.

33

557995R11

COLLAR

- bearing, with set screw

1шт.

38

1345005C1

BOLT,3/8" - 16 x 815mm

ROD - chain tightener

1шт.

39

523677R1

SPRING

- tightener

1шт.

40

425-106

NUT,3/8"-16, Cl 5

2шт.

41

495-71041

WASHER,10.31mm ID x 31.75mm OD x 2.54mm Thk

- flat, 13/32 x 1-1/4 x 3/32 inch

4шт.

42

432-612

COTTER PIN,3/32" x 3/4"

PIN , SPLIT (COTTER), 3/32" x 3/4"

1шт.

43

REF

INSTRUCTION

CHAIN - drive, use 253 links of 1791D bulk chain, (3) 241-1315 connector links and (2) 241-1115 roller links, inclined elevator

1шт.

45

1968853C2

AUGER

- delivery, inclined, see page 9D-15 for universal joint and optional bearing and flanges

1шт.

46

181383C1

FLANGED BEARING,72.01mm ID x 122.24mm OD

FLANGE - bearing

2шт.

47

412-612

CARRIAGE BOLT,Short Sq Nk, 3/8" - 16 x 3/4", Gr 2

BOLT - carriage, 3/8 NC x 3/4 inch, grade 2

4шт.

49

231-5146

FLANGE NUT,3/8"-16

4шт.

50

611583R91

BALL BEARING

BEARING - ball, auger

1шт.

51

517645R11

COLLAR

- locking with set screw

1шт.

53

485-13816

SET SCREW,Sq Hd, 3/8"-16 x 1"

SCREW - set, square head, 3/8 NC x 1 inch, cup point

2шт.

54

425-146

JAM NUT,3/8" - 16, Gr 5

- hex jam, 3/8 inch NC

2шт.

55

S113843

BUSHING,9.65mm ID x 15.75mm OD x 15.75mm L

- nylon

1шт.

57

427-6240

CLEVIS PIN,9.53mm OD x 61.11mm L

PIN - clevis, 3/8 x 2-13/32 inch, hardened

1шт.

58

156011C92

BALL BEARING

BEARING - ball, headshaft

1шт.

59

581469R1

FLANGE,Bearing

- bearing retainer

2шт.

60

1979642C1

SPACER

- bearing flange

1шт.

Выбрано товаров: 51