Запчасти Case IH 2188 (9F-06) - STRAW SPREADER, SHIELDS (19) - STRAW SPREADER & CHOPPER

Схема запчастей Case IH 2188 - (9F-06) - STRAW SPREADER, SHIELDS (19) - STRAW SPREADER & CHOPPER
33
23
30
4
2
14
19
13
27
28
1a
3
4
36
22
17
16
5
6
24
21
37
1a
4
5
10
6
8
2
6
5
5
31
4
8
15
35
25
18
13
19
8
12
20
32
7
9
10
34
29
6
1
1
4
11
18
9
11
6
5
3
26
FIT
1:1
100%

Артикул

Название

Примечание

Количество

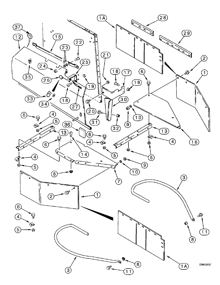
1

1308916C2

SHIELD

- side, straw spreader

2шт.

1a

103211A2

SHIELD

- side, straw and chaff spreader

2шт.

2

256873

BOLT,Hex Serr, 5/16" - 18 x 1/2", 5SPL, Full Thd

1шт.

3

1308912C3

PIPE

- shield

2шт.

4

515-28175

CLAMP,17.5mm ID, 10.3mm Bolt Hole, P Type

- P-type, 11/16 inch ID

6шт.

5

231-5145

SERRATED NUT,Flg, USR, 5/16"-18

NUT - hex serrated flange, 5/16 inch NC

9шт.

6

409-7512

BOLT,Hex Flg, 5/16" - 18 x 3/4", Spcl

- hex serrated flange, 5/16 NC x 3/4 inch

5шт.

7

183958A2

SUPPORT

- straw spreader, right-hand shield

1шт.

8

231-5145

SERRATED NUT,Flg, USR, 5/16"-18

NUT - hex serrated flange, 5/16 inch NC

4шт.

9

231-4115

NUT,5/16"-18, GB

NUT - hex, self-locking, 5/16 inch NC

1шт.

10

495-81116

WASHER,8.74mm ID x 25.4mm OD x 1.7mm Thk

- flat, 11/32 x 1 x 3/64 inch, used with Ref. 1 only

8шт.

11

409-7512

BOLT,Hex Flg, 5/16" - 18 x 3/4", Spcl

- hex serrated flange, 5/16 NC x 3/4 inch

2шт.

12

237960A1

GUARD

SHIELD - straw spreader belt, includes decals (Replaces shield 193430A2)

1шт.

13

1308913C1

SUPPORT

- straw spreader shield

2шт.

1308913C1 STRAW SPREADER SHIELD SUPPORT---IF DLR IS LOOKING FOR THE STRAW SPREADER SHAFT SHIELD (RUBBER), ORDER P/N 140277A1 PER TERRY R (CASE#483548)

1шт.

14

477-73108

SERRATED SCREW,Sl Truss Hd, 5/16" - 18 x 1/2"

BOLT - serrated slotted truss head, 5/16 NC x 1/2 inch

2шт.

15

186697A1

SUPPORT

BRACKET - shield mounting, upper

1шт.

16

1308914C4

SUPPORT

- straw spreader, left-hand shield

1шт.

17

237965A1

SUPPORT

BRACKET - shield mounting, front (Replaces bracket 186925A1)

1шт.

18

477-73112

SERRATED SCREW,Sl Truss Hd, 5/16" - 18 x 3/4"

- serrated slotted truss head, 5/16 NC x 3/4"

4шт.

19

231-5145

SERRATED NUT,Flg, USR, 5/16"-18

NUT - hex serrated flange, 5/16 inch NC

4шт.

20

409-7516

BOLT,Hex Flg, 5/16" - 18 x 1", Spcl

1шт.

21

231-5145

SERRATED NUT,Flg, USR, 5/16"-18

NUT - hex serrated flange, 5/16 inch NC

2шт.

22

477-73116

SERRATED SCREW,Truss HD, 5/16" - 18 x 1"

BOLT - serrated slotted truss head, 5/16 NC x 1 inch

3шт.

23

495-11034

WASHER,5/16", SAE

5/16" SAE (flat, 11/32 x 11/16 x 1/16")

6шт.

24

231-5145

SERRATED NUT,Flg, USR, 5/16"-18

NUT - hex serrated flange, 5/16 inch NC

6шт.

25

190801A3

SUPPORT

BRACKET - shield mounting, lower

1шт.

26

610784R1

SPLIT PIN/SAFETY PIN,2.4mm OD x 60.345mm OAL

PIN - locking

1шт.

27

191030A1

STRIP

- foam

1шт.

28

140286A1

STRIP

- steel, shield front, straw and chaff spreader

2шт.

29

140287A1

STRIP

- steel, shield rear, straw and chaff spreader

2шт.

30

181940A3

GUARD

SHIELD - shaker arm, right-hand rear

1шт.

31

409-7512

BOLT,Hex Flg, 5/16" - 18 x 3/4", Spcl

- hex serrated flange, 5/16 NC x 3/4 inch

2шт.

32

231-5145

SERRATED NUT,Flg, USR, 5/16"-18

NUT - hex serrated flange, 5/16 inch NC

2шт.

33

178352A1

STUD

- bail style, shield fastener, if used

1шт.

34

1981869C1

WASHER

WASHER - retainer, if used

1шт.

35

A36042

CLIP

RETAINER - quarter turn, if used

1шт.

36

187884C1

SEALING STRIP,50mm L

- 2 inch (51 mm) long, cut from 29-1/2 inch (747 mm) long seal 187885C1

1шт.

37

1321640C1

GROMMET

- cover

2шт.

Выбрано товаров: 39