Запчасти Case IH 2188 (2-38) - CYLINDER HEAD AND VALVE MECHANISM, 6TA-830 ENGINE AND 6TA-830 EMISSIONS CERTIFIED ENGINE (01) - ENGINE

Схема запчастей Case IH 2188 - (2-38) - CYLINDER HEAD AND VALVE MECHANISM, 6TA-830 ENGINE AND 6TA-830 EMISSIONS CERTIFIED ENGINE (01) - ENGINE
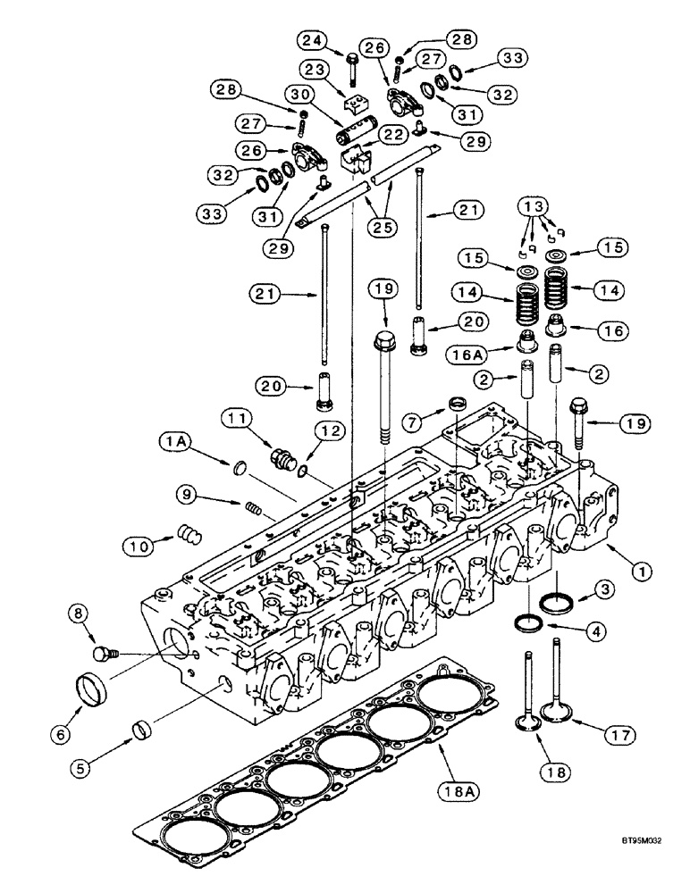
16
27
19
31
6
26
25
21
13
14
15
11
5
21
15
26
1
33
27
20
19
14
28
7
30
3
18a
24
10
29
12
4
20
2
33
28
17
31
9
8
32
16a
23
1a
18
2
29
32
22
FIT
1:1
100%

Артикул

Название

Примечание

Количество

JR928669

REMAN-CYLINDER HEAD

HEAD ASSEMBLY - cylinder, with valves, remanufactured, North America only, component parts shown on this Figure do not apply to the remanufactured assembly, not yet available, order head assembly J928669, Inlcudes: Ref. 1 - 18

1шт.

JC928669

CORE-CYLINDER HEAD

RETURN NUMBER - use this part number to return head core for credit when using a remanufactured assembly (Replaces return number JC922052), Inlcudes: Ref. 1 - 18

1шт.

J928669

HEAD (CYLINDER)

HEAD ASSEMBLY - cylinder, new, with valves (Replaces head assembly J922052), Inlcudes: Ref. 1 - 18

1шт.

1

J922587

HEAD (CYLINDER)

HEAD ASSEMBLY - cylinder, new, without valves, no longer available, order head assembly J928669, Inlcudes: Ref. 1A - 7

1шт.

1a

J912900

PLUG

- expansion, 24 mm

1шт.

Ref. 1A plug is for 19.18 mm hole. The outer flange measures 24 mm.

1шт.

2

J923564

VALVE GUIDE

GUIDE - valve stem

12шт.

3

J924582

INSERT

- seat, intake valve

6шт.

3

J925468

SEAT, VALVE

INSERT - seat, intake valve, 0.254 mm oversize, service repair only

6шт.

The oversize valve insert is not part of the head assembly and must be ordered separately.

1шт.

3

J925470

SEAT, VALVE

INSERT - seat, intake valve, 0.508 mm oversize, service repair only

6шт.

The oversize valve insert is not part of the head assembly and must be ordered separately.

1шт.

4

J929005

INSERT

- seat, exhaust valve

6шт.

4

J929006

INSERT

- seat, exhaust valve, 0.254 mm oversize, service repair only

6шт.

The oversize valve insert is not part of the head assembly and must be ordered separately.

1шт.

4

J929007

INSERT

- seat, exhaust valve, 0.508 mm oversize, service repair only

6шт.

The oversize valve insert is not part of the head assembly and must be ordered separately.

1шт.

5

J920443

PLUG

- expansion, 30 mm OD

1шт.

6

A77782

PLUG

- expansion, 58 mm OD

2шт.

7

41-1616

PLUG,Cup, 1", Stainless

5шт.

8

A77534

PLUG

- hex, 1/16 inch PT

1шт.

9

A77428

PLUG

- hex socket, 1/4 inch PT

1шт.

10

A77429

PLUG

- hex socket, 1/2 inch PT

2шт.

11

J924148

PLUG,M22 x 1.5

- hex magnetic, special, 22 mm - 1.5

2шт.

12

J902425

SEALING WASHER,22.2mm ID x 26.9mm OD x 1.75mm Thk

- sealing, plug

2шт.

13

J901177

VALVE

KEEPER - valve

24шт.

14

J925272

VALVE SPRING

SPRING - exhaust valve

12шт.

15

J925273

ROTATOR

- valve

12шт.

16

J915707

SEAL

- intake and exhaust valve stem and guide, used on intake valve only on emissions certified engines

6шт.

16a

J927642

SEAL

- exhaust valve stem and guide

6шт.

17

J924492

STD INLET VALVE

VALVE - intake

6шт.

18

J921444

STD EXHAUST VALVE

VALVE - exhaust

6шт.

18a

J928168

GASKET

- cylinder head, standard, see Ref. 8 on Figure 2-37A

1шт.

19

J917728

BOLT

- cylinder head, 160 mm long

14шт.

19

J917729

BOLT,Flng, M14 x 80mm

BOLT - cylinder head, 80 mm long

12шт.

20

J931623

TAPPET

- valve, push rod (Replaces tappet J930213)

12шт.

22

J905870

SUPPORT

- shaft, rocker arm

6шт.

21

J905194

PUSH ROD

ROD - push, rocker arm

12шт.

22

J905870

SUPPORT

- shaft, rocker arm

6шт.

23

J901693

CLAMP

- retaining, shaft

6шт.

24

868-10065

12 PT SCREW,M10 x 65mm, Cl 12.9

SCREW - 12 point flange, 10 - 1.5 x 65 mm, class 12.9

12шт.

25

J919677

TUBE

- oil, rocker arm

1шт.

26

J901717

ROCKER

ARM ASSEMBLY - rocker, Inlcudes: Ref. 27 - 29

12шт.

27

J937438

ADJUSTMENT SCREW,Hex Skt, 3/8" - 24 x 33mm, Adj, Ball Point

SCREW - slotted set, adjusting, special

1шт.

28

425-116

NUT,3/8" - 24, Gr 5

- hex, 3/8 inch NF

1шт.

29

NSS

NOT SOLD SEPARAT

INSERT - rocker, order arm assembly J901717

1шт.

30

J919435

SHAFT

- rocker

6шт.

31

J906100

SPRING CUP

WASHER - spring

12шт.

32

J907206

WASHER,22.5mm ID x 30mm OD x 1mm Thk

- flat, special

12шт.

33

100-1187

SNAP RING,#87, Ext

Ring, Snap, #87, Ext

12шт.

Выбрано товаров: 50