Запчасти Case IH 2188 (2-45A) - CYLINDER BLOCK, 6TA-830 EMISSIONS CERTIFIED ENG, COMBINE PIN JJC0191483 AND AFT, ENGINE BLOCK HEATER (01) - ENGINE

Схема запчастей Case IH 2188 - (2-45A) - CYLINDER BLOCK, 6TA-830 EMISSIONS CERTIFIED ENG, COMBINE PIN JJC0191483 AND AFT, ENGINE BLOCK HEATER (01) - ENGINE
8
10
24
7
19
17
12
6
14
9
12
5
20
11
3
7
16
13
25
18
7
2
23
14
4
15
14
7
1
FIT
1:1
100%

Артикул

Название

Примечание

Количество

124697A2

MOTOR

ENGINE ASSEMBLY - 6TA-830 Emissions Certified, complete, for service order basic engine below

1шт.

The engine part number is stamped on a metal tag, which is mounted on the front gear cover.

1шт.

198833A1

BASIC ENGINE

Includes all parts except starter, alternator, fan, fan belt, air cleaner, muffler, exhaust manifold, flywheel and housing, oil fill and dipstick, fuel injection pump, injectors and lines, front pulley, belt tensioner, turbocharger and aftercooler.; See N

1шт.

198833A1R

REMAN-BASIC ENGINE

Remanufactured Basic Engine Assembly, assembly includes short block assembly, cylinder head, valve cover, front cover, oil pan, water pump, thermostat and gasket kit to transfer trim parts

1шт.

198833A1C

CORE-BASIC ENGINE

Return Number

1шт.

J931187

SKELETON ENGINE

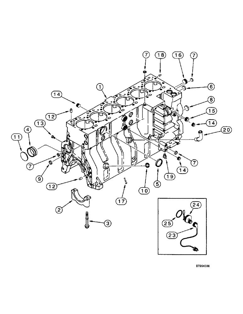
BLOCK ASSEMBLY - short, new, includes stripped block, pistons, connecting rods and bearings, crankshaft and bearings, Includes: Ref. 1 - 26

1шт.

JR931187

BLOCK

BLOCK ASSEMBLY - short, remanufactured, North America only, component parts shown on this Figure do not apply to the remanufactured assembly, Includes: Ref. 1 - 26

1шт.

1

J929524

CRANKCASE

BLOCK ASSEMBLY - stripped engine, no longer available, order components, Includes: Ref. 2 - 8

1шт.

Order Ref. 9 - 20 when ordering J926145 stripped block.

1шт.

2

J917313

BEARING CAP

CAP - bearing, main

7шт.

3

J916369

FLANGE BOLT,Hex, M14 x 2 x 128mm, Cl 10.9

SCREW, , Main bearing cap to block Hex Flg Hd, M14 x 128

14шт.

4

J901685

BUSHING

BUSHING - camshaft

7шт.

5

A77782

PLUG

PLUG - expansion, 58 mm OD

1шт.

6

A77586

PLUG

PLUG - expansion, 28.9 mm OD

1шт.

7

A77506

PLUG

PLUG - expansion, 21 mm OD

4шт.

8

J905401

PLUG

PLUG - expansion, 35 mm OD

4шт.

9

A77530

PLUG

PLUG - expansion, 30 mm OD

2шт.

10

J920706

PLUG

PLUG - expansion, 22 mm OD, not used in this application

1шт.

11

41-3044

PLUG,Exp, 2 3/4"

PLUG, Exp, 2 3/4"

1шт.

12

J901846

PIN,12.01mm OD x 24mm L

PIN - dowel

4шт.

13

J906619

PLUG,1/8" - 27

PLUG - hex, 1/8 inch PT

6шт.

14

A77429

PLUG

PLUG - hex socket, 1/2 inch PT

5шт.

15

A77505

PLUG

PLUG - hex socket, 3/4 inch PT

2шт.

16

A77533

PLUG

PLUG - hex socket, 1 inch PT

1шт.

17

J919003

NOZZLE INJECTION

NOZZLE - piston cooling

12шт.

18

J900257

PIN,10.01mm OD x 16mm L

PIN - dowel, 16 mm long

2шт.

19

217-103

COCK, DRAIN

VALVE - 1/4 inch PT

1шт.

20

J903744

PIPE FITTING,22.42 mm ID x 28 mm OD x 90.2, 64 mm L

TUBE - turbocharger oil drain, see Figure 2-27A for connecting turbocharger parts

1шт.

196804A1

KIT

KIT - engine block heater, Includes: Ref. 23 - 26

1шт.

23

196466A1

ELECTRIC CABLE

CABLE - engine block heater (Replaces cable J905113)

1шт.

24

NSS

NOT SOLD SEPARAT

ELEMENT - heater, 120 volt, order kit 196804A1, engine block heater

1шт.

25

J910517

O-RING

O-RING - heater sealing, engine block heater

1шт.

26

L18337

CABLE TIE,9.95"-12.1" lg

CABLE STRAP STRAP - tie, 15 inch, not shown, engine block heater

1шт.

Выбрано товаров: 33