Запчасти Case IH 2344 (05-13) - AXLE, STEERING - SHIELD - BSN JJC0174449 (04) - STEERING

Схема запчастей Case IH 2344 - (05-13) - AXLE, STEERING - SHIELD - BSN JJC0174449 (04) - STEERING
5
23
4
18
13
24
21
22
3
15
16
12
6
10
11
10a
5
17
1
13
9
12
19
FIT
1:1
100%

Артикул

Название

Примечание

Количество

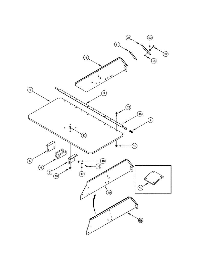
1

1325596C2

SHIELD

Steering Axle

1шт.

3

195450C2

SUPPORT ASSY.

1шт.

4

203942C1

SPRING

1шт.

5

183093C1

BRACKET

2шт.

6

183094C1

CUSHION

1шт.

7

1325374C5

PLATE

Hood Extension, Left Hand, Not Illustrated

1шт.

With Straw Spreader

1шт.

8

123294A2

LARGE PLATE

PLATE, LARGE Hood Extension, Left Hand, Not Illustrated, Serial Range: -JJC0174399

1шт.

With Straw and Chaff Spreader

1шт.

8a

390558A2

PLATE

Hood Extension, Left Hand, Not Illustrated, Serial Range: JJC0174400-JJC0174449

1шт.

With Straw and Chaff Spreader

1шт.

9

1325375C4

LARGE PLATE

PLATE, LARGE Hood Extension, Right Hand

1шт.

With Straw Spreader

1шт.

10

123293A2

LARGE PLATE

PLATE, LARGE Hood Extension, Right Hand, Serial Range: -JJC0174399

1шт.

With Straw and Chaff Spreader

1шт.

10a

390558A2

PLATE

Hood Extension, Right Hand, Serial Range: JJC0174400-JJC0174449

1шт.

With Straw and Chaff Spreader

1шт.

11

1325376C1

PLATE

Hood Extension

2шт.

12

477-73112

SERRATED SCREW,Sl Truss Hd, 5/16" - 18 x 3/4"

20шт.

13

231-5145

SERRATED NUT,Flg, USR, 5/16"-18

20шт.

15

38-1814

LOCK PIN,1/8" x 7/8", Slotted

1/8" x 7/8", Slotted

1шт.

16

413-516

BOLT,Hex, 5/16" - 18 x 1", Gr 5

4шт.

17

232-4115

LOCK NUT,5/16"-18, GC

4шт.

18

495-11034

WASHER,5/16", SAE

(11/32 x 11/16 x 1/16")

4шт.

19

1345126C1

CUSHION

1шт.

20

1968976C1

SEALING STRIP

Not Illustrated

2шт.

21

316716A1

SEAL

Rubber, Hood Extension, See Figure(s) 05-14

2шт.

Used with 1325374C4, 123294A2, 1325375C4, 123293A2

1шт.

22

477-73812

SERRATED SCREW,Truss HD, 3/8" - 16 x 3/4"

3/8 x 3/4

2шт.

23

495-21044

WASHER,3/8"

(7/16 x 1 x 5/64)

2шт.

24

231-4146

NUT,3/8"-16, GB

2шт.

Выбрано товаров: 31