Запчасти Case IH 2344 (02-04) - COOLANT RECOVERY SYSTEM (01) - ENGINE

Схема запчастей Case IH 2344 - (02-04) - COOLANT RECOVERY SYSTEM (01) - ENGINE
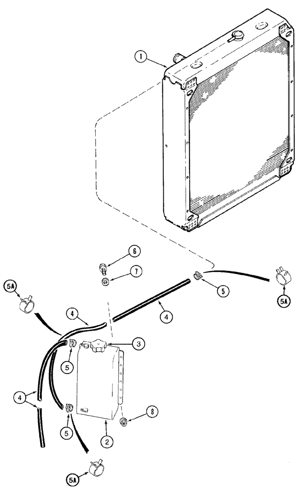
1
5a
6
4
5a
2
4
3
7
8
5a
5
5
5
4
FIT
1:1
100%

Артикул

Название

Примечание

Количество

1

1547946C3

RADIATOR

See Figure(s) 02-01

1шт.

2

251245A1

RESERVOIR, COOLANT E

1шт.

3

238903A1

FILLER CAP

1шт.

4

300085A2

HOSE

1330 mm (52-3/8"), Cut from L126767, Replaces 1347455C1

2шт.

5

214-1704

HOSE CLAMP,#04, 0.25" - 0.62", Type M Worm

No Longer Used, Order 322104A1

3шт.

5a

322140A1

CLAMP

3шт.

6

409-7416

BOLT,Hex Flg, 1/4" - 20 x 1", Spcl

4шт.

7

495-81109

WASHER,.281" x 1" x .048"

9/32 x 1 x 3/64

4шт.

8

231-5144

SERRATED NUT,Flg, USR, 1/4"-20

8шт.

Выбрано товаров: 9