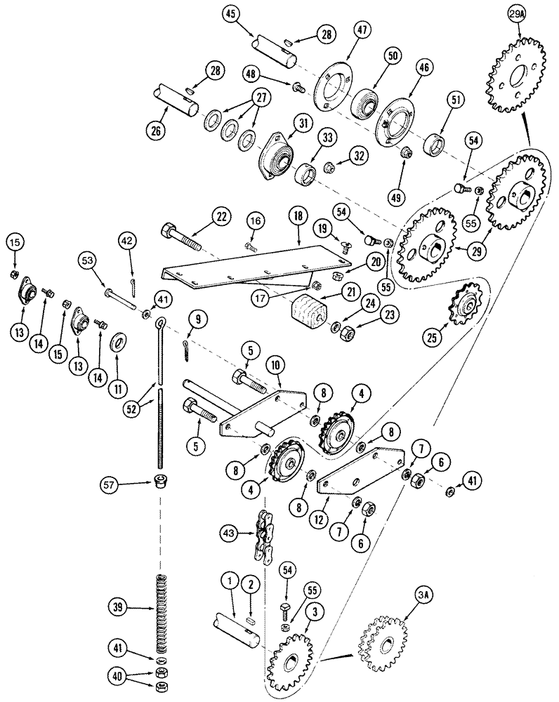
Запчасти Case IH 2344 (09D-07) - GRAIN ELEVATOR DRIVE (16) - GRAIN ELEVATORS & AUGERS

Схема запчастей Case IH 2344 - (09D-07) - GRAIN ELEVATOR DRIVE (16) - GRAIN ELEVATORS & AUGERS
32
13
47
41
15
26
52
8
3
46
4
50
22
20
49
55
54
31
25
55
29
45
3a
9
8
54
39
48
5
41
41
40
19
42
18
27
17
28
6
15
8
4
11
14
16
1
57
5
29a
43
2
14
21
7
8
23
6
33
24
51
10
53
13
54
7
28
55
12
FIT
1:1
100%

Артикул

Название

Примечание

Количество

1

195185A1

SHAFT

1шт.

2

586879R1

KEY

5/16 x 2

2шт.

3

192139C2

SPROCKET

25T, If Used

2шт.

3a

182945A1

SPROCKET

25T, 30T, If Used

1шт.

4

631905R91

SPROCKET

17T

2шт.

5

413-1044

BOLT,Hex, 5/8" - 11 x 2-3/4", Gr 5

5/8 x 2-3/4

2шт.

6

425-1010

NUT,5/8"-11, G5

2шт.

7

492-11062

BEARING WASHER,5/8"

2шт.

8

495-81175

WASHER,21/32" x 1" x .120"

21/32 x 1 x 7/64

4шт.

9

432-1224

COTTER PIN,3/16" x 1-1/2"

1шт.

10

1345064C1

SUPPORT

1шт.

11

495-81041

WASHER,25/32" x 1 1/2" x .060"

25/32 x 1-1/2 x 1/16

1шт.

12

1345066C1

PLATE

1шт.

13

A63366

SPHERICAL BEARING,19mm ID

2шт.

14

409-7512

BOLT,Hex Flg, 5/16" - 18 x 3/4", Spcl

4шт.

15

231-5145

SERRATED NUT,Flg, USR, 5/16"-18

4шт.

16

413-516

BOLT,Hex, 5/16" - 18 x 1", Gr 5

1шт.

17

231-5145

SERRATED NUT,Flg, USR, 5/16"-18

1шт.

18

1317476C4

SUPPORT

1шт.

19

477-73108

SERRATED SCREW,Sl Truss Hd, 5/16" - 18 x 1/2"

5/16 x 1/2

6шт.

20

231-5145

SERRATED NUT,Flg, USR, 5/16"-18

5шт.

21

582018R1

BLOCK

2шт.

22

413-1056

BOLT,Hex, 5/8" - 11 x 3-1/2", Gr 5

2шт.

23

231-41110

LOCK NUT,5/8"-11, GB

2шт.

24

495-81175

WASHER,21/32" x 1" x .120"

21/32 x 1 x 7/64

2шт.

25

1319759C1

DRIVE SPROCKET

17T

1шт.

26

1317429C1

SHAFT

1шт.

27

495-81202

WASHER,1 9/32" x 1 3/4" x .060"

1-9/32 x 1-3/4 x 1/16

6шт.

28

126-125

WOODRUFF KEY,#B, 5/16" x 1", HT

2шт.

29

1317412C1

SPROCKET

32T, Inclined Elevator

1-2шт.

29a

1321039C1

SPROCKET

29T, Inclined Elevator, See Figure(s) 09D-09

1шт.

31

1317250C91

FLANGED BEARING,31.75mm ID

1шт.

32

231-5146

FLANGE NUT,3/8"-16

4шт.

33

557995R11

COLLAR

2шт.

39

523677R1

SPRING

1шт.

40

425-106

NUT,3/8"-16, Cl 5

2шт.

41

495-71041

WASHER,10.31mm ID x 31.75mm OD x 2.54mm Thk

13/32 x 1-1/4 x 3/32

4шт.

42

432-612

COTTER PIN,3/32" x 3/4"

1шт.

43

301228A1

CHAIN (AG),#50, 266 Links x 15.88mm = 4222.75mm

Horizontal Delivery Auger Elevator Order 1791D (261), 241-1315 (3), 251-115 (2), Replaces 1321308C91

1шт.

43

301227A1

CHAIN (AG),#50, 248 Links x 15.88mm = 3937mm

Inclined Delivery Auger Elevator Order 1791D (243), 241-1315 (3), 251-115 (2), Replaces 1321307C91

1шт.

45

1318912C3

AUGER

Horizontal Delivery Auger Elevator, See Figure(s) 09D-01, REF 1

1шт.

46

670375R11

FLANGE

Horizontal Delivery Auger Elevator

1шт.

47

939461R1

FLANGE

Horizontal Delivery Auger Elevator

1шт.

48

477-73812

SERRATED SCREW,Truss HD, 3/8" - 16 x 3/4"

3/8 x 3/4, Horizontal Delivery Auger Elevator

3шт.

49

231-5146

FLANGE NUT,3/8"-16

Horizontal Delivery Auger Elevator

3шт.

50

156011C92

BALL BEARING

Horizontal Delivery Auger Elevator

1шт.

51

557995R11

COLLAR

Horizontal Delivery Auger Elevator

1шт.

52

1345005C1

BOLT,3/8" - 16 x 815mm

BOLT, EYE

1шт.

53

427-6240

CLEVIS PIN,9.53mm OD x 61.11mm L

3/8 x 2-13/32

1шт.

54

385-13820

SET SCREW,3/8" - 16 x 1-1/4"

3/8 x 1-1/4

2-4шт.

55

425-146

JAM NUT,3/8" - 16, Gr 5

2-4шт.

57

S113843

BUSHING,9.65mm ID x 15.75mm OD x 15.75mm L

1шт.

Выбрано товаров: 52