Запчасти Case IH 2344 (07-04) - VALVE ASSY - BRAKES, MASTER (5.1) - BRAKES

Схема запчастей Case IH 2344 - (07-04) - VALVE ASSY - BRAKES, MASTER (5.1) - BRAKES
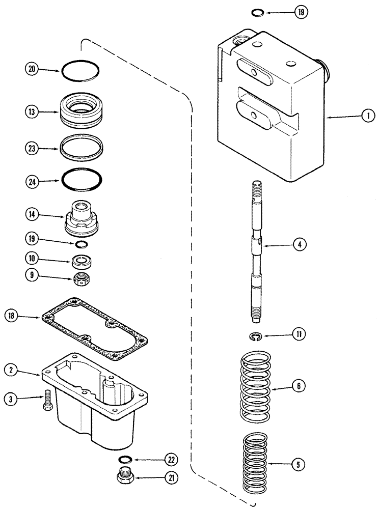
21
2
19
6
9
1
10
18
4
23
19
3
13
11
22
14
5
24
20
FIT
1:1
100%

Артикул

Название

Примечание

Количество

137449A2

BRAKE VALVE

Inc. 1 - 24, Master Brake Control

1шт.

1

NSS

NOT SOLD SEPARAT

Body

1шт.

2

384495R1

CAP

1шт.

3

413-414

BOLT,Hex, 1/4" - 20 x 7/8", Gr 5

1/4 x 7/8

6шт.

4

NSS

NOT SOLD SEPARAT

Spool

2шт.

5

1263125C1

SPRING

2шт.

6

1263124C1

SPRING

2шт.

9

9411648

LOCK NUT,1/2"-20, GC

2шт.

10

69158C1

WASHER,12.78mm ID x 25.4mm OD x 6.35mm Thk

2шт.

11

A27020

RING

2шт.

13

NSS

NOT SOLD SEPARAT

Piston

2шт.

14

NSS

NOT SOLD SEPARAT

Piston

2шт.

71487C92

GASKET KIT

Inc. 18 - 24

1шт.

18

384503R2

GASKET,0.38mm Thk

1шт.

19

NSS

NOT SOLD SEPARAT

O-Ring

4шт.

20

NSS

NOT SOLD SEPARAT

O-Ring

2шт.

21

76349

PLUG,9/16" - 18 ORB

1шт.

23

1986769C1

BACK-UP RING

2шт.

24

238-5135

O-RING,0.103" Thk x 1.925" ID, -135, Cl 5, 75 Duro

2-1/16 ID x 3/32

2шт.

22

237-6006

O-RING,0.078" Thk x 0.468" ID, -906, Cl 6, 90 Duro

1шт.

Выбрано товаров: 20