Запчасти Case IH 2366 (05-22[01]) - AXLE, STEERING - SUPPORT - POWER GUIDE AXLE, BSN JJC0254999 (04) - STEERING

Схема запчастей Case IH 2366 - (05-22[01]) - AXLE, STEERING - SUPPORT - POWER GUIDE AXLE, BSN JJC0254999 (04) - STEERING
14
26
23
14
5
13
19
16
2
6
3
6
4
7
21
9
20
1
12
8
15
10
17
3
25
18
24
27
11
24
5
22
FIT
1:1
100%

Артикул

Название

Примечание

Количество

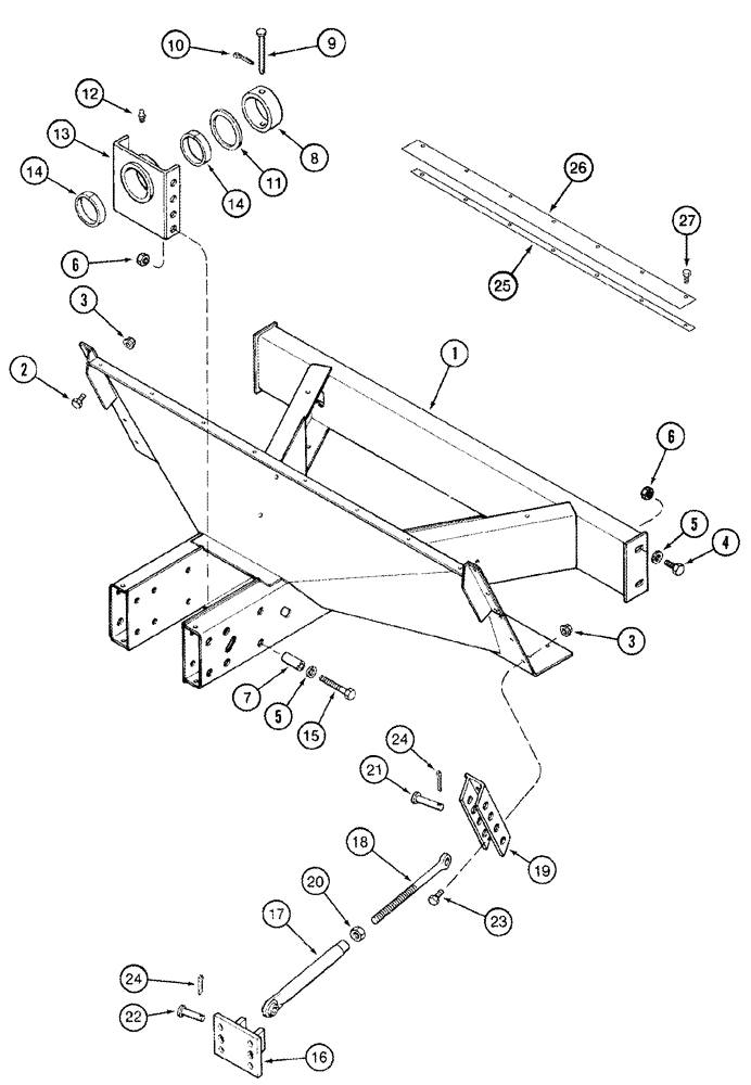
1

1322258C4

SUPPORT

Steering Axle

1шт.

2

426-816

BOLT,Hex, 1/2" - 13 x 1", Gr 8

12шт.

3

232-5138

FLANGE NUT,Flg, USR, 1/2"-13, G8

12шт.

4

426-1224

BOLT,Hex, 3/4" - 10 x 1-1/2", Gr 8

3/4 x 1-1/2; 8

4шт.

5

496-21081

WASHER,13/16" x 1 1/2" x .179", HDN

8шт.

6

232-51312

FLANGE NUT,Flg, USR, 3/4"-10

8шт.

7

177748C1

SPACER

13/16 x 1-1/4 x 2-13/16

12шт.

8

182795C1

BUSHING,101.68mm ID x 127mm OD x 44.7mm L

Axle Pivot

1шт.

9

439-11288

HEADED PIN,19.05mm OD x 139.7mm L

3/4 x 5-1/2; 2

1шт.

10

432-1620

COTTER PIN,1/4" x 1 1/4"

1шт.

11

168385C2

WASHER,102.6mm ID x 127mm OD x 3.3mm Thk

1шт.

12

219-87

LUBE NIPPLE,1/4" - 28 NPTF

2шт.

13

182792C96

SUPPORT

Front, Inc. 14

1шт.

14

182794C1

BUSHING,101.77mm ID x mm OD x 19.1mm L

2шт.

15

326-1272

BOLT,Hex, 3/4" - 10 x 4-1/2", Gr 8

4шт.

16

1970206C1

BRACKET

2шт.

17

181444C1

TIE-ROD,1" - 8

2шт.

18

181442C3

EYEBOLT,1" - 8 x 381mm

BOLT, EYE

2шт.

19

1541603C1

SUPPORT

Front

2шт.

20

425-1016

NUT,1"-8, G5

2шт.

21

439-11456

HEADED PIN,22.23mm OD x 88.9mm L

7/8 x 3-1/2; 2

2шт.

22

439-11456

HEADED PIN,22.23mm OD x 88.9mm L

7/8 x 3-1/2; 2

2шт.

23

426-824

BOLT,Hex, 1/2" - 13 x 1-1/2", Gr 8

6шт.

24

432-1620

COTTER PIN,1/4" x 1 1/4"

1шт.

25

316710A1

BAR

Shoe Seal

1шт.

26

316712A1

SEAL

Rubber Shoe

1шт.

27

477-73116

SERRATED SCREW,Truss HD, 5/16" - 18 x 1"

5/16 x 1

6шт.

Used with 316710A1, 316712A1

1шт.

Выбрано товаров: 28