Запчасти Case IH 2366 (04-21) - HARNESS - FAN AND ROTOR SPEED (06) - ELECTRICAL

Схема запчастей Case IH 2366 - (04-21) - HARNESS - FAN AND ROTOR SPEED (06) - ELECTRICAL
4
1
3
2
1
5
FIT
1:1
100%

Артикул

Название

Примечание

Количество

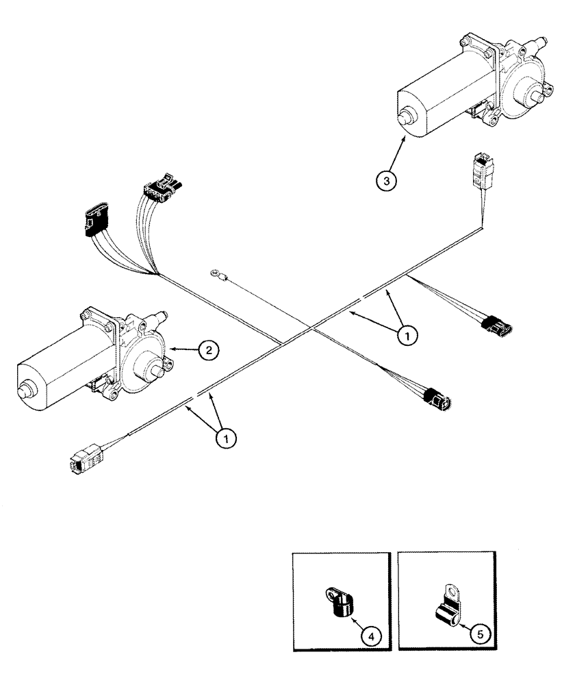
1

184397A2

HARNESS

Fan Speed, Rotor

1шт.

2

111787A2

MOTOR, ELECTRIC

Rotor Speed

1шт.

2

111787A2R

REMAN-ELECTRIC MOTOR

2366 (1/98-8/04)

1шт.

2

111787A2C

CORE-ELECTRIC MOTOR

Return Number

1шт.

3

111787A2

MOTOR, ELECTRIC

Fan Speed

1шт.

3

111787A2R

REMAN-ELECTRIC MOTOR

2366 (1/98-8/04)

1шт.

3

111787A2C

CORE-ELECTRIC MOTOR

Return Number

1шт.

4

515-23190

CLAMP,3/4", Insul, 3/8" Bolt

2шт.

5

516-23127

CLAMP,9/16", Insul, 3/8" Bolt

7шт.

6

434-512

CARRIAGE BOLT,Sht Sq Nk, 5/16" - 18 x 3/4", Gr 5

Not Illustrated

3шт.

7

231-5145

SERRATED NUT,Flg, USR, 5/16"-18

Not Illustrated

3шт.

Выбрано товаров: 0