Запчасти Case IH 2366 (08-16) - VALVE ASSY - CONTROL - 4-WAY, 3 POSITION (07) - HYDRAULICS

Схема запчастей Case IH 2366 - (08-16) - VALVE ASSY - CONTROL - 4-WAY, 3 POSITION (07) - HYDRAULICS
18
15
4
5
3
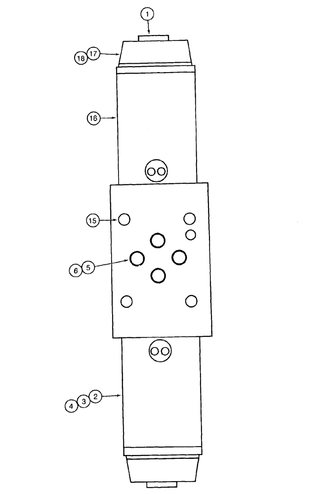
1
17
6
16
2
FIT
1:1
100%

Артикул

Название

Примечание

Количество

190717A1

VALVE

4-Way, 3 Position, Stack, Complete, Inc. 1 - 18

1шт.

1

196736A1

BODY

SOLENOID

2шт.

2

196737A1

SPLIT PIN/SAFETY PIN

2шт.

3

196738A1

SPRING

2шт.

4

196739A1

WASHER

2шт.

5

196710A1

PLUG

Orifice, 0.030 in.

1шт.

6

196711A1

PLUG

Orifice, 0.040 in.

1шт.

191120A1

SEAL KIT

Inc. 7 - 12, Order Components, Not Illustrated

1шт.

7

238-5012

O-RING,0.07" Thk x 0.364" ID, -12, Cl 5, 75 Duro

4шт.

8

238-5015

O-RING,0.07" Thk x 0.551" ID, -15, Cl 5, 75 Duro

2шт.

9

238-5017

O-RING,0.07" Thk x 0.676" ID, -17, Cl 5, 75 Duro

2шт.

10

238-5020

O-RING,0.07" Thk x 0.864" ID, -20, Cl 5, 75 Duro

2шт.

11

238-5114

O-RING,0.103" Thk x 0.612" ID, -114, Cl 5, 75 Duro

2шт.

12

S83071

BACK-UP RING

2шт.

15

61-31020

HEX SOC SCREW,#10 - 24 x 1 1/4"

4шт.

16

191119A1

SOLENOID

COIL, With Diode, 12 volt, DC

2шт.

17

188106A1

NUT

2шт.

18

238-5017

O-RING,0.07" Thk x 0.676" ID, -17, Cl 5, 75 Duro

2шт.

Выбрано товаров: 0