Запчасти Case IH 2366 (08-37) - HYDRAULICS - FIELD TRACKER (07) - HYDRAULICS

Схема запчастей Case IH 2366 - (08-37) - HYDRAULICS - FIELD TRACKER (07) - HYDRAULICS
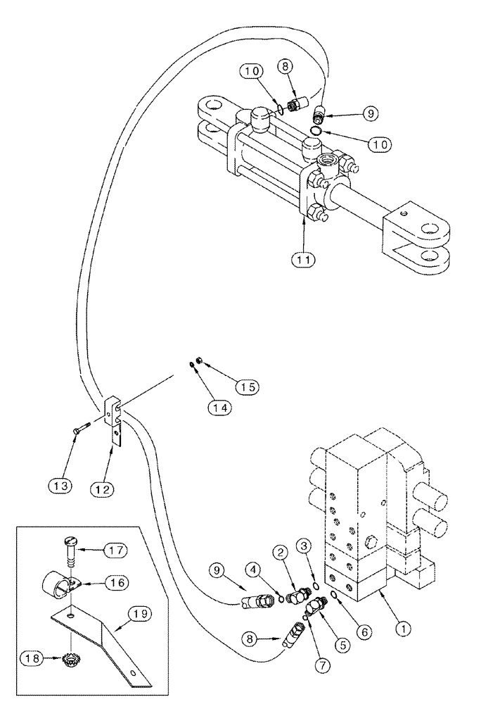
1
9
7
6
19
15
5
10
12
10
3
8
2
9
14
8
13
16
11
18
17
4
FIT
1:1
100%

Артикул

Название

Примечание

Количество

1

114854A1

CONTROL VALVE

Field Tracker, See Figure 08-18

1шт.

2

201-332

ELBOW,90 Degree Elbow, 13/16" - 16 Male ORFS x 9/16" - 18 Male ORB

Incl 3, 4

1шт.

4

238-6014

O-RING,0.07" Thk x 0.489" ID, -14, Cl 6, 90 Duro

1шт.

5

201-304

ELBOW,90 Degree Elbow, 11/16" - 16 Male ORFS x 9/16" - 18 Male ORB

Inc. 6, 7

1шт.

7

238-6012

O-RING,0.07" Thk x 0.364" ID, -12, Cl 6, 90 Duro

1шт.

8

100268A1

FLEXIBLE HOSE,6.35mm ID x 3510mm L

Field Tracker Cylinder, Clockwise Rotation, 3510 mm (138-1/4 in.)

1шт.

9

128032A1

FLEXIBLE HOSE,6.35mm ID x 3510mm L

Field Tracker Cylinder, Counterclockwise Rotation, 3150 mm (138-1/4 in.)

1шт.

11

100267A1

CYLINDER

Field Tracker Tilt, 64 ID x 89 mm strk, See Figure 08-38

1шт.

87424022R

REMAN-HYD CYLINDER

2366 (1/98-8/04), Reman For New P/N: 100267A1

1шт.

87424022C

CORE-HYD CYLINDER

Return Number

1шт.

12

1330242C1

CLAMP

1шт.

13

413-532

BOLT,Hex, 5/16" - 18 x 2", Gr 5

1шт.

14

492-11031

LOCK WASHER,5/16"

2шт.

15

425-105

NUT,5/16"-18, G5

2шт.

16

515-23254

CLAMP,1", Insul, 3/8" Bolt

1шт.

18

231-5146

FLANGE NUT,3/8"-16

1шт.

19

189926A1

SUPPORT

1шт.

17

477-73816

SERRATED SCREW,Sl Truss Hd, 3/8" x 1"

1шт.

3

237-6006

O-RING,0.078" Thk x 0.468" ID, -906, Cl 6, 90 Duro

1шт.

6

237-6006

O-RING,0.078" Thk x 0.468" ID, -906, Cl 6, 90 Duro

1шт.

10

237-6006

O-RING,0.078" Thk x 0.468" ID, -906, Cl 6, 90 Duro

2шт.

Выбрано товаров: 0