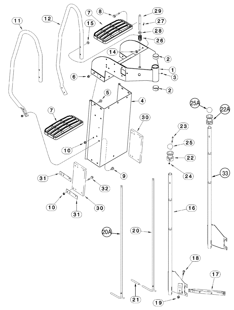
Запчасти Case IH 2366 (09H-13) - LADDER, OPERATORS - ASN JJC0252305 (12) - CHASSIS

Схема запчастей Case IH 2366 - (09H-13) - LADDER, OPERATORS - ASN JJC0252305 (12) - CHASSIS
16
24
20
11
8
12
6
14
25a
5
2
33
2
27
19
1
30
21
7
30
18
22
10
26
28
20a
17
15
31
22a
32
4
29
25
10
31
3
9
23
7
FIT
1:1
100%

Артикул

Название

Примечание

Количество

1

320901A2

SUPPORT

Inc. 2, 3, Serial Range: -JJC0256605

1шт.

1

87301166

SUPPORT

Inc. 2, 3, Start Serial: JJC0256606

1шт.

2

142381A1

BUSHING,50.72mm ID x 55.58mm OD x 25.65mm L

2шт.

3

219-87

LUBE NIPPLE,1/4" - 28 NPTF

1шт.

4

320913A2

CHANNEL

Ladder Rear, Serial Range: -JJC0256605

1шт.

4

87301175

CHANNEL

Ladder Rear, Start Serial: JJC0256606

1шт.

5

409-7612

BOLT,3/8"-16 x 1.09" OAL

7шт.

6

231-5146

FLANGE NUT,3/8"-16

7шт.

7

97050C3

STEP

, Serial Range: -JJC0256605

5шт.

7

87301185

STEP

, Start Serial: JJC0256606

5шт.

8

409-7640

BOLT,Hex Flg, 3/8" - 16 x 2 1/2", Spcl

3/8 x 2-1/2

2шт.

9

409-7616

BOLT,Hex Flg, 3/8" - 16 x 1", Spcl

7шт.

9

409-7624

BOLT,Hex Flg, 3/8" - 16 x 1 1/2", Spcl

8шт.

10

231-5146

FLANGE NUT,3/8"-16

15шт.

10

231-5346

FLANGE NUT,Flg, 3/8"-16

7шт.

11

320924A1

HANDRAIL

Right Hand

1шт.

12

320925A1

HANDRAIL

Left Hand

1шт.

14

409-7632

BOLT,Hex Flg, 3/8" - 16 x 2", Spcl

3/8 x 2

10шт.

15

231-5346

FLANGE NUT,Flg, 3/8"-16

12шт.

349350A1

TUBE

Inc. 16, 16A, If Used

1шт.

16

320894A1

TUBE

1шт.

16a

349005A1

DECAL

Ladder Unlatch, Not Illustrated, See Figure 09H-23, Ref. 15A

1шт.

17

320916A3

LEVER

Latch, Ladder

1шт.

18

426-632

BOLT,Hex, 3/8" - 16 x 2", Gr 8

1шт.

19

231-5346

FLANGE NUT,Flg, 3/8"-16

1шт.

20

320919A2

STEM

Replaces 320919A1, If Used

1шт.

20a

364437A1

LATCH

If Used

1шт.

21

324455A1

PROTECTOR

1шт.

22

320922A1

HANDLE

Ladder Latch

1шт.

Use with 349350A1

1шт.

22a

349015A1

KNOB

Ladder Latch

1шт.

Use with 365759A2

1шт.

23

840-1660

SCREW,Pan HD, M6 x 60mm, Cl 4.8

1шт.

24

832-10406

NUT,M6 x 1, Cl 8

1шт.

25

320923A1

BALL KNOB

See Below 33

1шт.

Used with 320922A1

1шт.

Use Loctite No. 425

1шт.

25a

349014A1

KNOB

See Below 33

1шт.

Use with 349015A1

1шт.

Use Loctite No. 425

1шт.

26

338153A1

SPRING

1шт.

27

320917A1

PIN,19.05mm OD x 176.25mm L

1шт.

28

495-81037

WASHER,25/32" x 1 1/4" x .060"

1шт.

29

38-32018

PIN,5/16" x 1 1/8", Coiled

1шт.

30

322425A1

SUPPORT

Ladder

2шт.

31

320930A1

PLATE

4шт.

32

409-7620

BOLT,Hex Flg, 3/8" - 16 x 1 1/4", Spcl

3шт.

32

121-437

STEP BOLT,Hex Skt, 3/8" - 16 - 1/2" x 1.50"

3/8 x 1-1/2

1шт.

365759A2

POST

Inc. 33, 34, Serial Range: -JJC0256605

1шт.

87301181

POST

Inc. 33, 34, Start Serial: JJC0256606

1шт.

33

NSS

NOT SOLD SEPARAT

BEAM

1шт.

34

349005A1

DECAL

Ladder Unlatch, See Figure 09H-23, Ref. 15A, Not Illustrated

1шт.

Выбрано товаров: 52