Запчасти Case IH 2366 (09H-19) - PLATFORM - LADDER (12) - CHASSIS

Схема запчастей Case IH 2366 - (09H-19) - PLATFORM - LADDER (12) - CHASSIS
15
2
7
18
7
6
21
17
16
1
10
20
19
11
9
5
4
13
9
8
3
14
6
12
FIT
1:1
100%

Артикул

Название

Примечание

Количество

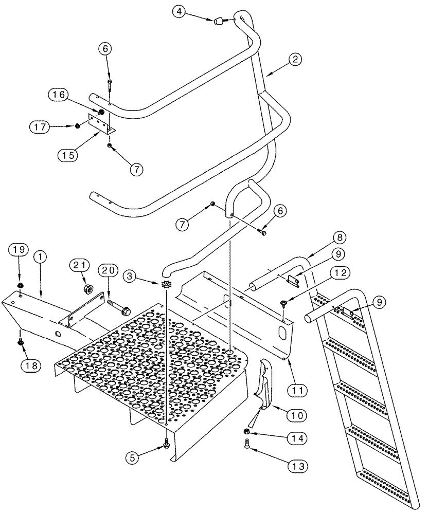
1

111247A5

PLATFORM

Right Hand

1шт.

2

111353A3

HANDRAIL

Right Hand

1шт.

3

140225A2

TUBE,17.4 mm Length

1шт.

4

87109195

BUMPER,5/16" - 18, 38mm OD

Rubber

1шт.

5

409-7520

BOLT,Hex Flg, 5/16" - 18 x 1 1/4", Spcl

5/16 x 1-1/4

1шт.

6

413-532

BOLT,Hex, 5/16" - 18 x 2", Gr 5

5шт.

7

231-1445

NUT,5/16"-18, GB

5шт.

8

127137A3

LADDER

Right Hand

1шт.

9

1338021C1

PIN,7.94mm OD

2шт.

10

118938A1

SUPPORT

RH, Corner

1шт.

11

118937A2

SUPPORT

RH Front

1шт.

12

260-1448

SELF-TAP SCREW,Cross Pan Hd, #8 x 1/2"

4шт.

13

440-1258

SCREW,Cross Pan Hd, 1/4"-20 x 1/2"

2шт.

14

231-5344

FLANGE NUT,Flg, 1/4"-20

2шт.

15

141049A2

SUPPORT

2шт.

16

409-7512

BOLT,Hex Flg, 5/16" - 18 x 3/4", Spcl

2шт.

17

231-5145

SERRATED NUT,Flg, USR, 5/16"-18

2шт.

18

409-7616

BOLT,Hex Flg, 3/8" - 16 x 1", Spcl

2шт.

19

231-5146

FLANGE NUT,3/8"-16

2шт.

20

854-12080

BOLT,Hvy Hex, M12 x 80mm, Cl 10.9

M12 x 80; 10.9, Replaces 326-852

2шт.

21

829-2312

FLANGE NUT,M12 x 1.75, Flg, Cl 10

Replaces 131-946

2шт.

Выбрано товаров: 21