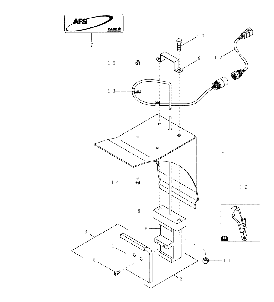
Запчасти Case IH 2366 (09D-06[02]) - GRAIN ELEVATOR HEAD, INCLINED - AFS FLOW SENSOR (16) - GRAIN ELEVATORS & AUGERS

Схема запчастей Case IH 2366 - (09D-06[02]) - GRAIN ELEVATOR HEAD, INCLINED - AFS FLOW SENSOR (16) - GRAIN ELEVATORS & AUGERS
9
239313a1
8
1
x
11
15
14
7
2
13
12
5
4
16
10
3
6
FIT
1:1
100%

Артикул

Название

Примечание

Количество

1

NSS

NOT SOLD SEPARAT

Cover Assy, Flow Sensor, Order Components Below

1шт.

2

224597A3

SENSOR

Assy, Flow, Inc. 1, 3 - 7

1шт.

3

282249A1

PACKAGE

Impact Plate - Yield Monitor, Inc. 4, 5

1шт.

4

87301202

KIT

Plate, Impact

1шт.

5

61-3258

HEX SOC SCREW,1/4"-20 x 1/2"

1/4 1/2

2шт.

6

NSS

NOT SOLD SEPARAT

Flow Sensor

1шт.

7

239258A1

DECAL

AFS Logo

1шт.

8

224605A1

BLOCK

Deflector Mounting

1шт.

9

NSS

NOT SOLD SEPARAT

Handle

1шт.

10

326-628

BOLT,Hex, 3/8" - 16 x 1-3/4", Gr 8

3/8 x 1-3/4; 8

2шт.

11

231-1446

NUT,3/8" - 16, Gr 5

2шт.

12

318575A1

WIRE HARNESS

1шт.

13

473321C1

CABLE TIE,8" OAL x 0.098" W

CABLE STRAP

2шт.

14

413-48

BOLT,Hex, 1/4" - 20 x 1/2", Gr 5

1шт.

15

230-4214

LOCK NUT,1/4"-20, GA

1шт.

16

239313A1

DECAL

Inclined Delivery GPS/AFS

1шт.

Выбрано товаров: 16