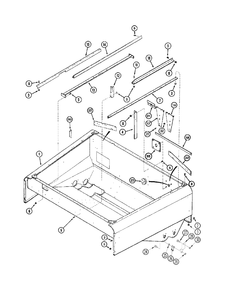
Запчасти Case IH 2366 (09E-01[02]) - GRAIN TANK - SUPPORTS, UPPER, ASN JJC0255000 (17) - GRAIN TANK & UNLOADER

Схема запчастей Case IH 2366 - (09E-01[02]) - GRAIN TANK - SUPPORTS, UPPER, ASN JJC0255000 (17) - GRAIN TANK & UNLOADER
19
18
31
8
8
11
25
1
6
22
6
29
5
3
30
14
28
5
15
3
32
5
3
12
5
17
23
2
2
21
26
4
7
24
22
27
10
5
16
6
13
6
20
3
FIT
1:1
100%

Артикул

Название

Примечание

Количество

1

189455A5

HOPPER

Grain Tank, Inc. Decal, See Figure 09H-21, Ref. 7, Serial Range: -JJC0255699

1шт.

1

429977A3

GRAIN TANK

Grain, Inc. Decal, See Figure 09H-21, Ref. 7, Start Serial: JJC0255700

1шт.

2

477-73108

SERRATED SCREW,Sl Truss Hd, 5/16" - 18 x 1/2"

5/16 x 1/2

1шт.

2

256873

BOLT,Hex Serr, 5/16" - 18 x 1/2", 5SPL, Full Thd

7шт.

2

409-7516

BOLT,Hex Flg, 5/16" - 18 x 1", Spcl

2шт.

2

409-7524

BOLT,Hex Flg, 5/16" - 18 x 1 1/2", Spcl

5/16 x 1-1/2

2шт.

3

231-5145

SERRATED NUT,Flg, USR, 5/16"-18

1шт.

4

192765C1

SUPPORT

Front

1шт.

5

477-73812

SERRATED SCREW,Truss HD, 3/8" - 16 x 3/4"

3/8 x 3/4

1шт.

5

409-7612

BOLT,3/8"-16 x 1.09" OAL

2шт.

5

409-7616

BOLT,Hex Flg, 3/8" - 16 x 1", Spcl

2шт.

6

231-5146

FLANGE NUT,3/8"-16

1шт.

7

195398C3

SUPPORT

Upper Right Hand

1шт.

8

477-73112

SERRATED SCREW,Sl Truss Hd, 5/16" - 18 x 3/4"

1шт.

10

188414C6

ANGLE

1шт.

12

181682C2

SUPPORT

Rear

1шт.

13

192855C1

SUPPORT

1шт.

14

192767C8

SUPPORT

1шт.

15

195397C4

SUPPORT

Upper Left Hand

1шт.

16

179296A2

LARGE PLATE

PLATE, LARGE

1шт.

17

255261A2

LARGE PLATE

PLATE, LARGE Left Hand

1шт.

18

255684A1

STRAP

Right Hand Front

1шт.

19

255263A2

LARGE PLATE

PLATE, LARGE Right Hand Front

1шт.

20

255724A1

SUPPORT

Left Hand

1шт.

21

255448A1

PLATE

Tool

1шт.

22

259235A3

SUPPORT

Front

2шт.

23

258336A1

GROMMET

1шт.

24

409-7520

BOLT,Hex Flg, 5/16" - 18 x 1 1/4", Spcl

1-1/4 x 5/16; 5

3шт.

25

129-419

WING NUT,5/16"-18

2шт.

26

495-11034

WASHER,5/16", SAE

(11/32 x 11/16 x 1/16")

4шт.

27

440-1106

SCREW,Cross Pan Hd, #10-24 x 3/8"

2шт.

28

431114A1

BRACKET

2шт.

29

492-11031

LOCK WASHER,5/16"

2шт.

30

86625057

NUT,#10-24, GB

2шт.

31

409-7816

BOLT,Hex Flg, 1/2" - 13 x 1", Spcl

1/2 x 1

2шт.

32

231-5148

FLANGE NUT,Flg, USR, 1/2"-13

2шт.

11

477-73816

SERRATED SCREW,Sl Truss Hd, 3/8" x 1"

1шт.

Выбрано товаров: 37