Запчасти Case IH 2366 (02-18) - OIL PUMP, PAN - HEATER (01) - ENGINE

Схема запчастей Case IH 2366 - (02-18) - OIL PUMP, PAN - HEATER (01) - ENGINE
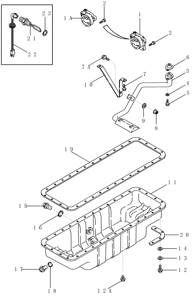
16
13
4
2
20
19
10
18
1
12
7
7a
22
2
21
5
3
9
15
1a
14
23
17
6
11
12a
8
FIT
1:1
100%

Артикул

Название

Примечание

Количество

1

J948071

PUMP,24.17 CC

Engine Oil, Replaces J930338, Serial Range: -JJC0255699

1шт.

JR948071

REMAN-ENG OIL PUMP

REMAN-ENGINE OIL PUMP Remanufactured Oil Pump; For N.A. Only, Replaces JR930338, Serial Range: -JJC0255699

1шт.

JC948071

CORE-ENGINE OIL PUMP

CORE-ENGINE OIL PUMP Replaces JC926201; For N.A. only, Serial Range: -JJC0255699

1шт.

1a

J948072

ENGINE OIL PUMP

, Start Serial: JJC0255700

1шт.

JR948072

REMAN-ENG OIL PUMP

REMAN-ENGINE OIL PUMP Remanufactured Oil Pump; For N.A. Only, Start Serial: JJC0255700

1шт.

JC948072

CORE-ENGINE OIL PUMP

CORE-ENGINE OIL PUMP Return number - For N.A. only, Start Serial: JJC0255700

1шт.

2

J900677

BOLT,Hex

M8 x 30

4шт.

3

J921719

TUBE

1шт.

4

J926865

SPACER,6.9mm ID x 12.7mm OD x 14mm L

2шт.

5

845-6030

BOLT,Hvy Hex, M6 x 30mm, Cl 8.8

2шт.

6

J914302

GASKET

1шт.

7

845-6015

BOLT,Hvy Hex, M6 x 15mm, Cl 8.8

2шт.

7a

845-6020

BOLT,Hvy Hex, M6 x 20mm, Cl 8.8

1шт.

8

825-2406

FLANGE NUT,M6 x 1, Cl 8.8

Replaces J906216

1шт.

9

J910960

WASHER

1шт.

10

J927611

BRACKET

1шт.

11

J914015

ENGINE OIL PAN

1шт.

12

J920400

FLANGE BOLT,Hex, M8 x 1.25 x 21mm, Gr 8.8

M8 x 25, Start Serial: JJC0255700

16шт.

12a

J907860

FLANGE BOLT,Hex, M8 x 25mm, Spcl

M8 x 21

16-32шт.

13

J910266

LOCK WASHER

No Longer Used

32шт.

14

J908316

WASHER

No Longer Used, M9 x 16 x 1

32шт.

15

J924148

PLUG,M22 x 1.5

M22

1шт.

16

J902425

SEALING WASHER,22.2mm ID x 26.9mm OD x 1.75mm Thk

1шт.

17

J924147

PLUG,M18 x 1.5

M18

1шт.

18

J920773

SEALING WASHER

1шт.

19

J938160

OIL PAN GASKET SET

Pan

1шт.

20

87414461

SUPPORT

, Start Serial: JJC0255700

4шт.

A77580

SERVICE KIT

Heater, 120V/300W, Inc. 21 & 22, Also Order: J902425, Ref. 23

1шт.

21

NSS

NOT SOLD SEPARAT

ELEMENT

1шт.

22

196466A1

ELECTRIC CABLE

1829 mm (72 in)

1шт.

23

J902425

SEALING WASHER,22.2mm ID x 26.9mm OD x 1.75mm Thk

1шт.

A77666

SERVICE KIT

Heater, 240V/300W, Inc. 21 & 22

1шт.

21

NSS

NOT SOLD SEPARAT

ELEMENT

1шт.

22

J905114

ELECTRIC CABLE

1829 mm (72")

1шт.

23

J902425

SEALING WASHER,22.2mm ID x 26.9mm OD x 1.75mm Thk

Sealing, 22 mm OD

1шт.

Выбрано товаров: 35