Запчасти Case IH 2377 (06-22) - AXLE - EXTENSIONS (03) - POWER TRAIN

Схема запчастей Case IH 2377 - (06-22) - AXLE - EXTENSIONS (03) - POWER TRAIN
5
4
5
7
4
5
3
1
6
8
5
6
5
9
10
2
FIT
1:1
100%

Артикул

Название

Примечание

Количество

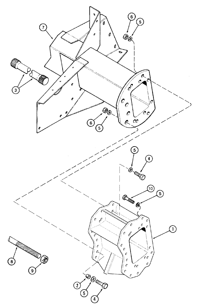
1

242462A1

EXTENSION

6 in, Drive Axle, Not Illustrated

2шт.

1

370220A1

EXTENSION

6 in, Drive Axle, Not Illustrated

2шт.

Models with Narrow Dual Wheels

1шт.

1

240851A1

EXTENSION

12 in, Drive Axle, Shown

2шт.

1

240851A2

EXTENSION

12 in, Drive Axle, If Used

2шт.

Used for low clearance positioning with 76 x 50.00 - 32 tires

1шт.

1

356418A1

AXLE

Extension Assy., 13 in, Drive Axle, If Used, Not Illustrated

2шт.

Models with Narrow Dual Wheels

1шт.

2

135314A1

BUSHING,20.1mm ID x 21.75mm OD x 12.7mm L

12шт.

3

REF

INSTRUCTION

Shaft, Axle, With Extensions

1шт.

See Figure 06-25, REF 40

1шт.

4

827-20070

BOLT,Hex, M20 x 2.5 x 70mm, Cl 10.9

1шт.

4

627-20060

BOLT,Hex, M20 x 2.5 x 60mm, Cl 10.9, Full Thd

1шт.

Models with Narrow Dual Wheels

1шт.

5

137339A2

WASHER,21mm ID x 33.5mm OD x 4mm Thk

22 x 34 x 3,4 mm

1шт.

6

832-41320

NUT,M20 x 2.5, Cl 10

1шт.

7

136416A5

AXLE

See Figure 06-23, REF 1

1шт.

8

335400A1

REINFORCEMENT

Reinforcement, 2960 mm

1шт.

Used with 240851A2

1шт.

8

356459A1

REINFORCEMENT

Reinforcement, 3020 mm

1шт.

Used with 356418A1

1шт.

8

370221A2

REINFORCEMENT

With 6 in. Axle Extension

1шт.

Models with Narrow Dual Wheels

1шт.

9

232-41320

LOCK NUT,1 1/4"-7, GC

2шт.

9

425-1020

NUT,1 1/4"-7, G5

1-1/4

2шт.

10

861-20060

HEX SOC SCREW,M20 x 60mm, Cl 12.9

26шт.

11

370223A1

SPACER

With 6 in. Axle Extension

2шт.

Models with Narrow Dual Wheels

1шт.

12

425-1020

NUT,1 1/4"-7, G5

1-1/4; 5, With 6 in. Axle Extension

2шт.

Models with Narrow Dual Wheels

1шт.

13

232-41320

LOCK NUT,1 1/4"-7, GC

With 6 in. axle extension

2шт.

Models with Narrow Dual Wheels

1шт.

14

396-31131

WASHER,1 3/8" x 2 1/2" x 1/4", HDN

1-3/8 x 2-1/2 x 1/4, With 6 in. Axle Extension

2шт.

Models with Narrow Dual Wheels

1шт.

Выбрано товаров: 34