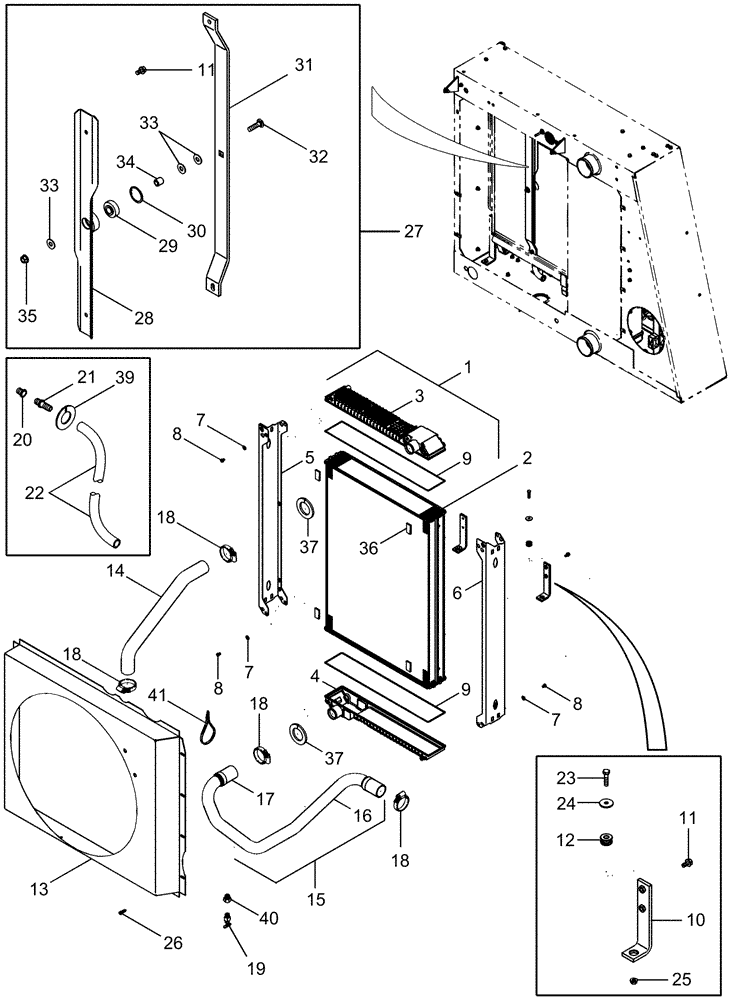
Запчасти Case IH 2377 (02-01) - RADIATOR - FAN SHROUD (01) - ENGINE

Схема запчастей Case IH 2377 - (02-01) - RADIATOR - FAN SHROUD (01) - ENGINE
40
7
28
29
17
32
13
25
33
23
22
14
18
7
33
37
7
12
6
8
15
18
11
31
8
39
36
34
10
27
37
24
5
4
26
20
30
18
11
2
3
18
1
19
9
21
41
8
9
35
16
FIT
1:1
100%

Артикул

Название

Примечание

Количество

1

435361A3

RADIATOR,Engine, 1151mm High x 740 Wide

Inc. 2 - 9, Serial Range: -HAJ0295001

1шт.

1

87302088

RADIATOR

Inc. 2 - 9, Start Serial: HAJ0295001

1шт.

2

NSS

NOT SOLD SEPARAT

Core, Radiator

1шт.

3

87000189

TANK

Radiator Top, Serial Range: -HAJ0295001

1шт.

3

87302093

TANK

Radiator Top, Start Serial: HAJ0295001

1шт.

4

450622A1

TANK

Radiator Lower, Serial Range: -HAJ0295001

1шт.

4

NSS

NOT SOLD SEPARAT

TANK, Radiator Lower, Start Serial: HAJ0295001

1шт.

5

450624A2

CHANNEL

LH, Serial Range: -HAJ0295001

1шт.

5

87302091

CHANNEL

Left Hand, Start Serial: HAJ0295001

1шт.

6

450625A2

CHANNEL

RH, Serial Range: -HAJ0295001

1шт.

6

87302090

CHANNEL

Right Hand, Start Serial: HAJ0295001

1шт.

7

895-15008

WASHER,9mm ID x 20mm OD x 1.6mm Thk

8шт.

8

614-8012

BOLT,Hex, M8 x 1.25 x 12mm, Cl 8.8, Full Thd

8шт.

9

227240A1

GASKET,3.3mm Thk

, Serial Range: -HAJ0295001

2шт.

9

87302092

SEAL

GASKET, Start Serial: HAJ0295001

2шт.

10

411572A1

BRACKET

Radiator Isomount

2шт.

11

844-8016

BOLT,Hex, M8 x 16mm, Cl 8.8

4шт.

12

434177A1

ISOLATOR

2шт.

13

86993934

SHROUD

Fan, Serial Range: -HAJ0295001

1шт.

13

87314685

SHROUD

Fan, Start Serial: HAJ0295001

1шт.

14

86983603

RADIATOR HOSE,57.20 mm ID x 365.4, 540 mm, SAE 20R4 CLASS D1

Upper, Serial Range: -HAJ0295001

1шт.

14

87304647

RADIATOR HOSE,606.00 mm

, Start Serial: HAJ0295001

1шт.

15

87407470

TUBE,608.23, 433.77 mm L

Includes 16, 17

1шт.

15

87343294

TUBE

, Start Serial: HAJ0295001

1шт.

16

NSS

NOT SOLD SEPARAT

Tube

1шт.

17

87402765

HOSE,57.20mm ID x 101.60mm, SAEJ20, SAE20R4 Class D-1

, Serial Range: -HAJ0295001

1шт.

17

87343293

TUBE

Radiator 2-1/4 ID, Short Hose On Either End Is 87402765, Start Serial: HAJ0295001

1шт.

18

214-3248

HOSE CLAMP,57mm - 79mm

4шт.

19

86982771

VALVE

Drain Cock

1шт.

20

217-1034

REDUCER,1/4" - 18 Male NPTF x 1/8" - 27 Female NPTF

1шт.

21

241173A1

FITTING

1/8" PT x 5/16" Hose

1шт.

22

87408617

HOSE,7.92mm ID x 4850mm L

Drain, Cut From 86989959

1шт.

23

614-8035

BOLT,Hex, M8 x 1.25 x 35mm, Cl 8.8, Full Thd

2шт.

24

495-81120

WASHER,.344" x 1 1/4" x .120"

11/32 x 1-1/4 x 1/8

2шт.

25

825-5148

SERRATED NUT,M8, Flg Ser

2шт.

26

1327545C1

SELF-TAP SCREW,Hex Wshr Hd, 5/16" - 18 x 32mm

5/16"

8шт.

27

87411127

WIPER

Radiator, Inc. 28 - 35, Serial Range: -HAJ0295001

1шт.

27

87432132

FAN

Assy, Radiator, Inc. 28 -35, Start Serial: HAJ0295001

1шт.

28

87411124

BLADE

Cooler Wiper, Serial Range: -HAJ0295001

1шт.

28

87432607

BLADE

Radiator Wiper, Start Serial: HAJ0295001

1шт.

29

149261C91

BALL BEARING,16mm ID x 40mm OD x 18mm W

1шт.

30

100-21156

SNAP RING,1.562", Int, #156

1шт.

31

87404701

SUPPORT

, Serial Range: -HAJ0295001

1шт.

31

87432400

SUPPORT

, Start Serial: HAJ0295001

1шт.

32

433-624

CARRIAGE BOLT,Sq Nk, 3/8" - 16 x 1 1/2", Gr 5

1шт.

33

495-61041

WASHER,10.31mm ID x 25.4mm OD x 1.6mm Thk

3шт.

34

87404683

BUSHING

1шт.

35

231-5146

FLANGE NUT,3/8"-16

1шт.

36

87420912

SEAL

4шт.

37

NS

NOT SERVICED

SEAL Cut 340 mm (13-3/8 in) From 1319664C3

2шт.

38

NS

NOT SERVICED

SEAL Cut 70 mm (2-3/4 in) From 1319664C3

4шт.

39

NS

NOT SERVICED

SEAL Cut 217 mm (8-1/2 in) From 1319664C3

1шт.

Выбрано товаров: 52