Запчасти Case IH 2377 (09H-09) - DEFLECTORS - SUPPORTS (12) - CHASSIS

Схема запчастей Case IH 2377 - (09H-09) - DEFLECTORS - SUPPORTS (12) - CHASSIS
11
9
12
4
2
5
8
3
4
4
7
6
1
12
13
10
FIT
1:1
100%

Артикул

Название

Примечание

Количество

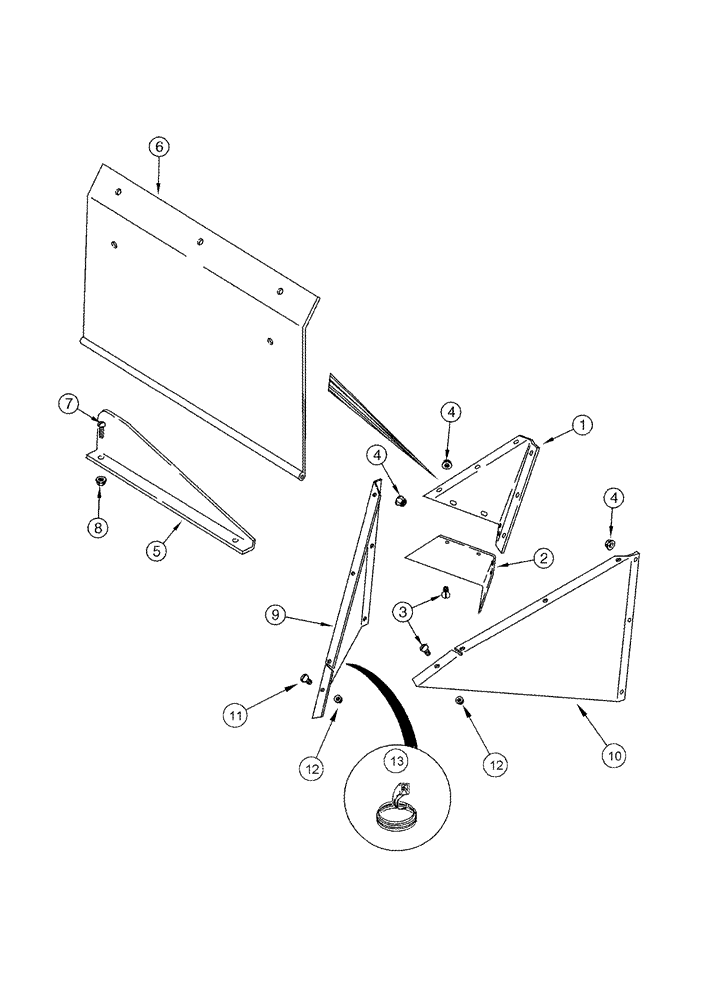
1

1319485C1

DEFLECTOR

Rear, Hood

1шт.

With Straw Spreader

1шт.

2

1321019C1

DEFLECTOR

Guard

1шт.

With Straw Spreader

1шт.

3

477-73112

SERRATED SCREW,Sl Truss Hd, 5/16" - 18 x 3/4"

6шт.

4

231-5145

SERRATED NUT,Flg, USR, 5/16"-18

6шт.

5

115497A1

DEFLECTOR

Rotor, Discharge

1шт.

With Straw and Chaff Spreader

1шт.

6

109991A3

DEFLECTOR

Rear, Hood

1шт.

With Straw and Chaff Spreader

1шт.

7

477-73112

SERRATED SCREW,Sl Truss Hd, 5/16" - 18 x 3/4"

10шт.

8

231-5145

SERRATED NUT,Flg, USR, 5/16"-18

10шт.

9

426762A1

SUPPORT

Left-Hand

1шт.

10

426763A1

SUPPORT

Right-Hand

1шт.

11

477-73108

SERRATED SCREW,Sl Truss Hd, 5/16" - 18 x 1/2"

5/16 x 1/2

10шт.

12

231-5145

SERRATED NUT,Flg, USR, 5/16"-18

10шт.

13

1545944C1

SEAL

127 mm (5 in), Cut From 1330108CX

1шт.

Выбрано товаров: 17