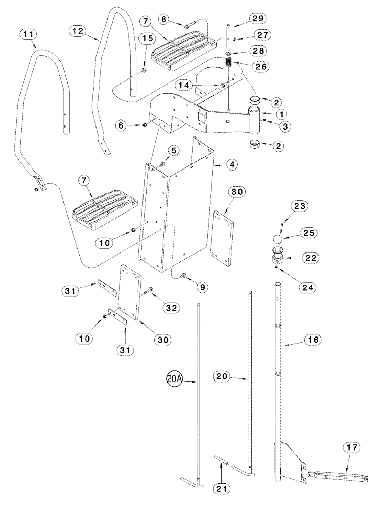
Запчасти Case IH 2377 (09H-13) - LADDER, OPERATORS (12) - CHASSIS

Схема запчастей Case IH 2377 - (09H-13) - LADDER, OPERATORS (12) - CHASSIS
12
7
1
21
8
2
14
29
2
31
20a
30
27
15
5
3
17
32
24
20
23
10
10
7
6
31
4
9
26
25
30
11
28
16
22
FIT
1:1
100%

Артикул

Название

Примечание

Количество

1

87301166

SUPPORT

Inc. 2, 3

1шт.

2

142381A1

BUSHING,50.72mm ID x 55.58mm OD x 25.65mm L

2шт.

3

219-87

LUBE NIPPLE,1/4" - 28 NPTF

1шт.

4

87301175

CHANNEL

CHANNEL Ladder Rear

1шт.

5

409-7612

BOLT,3/8"-16 x 1.09" OAL

7шт.

6

231-5146

FLANGE NUT,3/8"-16

7шт.

7

87301185

STEP

STEP

5шт.

8

409-7640

BOLT,Hex Flg, 3/8" - 16 x 2 1/2", Spcl

3/8 x 2-1/2

2шт.

9

409-7616

BOLT,Hex Flg, 3/8" - 16 x 1", Spcl

16шт.

10

231-5146

FLANGE NUT,3/8"-16

16шт.

10

231-5346

FLANGE NUT,Flg, 3/8"-16

3шт.

11

320924A1

HANDRAIL

Handrail, Right Hand

1шт.

12

320925A1

HANDRAIL

Left Hand

1шт.

14

409-7632

BOLT,Hex Flg, 3/8" - 16 x 2", Spcl

10шт.

15

231-5346

FLANGE NUT,Flg, 3/8"-16

10шт.

87301181

POST

Inc. 16, 16A, If Used

1шт.

16

87301173

SUPPORT

1шт.

16a

349005A1

DECAL

Ladder Unlatch, Not Illustrated

1шт.

See Figure 09H-22, REF 15A

1шт.

17

320916A3

LEVER

Latch, Ladder

1шт.

20a

364437A1

LATCH

If Used

1шт.

21

324455A1

PROTECTOR

Cap

1шт.

22

349015A1

KNOB

Ladder Latch

1шт.

Used with 365759A2

1шт.

23

840-1660

SCREW,Pan HD, M6 x 60mm, Cl 4.8

1шт.

24

832-10406

NUT,M6 x 1, Cl 8

1шт.

25

349014A1

KNOB

Use Loctite No. 425, See Below 35

1шт.

26

338153A1

SPRING

1шт.

27

320917A1

PIN,19.05mm OD x 176.25mm L

176.25 mm Long

1шт.

28

495-81039

WASHER,25/32" x 1 1/4" x .120"

25/32 x 1-1/4 x 1/8

1шт.

29

38-32024

PIN,5/16" x 1 1/2", Coiled

5/16" x 1 1/2", Coiled

1шт.

30

87301176

SUPPORT,150mm W x 325mm L

Ladder Bottom Step

2шт.

31

87301177

PLATE

4шт.

32

409-7620

BOLT,Hex Flg, 3/8" - 16 x 1 1/4", Spcl

3шт.

32

121-437

STEP BOLT,Hex Skt, 3/8" - 16 - 1/2" x 1.50"

3/8 x 1-1/2

1шт.

35

REF

INSTRUCTION

Adhesive, Loctite 425, Purchase Locally

1шт.

Выбрано товаров: 36