Запчасти Case IH 2377 (09H-17) - PLATFORM - LADDER, RIGHT HAND (12) - CHASSIS

Схема запчастей Case IH 2377 - (09H-17) - PLATFORM - LADDER, RIGHT HAND (12) - CHASSIS
7
17
18
13
9
19
14
7
6
11
2
15
12
9
1
4
6
16
8
3
21
20
5
10
FIT
1:1
100%

Артикул

Название

Примечание

Количество

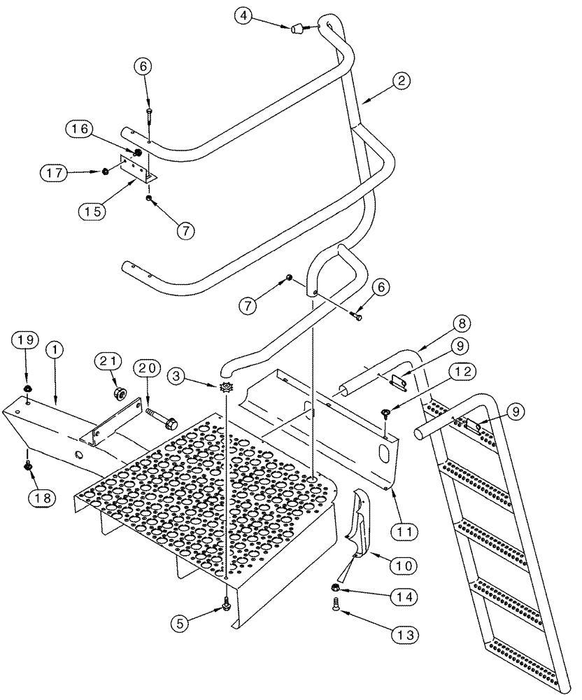
1

111247A5

PLATFORM

Right Hand, Serial Range: -HAJ0295001

1шт.

1

87348330

PLATFORM

Right Hand, Start Serial: HAJ0295001

1шт.

2

111353A3

HANDRAIL

Right Hand

1шт.

3

140225A2

TUBE,17.4 mm Length

1шт.

4

87109195

BUMPER,5/16" - 18, 38mm OD

1шт.

5

409-7520

BOLT,Hex Flg, 5/16" - 18 x 1 1/4", Spcl

5/16 x 1-1/4

1шт.

6

413-532

BOLT,Hex, 5/16" - 18 x 2", Gr 5

5шт.

7

231-1445

NUT,5/16"-18, GB

5шт.

8

127137A3

LADDER

Right Hand

1шт.

9

1338021C1

PIN,7.94mm OD

2шт.

10

118938A1

SUPPORT

RH, Corner

1шт.

11

118937A2

SUPPORT

RH Front

1шт.

12

282-1448

SELF-TAP SCREW,Hex Wash Hd, #8 x 1/2"

No. 8 x 1/2

4шт.

13

440-1258

SCREW,Cross Pan Hd, 1/4"-20 x 1/2"

2шт.

14

231-5344

FLANGE NUT,Flg, 1/4"-20

2шт.

15

141049A2

SUPPORT

2шт.

16

409-7512

BOLT,Hex Flg, 5/16" - 18 x 3/4", Spcl

2шт.

17

231-5145

SERRATED NUT,Flg, USR, 5/16"-18

4шт.

18

409-7616

BOLT,Hex Flg, 3/8" - 16 x 1", Spcl

2шт.

19

231-5146

FLANGE NUT,3/8"-16

2шт.

20

857-12080

BOLT,Hvy Hex, M12 x 80mm, Cl 10.9

2шт.

21

86512497

FLANGE NUT,M12 x 1.75, Cl 10

M12

2шт.

Выбрано товаров: 22