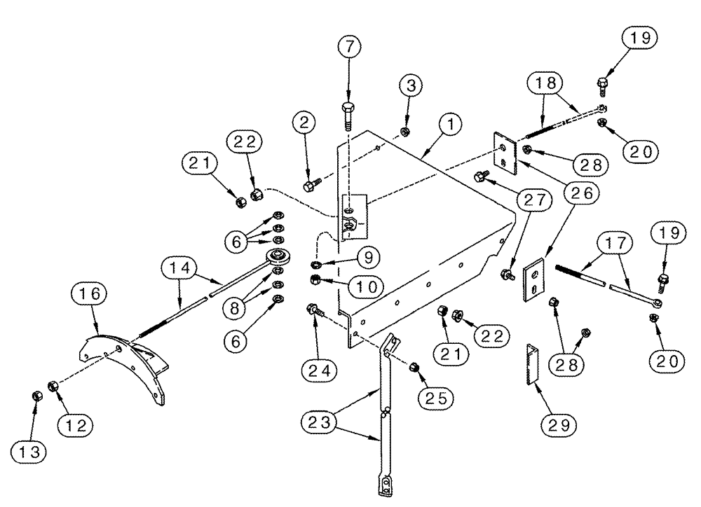
Запчасти Case IH 2377 (09E-13) - UNLOADER - SUPPORTS (17) - GRAIN TANK & UNLOADER

Схема запчастей Case IH 2377 - (09E-13) - UNLOADER - SUPPORTS (17) - GRAIN TANK & UNLOADER
27
2
20
12
22
20
21
25
6
10
17
7
13
6
23
21
24
22
8
3
18
28
9
19
28
1
16
19
26
14
29
FIT
1:1
100%

Артикул

Название

Примечание

Количество

1

1327529C2

BRACKET

1шт.

2

409-7616

BOLT,Hex Flg, 3/8" - 16 x 1", Spcl

8шт.

2

409-7516

BOLT,Hex Flg, 5/16" - 18 x 1", Spcl

1шт.

3

231-5146

FLANGE NUT,3/8"-16

8шт.

3

231-5145

SERRATED NUT,Flg, USR, 5/16"-18

1шт.

6

495-81175

WASHER,21/32" x 1" x .120"

21/32 x 1 x 7/64

6шт.

7

413-1048

BOLT,Hex, 5/8" - 11 x 3", Gr 5

1шт.

8

496-21066

WASHER,16.6mm ID x 33.5mm OD x 3.8mm Thk

2шт.

9

492-11062

BEARING WASHER,5/8"

1шт.

10

425-1010

NUT,5/8"-11, G5

1шт.

12

554480R1

WHEEL NUT

5/8 NF

1шт.

13

425-1110

NUT,5/8"-18, G5

1шт.

14

1979616C2

ROD

1шт.

16

1317516C1

SUPPORT TUBE

1шт.

17

193625C1

ROD

2шт.

18

1979494C1

ROD

1шт.

19

409-7620

BOLT,Hex Flg, 3/8" - 16 x 1 1/4", Spcl

3шт.

20

231-5146

FLANGE NUT,3/8"-16

3шт.

21

425-108

NUT,1/2" - 13, Gr 5

3шт.

22

231-5148

FLANGE NUT,Flg, USR, 1/2"-13

3шт.

23

1338378C1

ROD

1шт.

24

409-7620

BOLT,Hex Flg, 3/8" - 16 x 1 1/4", Spcl

4шт.

25

231-5146

FLANGE NUT,3/8"-16

4шт.

26

186691C1

PLATE

3шт.

27

409-7512

BOLT,Hex Flg, 5/16" - 18 x 3/4", Spcl

4шт.

28

231-5145

SERRATED NUT,Flg, USR, 5/16"-18

4шт.

29

186690C1

BRACKET

1шт.

Выбрано товаров: 27