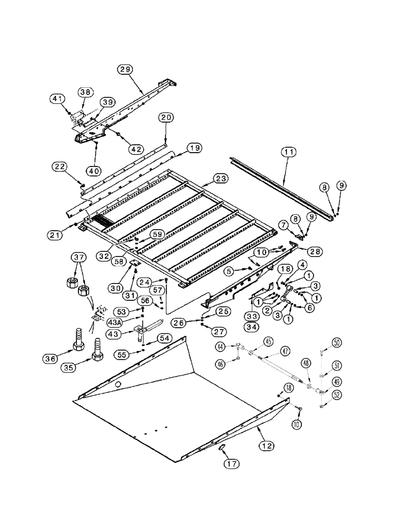
Запчасти Case IH 2388 (09B-18) - SIEVE, SHOE (14) - ROTOR, CONCANVES & SIEVE

Схема запчастей Case IH 2388 - (09B-18) - SIEVE, SHOE (14) - ROTOR, CONCANVES & SIEVE
35
32
1
56
58
47
2
54
1
25
20
50
55
45
41
23
33
49
1
18
29
42
52
19
27
36
39
9
11
18
38
43a
8
30
3
6
43
28
1
21
48
9
12
40
24
22
51
46
57
53
1
8
17
3
10
59
37
10
34
26
5
44
31
7
FIT
1:1
100%

Артикул

Название

Примечание

Количество

1

169256C2

WASHER,16.28mm ID x 31.8mm OD x 3.05mm Thk

41/64" x 1-1/4" x 1/8"

12шт.

2

1957450C1

ARM

Includes 3

2шт.

3

1330324C1

BUSHING

2шт.

4

433-1064

CARRIAGE BOLT,Sq Nk, 5/8" - 11 x 4", Gr 5

2шт.

5

426-1080

BOLT,Hex, 5/8" - 11 x 5", Gr 8

2шт.

6

232-41110

NUT,5/8"-11, GC

4шт.

7

182684C3

CLIP

2шт.

8

492-11031

LOCK WASHER,5/16"

8шт.

9

425-105

NUT,5/16"-18, G5

8шт.

10

477-73112

SERRATED SCREW,Sl Truss Hd, 5/16" - 18 x 3/4"

1шт.

11

1319239C1

ANGLE

1шт.

12

1322461C1

PAN

1шт.

13

434-612

CARRIAGE BOLT,Sht Sq Nk, 3/8" - 16 x 3/4", Gr 5

Not Illustrated

2шт.

14

231-5146

FLANGE NUT,3/8"-16

Not Illustrated

2шт.

15

477-73112

SERRATED SCREW,Sl Truss Hd, 5/16" - 18 x 3/4"

Not Illustrated

16шт.

16

231-5145

SERRATED NUT,Flg, USR, 5/16"-18

Not Illustrated

16шт.

17

205-126

HOLE PLUG BUTTON,1 3/4"

2шт.

18

231-5145

SERRATED NUT,Flg, USR, 5/16"-18

1шт.

19

198925A1

SEAL,56mm W x 1790mm L

1790 mm (70-1/2")

2шт.

20

1325325C1

RETAINER

2шт.

21

231-5144

SERRATED NUT,Flg, USR, 1/4"-20

18шт.

22

477-82508

SERRATED SCREW,Sl Truss Hd, 1/4" - 20 x 1/2"

18шт.

23

1322464C6

GRAIN SIEVE

Slat, 1-1/8", Extended, with Piano Wire, Serial Range: -JJC0268799

1шт.

See Figure 09D-08 for 106743A1 adjusting lever.

1шт.

23

1322464C7

GRAIN SIEVE

Slat, 1-1/8", Extended, with Piano Wire, Includes 43 (303957A2), If Used, Start Serial: JJC0268800

1шт.

See Figure 09D-08 for 106743A1 adjusting lever.

1шт.

23

374477A1

GRAIN SIEVE

1-1/8", Extended, Includes 43 (418800A1), 52 - 57, If Used, Start Serial: JJC0270500

1шт.

23

1979328C7

GRAIN SIEVE

1-5/8", Closz, Slat, with Piano Wire, Serial Range: -JJC0268799

1шт.

23

1979328C8

GRAIN SIEVE

1-5/8", Closz, Slat, with Piano Wire, Includes 43 (303958A2), Start Serial: JJC0268800

1шт.

23

1347365C2

GRAIN SIEVE

With 2.5 mm Round Holes, Corn And Grain

1шт.

23

1347370C2

GRAIN SIEVE

With 5 mm Round Holes, Corn And Grain

1шт.

23

1347367C2

GRAIN SIEVE

With 10 mm Round Holes, Corn And Grain

1шт.

23

1347374C2

GRAIN SIEVE

With 13 mm Round Holes, Corn And Grain

1шт.

23

1347371C2

GRAIN SIEVE

With 18 mm Round Holes, Corn And Grain

1шт.

24

326-644

BOLT,Hex, 3/8" - 16 x 2-3/4", Gr 8

2шт.

25

495-81138

WASHER,10.31mm ID x 25.4mm OD x 4.93mm Thk

2шт.

26

492-11038

LOCK WASHER,3/8"

2шт.

27

429-106

NUT,3/8"-16, G8

2шт.

28

1979901C5

RAIL

RH

1шт.

29

1979900C5

RAIL

LH

1шт.

30

186675C1

ADJUSTING PLATE

1шт.

Used with 1322464C7, Ref. 23

1шт.

Used with 1979328C8, Ref. 23

1шт.

31

433-412

CARRIAGE BOLT,Sq Nk, 1/4" - 20 x 3/4", Gr 5

1/4" x 1/2"; 5, Serial Range: -JJC0272999

2шт.

31

413-412

BOLT,Hex, 1/4" - 20 x 3/4", Gr 5

, Start Serial: JJC0273000

2шт.

32

129-409

WING NUT,1/4"-20

, Serial Range: -JJC0272999

2шт.

32

231-4144

NUT,1/4"-20, GB

, Start Serial: JJC0273000

2шт.

32a

495-11028

WASHER,1/4", SAE

Not Illustrated, Start Serial: JJC0273000

2шт.

33

1325321C1

SUPPORT

RH

1шт.

34

1325320C1

SUPPORT ASSY.

LH, Not Illustrated

1шт.

35

326-688

BOLT,Hex, 3/8" - 16 x 5-1/2", Gr 8

2шт.

36

326-672

BOLT,Hex, 3/8" - 16 x 4-1/2", Gr 8

2шт.

37

232-5316

FLANGE NUT,Flg, 3/8"-16

4шт.

38

187187A1

PLATE

, Serial Range: -JJC0268799

2шт.

38

187187A2

PLATE

, Start Serial: JJC0268800

2шт.

39

187204A1

BAR

2шт.

40

477-82508

SERRATED SCREW,Sl Truss Hd, 1/4" - 20 x 1/2"

6шт.

41

231-5144

SERRATED NUT,Flg, USR, 1/4"-20

6шт.

42

199953C1

SELF-TAP SCREW,HWH, 5/16" - 18 x 13/16"

4шт.

43

303957A1

LEVER

, Serial Range: -JJC0268799

1шт.

Used with 1322464C6, Ref. 23

1шт.

43

303957A2

LEVER

Includes 30, 31, 32, 43A, 58, 59, Start Serial: JJC0268800

1шт.

Used with 1322464C7, Ref. 23

1шт.

43

303958A1

LEVER

, Serial Range: -JJC0268799

1шт.

Used with 1979328C7, Ref. 23

1шт.

43

303958A2

LEVER

Includes 30, 31, 32, 43A, 58, 59, Start Serial: JJC0268800

1шт.

Used with 1979328C8, Ref. 23

1шт.

43

418800A1

LEVER

Includes 31, 32, 43A, 58, 59, Start Serial: JJC0273000

1шт.

Used with 374477A1, Ref. 23

1шт.

43a

418797A1

BUSHING,10.5mm ID x 16mm OD x 7mm L

1шт.

44

403123A1

BALL JOINT,3/8" - 24

End, Studded

1шт.

45

129-289

JAM NUT,Jam, 3/8"-24, G5, LH

1шт.

46

232-4646

LOCK NUT,3/8"-24, GC

1шт.

47

407140A2

ADJUSTMENT ROD

Adjustment, Upper Chaffer Sieve

1шт.

48

425-156

JAM NUT,Jam, 3/8"-24, G5

1шт.

49

427179A1

BALL JOINT HEAD,3/8" - 24

End

1шт.

50

413-620

BOLT,Hex, 3/8" - 16 x 1-1/4", Gr 5

1шт.

51

495-11041

WASHER,0.406" ID x 0.812" OD x 0.065" W

1шт.

52

231-4146

NUT,3/8"-16, GB

1шт.

53

814-10060

BOLT,Hex, M10 x 1.5 x 60mm, Cl 8.8

1шт.

53

814-10050

BOLT,Hex, M10 x 1.5 x 50mm, Cl 8.8

1шт.

54

895-11010

WASHER,11mm ID x 20mm OD x 2mm Thk

2шт.

55

832-10410

NUT,M10 x 1.5, Cl 8

2шт.

56

895-11008

WASHER,9mm ID x 16mm OD x 1.6mm Thk

1шт.

57

832-10408

NUT,M8 x 1.25, Cl 8.8

1шт.

58

495-21031

WASHER,1/4"

1шт.

59

492-11025

LOCK WASHER,1/4"

1шт.

Выбрано товаров: 87