Запчасти Case IH 2388 (09E-13) - UNLOADER - SUPPORTS, SWING CYLINDER (17) - GRAIN TANK & UNLOADER

Схема запчастей Case IH 2388 - (09E-13) - UNLOADER - SUPPORTS, SWING CYLINDER (17) - GRAIN TANK & UNLOADER
3
5
22
4
28
12
27
13
7
8
1
6
14
11
3
2
FIT
1:1
100%

Артикул

Название

Примечание

Количество

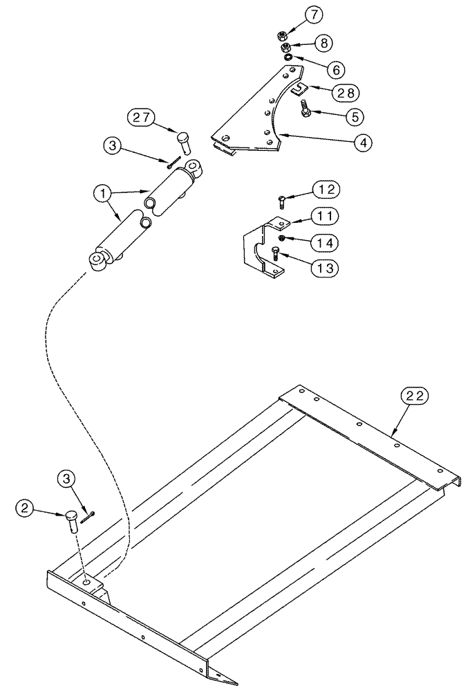
1

175679A2

CYLINDER

38 ID x 508 mm strk, Unloader Swing, See Figure 08-37

1шт.

1

87597336R

REMAN-HYD CYLINDER

2388 BSN JJC0276540 (1/98-8/04); Reman for New P/N 175679A2, Does not come with hyme joint rod end PN 87611478. Order as needed.

1шт.

1

87597336C

CORE-HYD CYLINDER

Return Number

1шт.

2

427-10225

CLEVIS PIN,5/8" x 1 1/4"

5/8" x 2-1/4"

1шт.

3

432-816

COTTER PIN,1/8" x 1"

2шт.

4

1321541C2

SUPPORT

1шт.

5

426-732

BOLT,Hex, 7/16" - 14 x 2", Gr 8

6шт.

6

492-11044

LOCK WASHER,7/16"

6шт.

7

429-107

NUT,7/16"-14, G8

6шт.

8

329-147

JAM NUT,Jam, 7/16"-14, G8

6шт.

11

1321509C2

SUPPORT

1шт.

12

477-73820

SERRATED SCREW,Truss HD, 3/8" - 16 x 1-1/4"

1шт.

13

409-7616

BOLT,Hex Flg, 3/8" - 16 x 1", Spcl

2шт.

14

231-5146

FLANGE NUT,3/8"-16

3шт.

22

176208A2

SUPPORT

1шт.

27

427-10225

CLEVIS PIN,5/8" x 1 1/4"

5/8" x 2-1/4"

1шт.

28

151670C1

SHIM

.036"

1шт.

Выбрано товаров: 17